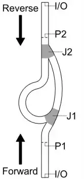
Teslaventil
_design_schematic_1-s2.0-S0017931016310560-gr2_(cropped).jpg)
Ein Teslaventil ist eine Vorrichtung, die als passives, fluidisches Ventil fungiert. Es kann als eine Art Rückschlagventil ohne bewegliche mechanische Teile betrachtet werden. Das Ventil wurde 1916 von Nikola Tesla zum Patent angemeldet.[1]
Funktionsweise
Die Grundidee ist, dass der Strömungswiderstand in eine Flussrichtung geringer als in die entgegengesetzte ist. Hierdurch lässt sich erreichen, dass die Strömung eine Vorzugsrichtung erhält oder das Fluid nur noch in eine Richtung strömt, also eine Gleichrichterwirkung erreicht wird.[2]
Der Wirkungsmechanismus von Teslaventilen ist stark von der Reynolds-Zahl (und damit auch von der Größe des Ventils) abhängig. In großen Ventilen mit turbulenter Strömung und Re > 1700 beruht die Ventilfunktion überwiegend auf Trägheitskräften. In mikroskopisch kleinen Ventilen mit vorwiegend laminarer Strömung und Re ≪ 1000 dominieren hingegen Kräfte aufgrund der Viskosität des Fluids.[2]
Das Tesla-Ventil unterbricht die Strömung in der Gegenrichtung nicht vollständig, sondern erhöht nur den Strömungswiderstand stark.[3] Die Effizienz eines Tesla-Ventils lässt sich durch seine Diodizität ausdrücken: Dabei stehen und für den Druckabfall in Rückwärts- und Vorwärtsrichtung und für den Volumenstrom.[4] Typische Werte von mikrofluidischen Teslaventilen liegen zwischen 1 und 2.[2]

Anwendungsbereiche
Der große Vorteil eines solchen Ventils ist, dass keine beweglichen Teile vorkommen. Es wird in der Mikrofluidik, beispielsweise zur Zellkultur oder in Wärmerohren, eingesetzt.[4] Unter Ausnutzung des Coandă-Effekts lassen sich mit einem Tesla-Ventil auch verschiedene Stoffe effizient mischen.[3]
Weblinks
Einzelnachweise
- ↑ a b Patent US1329559A: Valvular conduit. Angemeldet am 21. Februar 1916, veröffentlicht am 3. Februar 1920, Erfinder: Nikola Tesla.
- ↑ a b c Ronald Louis Bardell: The Diodicity Mechanism of Tesla-Type No-Moving-Parts Valves. Hrsg.: University of Washington. 2000, S. 1 ff., 124 ff. (psu.edu [PDF; 4,1 MB]).
- ↑ a b Albert Folch: Introduction to BioMEMS. CRC Press, Boca Raton/London/New York 2013, ISBN 978-1-4665-0938-2, S. 197–198, 367, 463.
- ↑ a b Hongbin Ma: Factors Affecting Oscillating Motion and Heat Transfer in an OHP. In: Oscillating Heat Pipes. Springer, New York 2015, ISBN 978-1-4939-2503-2, S. 205–209, doi:10.1007/978-1-4939-2504-9_5.