Suomi M-31
| Suomi M-31 | |
|---|---|
| |
| Allgemeine Information | |
| Militärische Bezeichnung | Suomi M31 |
| Entwicklungsjahr | ab 1922 |
| Produktionszeit | 1931 bis 1953 |
| Waffenkategorie | Maschinenpistole |
| Ausstattung | |
| Gesamtlänge | 870 mm |
| Gewicht (ungeladen) | 4,5 kg |
| Lauflänge | 314 mm |
| Technische Daten | |
| Kaliber | 9 × 19 mm (oder 7,65 × 21 mm) |
| Mögliche Magazinfüllungen | 70 Schuss mit Trommelmagazin 20, 36, 40, 50 Patronen |
| Munitionszufuhr | Stangen- oder Trommelmagazin |
| Kadenz | 900 Schuss/min |
| Anzahl Züge | 6 |
| Drall | rechts |
| Ladeprinzip | Rückstoßlader |
| Listen zum Thema | |
Die Suomi-konepistooli KP/-31 (Finnland-Maschinenpistole KP/-31) wurde von dem finnischen Waffenkonstrukteur Aimo Lahti (1896–1970) entwickelt, von der Firma Tikkakoski produziert und 1931 von der finnischen Armee in die Bewaffnung aufgenommen. Sie war eine Weiterentwicklung des Prototyps M/-22 und der KP/-26-Modelle. Die Suomi-konepistooli KP/-31 wird auch vereinfacht als Suomi KP/-31 bezeichnet. Die Suomi KP/-31 wird als eine der besten Maschinenpistolen des Zweiten Weltkrieges betrachtet. Sie wurde von Tikkakoski bis 1953 etwa 80.000 Mal gebaut, fast 60.000 weitere entstanden in Schweden, der Schweiz und Dänemark.
Die Waffe wurde während des Finnisch-Sowjetischen Winterkrieges 1939/40 erstmals in großer Anzahl erfolgreich eingesetzt. Obwohl die Herstellung bereits 1931 begann, besaß die finnische Armee zu Beginn des Winterkrieges nur ca. 4.000 Maschinenpistolen KP/-31. 730 weitere wurden im Verlauf des Winterkrieges hergestellt. Die Waffen wurden unter anderem sehr effektiv von dem finnischen Scharfschützen Simo Häyhä eingesetzt, der mit ihr über 200 sowjetische Soldaten getötet haben soll. Vom Wert dieser Maschinenpistole überzeugt, produzierte Tikkakoski bis Kriegsende weitere 56.117 Exemplare für das finnische Heer, sowie zwischen 9.000 und 15.000 für neutrale und verbündete Staaten[1]. Finnland lieferte als Mitglied der Achsenmächte an Bulgarien (mindestens 505 Exemplare), Kroatien (mindestens 500) und Deutschland (3.042). Die KP/-31 wurde hierbei hauptsächlich von der Waffen-SS eingesetzt. Vor Beginn des Zweiten Weltkrieges lieferte Tikkakoski an Estland (485), Polen (20), Iran (mindestens 2) und Spanien (ca. 500).
In Schweden wurde die Maschinenpistole zuerst unter der Bezeichnung M/37 von der Firma Husqvarna im Kaliber 9x20 Browning gefertigt; damit passte sie zur damaligen Dienstpistole der schwedischen Armee, der FN 1903. Später ersetzte Schweden diese Pistolen durch die Walther HP (die Vorläuferin der Walther P38/P1) und die finnische Lahti L-35, beide im stärkeren Kaliber 9x19 Parabellum. Entsprechend wurde auch diese Maschinenpistole im Kaliber 9x19 unter dem Namen M37-39 gebaut. Verglichen mit der finnischen Version war die M37-39 nur 77 cm lang und wog 3,9 Kilogramm (geladen 4,9 Kilogramm). Für das eigene Heer baute Husqvarna ungefähr 35.000 Maschinenpistolen; Exemplare wurden aber auch nach Norwegen, Dänemark, Indonesien und Ägypten verkauft.
Dänemark kaufte 1941 von Tikkakoski 31 KP/-31, und begann, unter der Bezeichnung M/41 von den Firmen Dansk Rekylriffel Syndikat und Hovea in Lizenz Kopien herstellen zu lassen. Bis zur Entwaffnung der dänischen Armee durch die Wehrmacht im Oktober 1943 wurden so weitere 1.400 Maschinenpistolen fertiggestellt. Die erbeuteten Maschinenpistolen erhielten bei der Wehrmacht die Bezeichnung MP 746 (d).
In der Schweiz wurden 1942 5.200 Suomi-Maschinenpistolen eingeführt und unter der Bezeichnung Mp. 43 eingesetzt. Bei den später in Lizenz bei Hispano-Suiza hergestellten 22.468 Mp. 43/44[2] war der vordere Abschluss des Laufmantels senkrecht, der Lauf ragte heraus, unten am Laufmantel war eine Bajonetthaft angebracht, was das Aufsetzen des Karabiner-31-Bajonetts erlaubte. Als Magazin wurde ausschließlich das vierreihige 50-Schuss-Stangenmagazin verwendet. In der Schweiz wurden Soldaten der Sanitätstruppen noch bis in die 1980er-Jahre an der Suomi-Maschinenpistole ausgebildet.
Bilder
-
KP/-31 mit Zubehör
-
Bunker-Modell KP/-31
-
KP/-31 mit Trommelmagazin
-
In der Schweiz hergestellte Mp. 43/44 -
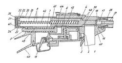
Schnittzeichnung der Suomi-MP (Patentzeichnung, Original) -
Finnischer Soldat mit einer Suomi KP mit Mündungsbremse und Panzerfaust -
Finnischer MP-Schütze -
Frühe Suomi KP/-26 mit 7,65 mm
Literatur
- Michael Heidler: Die finnische Maschinenpistole Suomi M/31. Verlag VDM Heinz Nickel, 2015, ISBN 978-3-86619-092-4.
- Reiner Lidschun, Günter Wollert: Enzyklopädie der Infanteriewaffen. Verlag Bechtermünz, 2001, ISBN 3-87748-668-1, S. 231–232.
Weblinks
Einzelnachweise
- ↑ FINNISH ARMY 1918–1945: MACHINEPISTOLS PART 1. Abgerufen am 28. April 2018.
- ↑ swisswaffen.com: Serial Number Database Search. Abgerufen am 28. April 2018 (englisch).
.jpg)