Springstock



Ein Springstock oder Pogo-Stick ist ein Spiel- und Sportgerät zum Auf- und Abhüpfen.
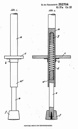
Der Stab hat einen T-förmigen Haltegriff am oberen Ende, zwei (oder mehr) Metallfedern, zwei Fußrasten sowie einen Fuß.
Benutzung
Der Benutzer stellt seine Füße auf die Fußrasten, während er auf dem Stab balanciert. Dann springt er oder drückt die Fußrasten herunter, um die Feder zusammenzudrücken. Wenn die Feder vollständig zusammengedrückt ist, verlagert der Benutzer sein Gewicht zum Hochspringen. Unterstützt durch das Zurückspringen der Feder hüpft er einige Zentimeter bis Dezimeter weit in die Luft. Der Prozess wird wiederholt, um eine hüpfende Bewegung zu erreichen. Der Springstock kann durch Gewichtsverlagerung gesteuert werden und wird zu einer interessanten Fortbewegungsart, was aber mit einiger Schwierigkeit verbunden ist.
Das Benutzen des Pogostabs erfordert einiges an Kondition und Gleichgewichtssinn, um längere Zeit auf ihm auszuharren. Gewöhnlich ist das Hüpf-Abenteuer nach höchstens einer Minute zu Ende. Versierte Benutzer versuchen während des Springens Kunststücke und Tricks zu vollführen. Als idealer Ort hierfür eignet sich städtisches Gebiet mit vielen Hindernissen. Diese Funsportart nennt sich Stunt Pogo und wird überwiegend in den USA ausgeübt.
Eine motorisierte Version wird Claude Shannon zugeschrieben.
Mediale Adaption
In Comics der 1960er Jahre, speziell aus dem Entenhausener Umfeld, wurde der Pogostab häufig auch als Fortbewegungsmittel abgebildet, auch in der Zeichentrickserie Der rosarote Panther Episode 71. Dies ist zwar theoretisch möglich, würde aber äußerst hohes Geschick und eine immense Ausdauer erfordern. Im Computerspielen der Commander-Keen-Reihe wird der Pogostab ebenfalls als Fortbewegungsmittel und als Waffe benutzt. In Pflanzen gegen Zombies benutzen Zombies den Pogostick zum Überwinden von sonst schlecht zu bezwingenden Hindernissen, was aber in der Realität so nicht möglich ist, da die Sprunghöhe hierzu nicht ausreicht. Weitere berühmte Benutzer sind die Zeichentrickfiguren Doctor Snuggles sowie der Papst aus Popetown. In der Horrorkomödie Tremors – Im Land der Raketenwürmer des Regisseurs Ron Underwood mit Schauspieler Kevin Bacon von 1990 lockt ein Mädchen, das auf der Straße auf einem Pogostick hüpft, unwissentlich unterirdische Riesenwürmer an, die empfindlich auf Vibrationen reagieren.
In den 1970er Jahren wurde vom Pogostab der Name des Modetanzes Pogo abgeleitet, bei dem die Hüpfbewegung ein zentrales Element darstellt.
Ashrita Furman, der Mann mit den meisten Rekorden im Guinness-Buch der Rekorde, hat mit dem Springstock folgende Rekorde aufgestellt:
- Treppensteigen mit einem Springstock, Juni 1999 im 353 Meter hohen CN Tower über 1.899 Stufen (57 Minuten und 15 Sekunden)
- Längste zusammenhängende gesprungene Strecke, Juni 1997 in den USA (37,2 Kilometer)
- Schnellste mit einem Springstock gesprungene Meile, Juli 2001 in England (12 Minuten 16 Sekunden)
- Längste Strecke Springstockspringen unter Wasser, August 2007 USA (512 Meter)
- Schnellste auf einem Springstock jonglierte Meile, September 2007 USA (23,28 Minuten)
- Die meisten Sprünge Seilspringen auf einem Springstock in einer Minute, Mai 2008 USA (178)
- Die meisten Springstock-Sprünge in einer Minute, Juli 2008 USA (238)
Name
Der Name des Hüpfstabes als Pogo-Stick leitet sich wahrscheinlich von den Anfangsbuchstaben der Nachnamen der Anmeldenden des Patentes Max Pohlig und Ernst Gottschall ab, die das Patent dem Reichspatentamt am 9. März 1920 vorlegten.[1]
Die Schwankung der Triebwerksleistung bei Flüssigkeitsraketen wird assoziativ als Pogoeffekt bezeichnet. Die vertikale Beschleunigung der Rakete erhöht zunächst die Treibstoffzufuhr aus den darüberliegenden Tanks, so dass die Rakete weiter beschleunigt, bis Nichtlinearitäten den Effekt begrenzen. Daraufhin reduziert sich die Beschleunigung und die Treibstoffzufuhr. Dieses Verhalten regt zerstörerische Resonanzen in der Längsachse der Rakete an.[2] Diese Schwingungen der Längsachse sind eine Analogie zum Hüpfen mit dem Springstock: Zusammendrücken der Feder (Erhöhung des Drucks in den elastischen Treibstoffleitungen) und nachfolgende Entspannung (Reduzierung des Drucks).
Weblinks
Einzelnachweise
- ↑ Patent DE352704C: Federnd wirkende Hüpfstelze. Angemeldet am 9. März 1920, veröffentlicht am 2. Mai 1921, Erfinder: Ernst Gottschall, Max Pohlig.
- ↑ Bernd Leitenberger: Die Saturn I-Trägerrakete. Abgerufen am 27. November 2021.