Quadantenne


Als Quadantenne (auch Quad oder Cubical-Quad) bezeichnet man Ganzwellenschleifen (Drahtlänge = Wellenlänge) in vorzugsweise quadratischer Form. Sie kann aus nur einem oder mehreren als auch aus kaskadierten gespeisten Elementen (Strahler) bestehen. Zusätzlich können ein oder mehrere parasitäre Elemente (Direktoren und Reflektoren) die Richtwirkung und den damit verbundenen Antennengewinn erhöhen.
Aufbau
Die Elemente können auch eine Raute oder einen Kreis bilden. Dabei gilt: Je größer die von der Ganzwellenschleife umrahmte Fläche ist, desto höher sind die Richtwirkung und der Antennengewinn. Das Maximum wird bei der Kreisform erreicht, aus bautechnischen Gründen kommen jedoch meist quadratische Formen zur Anwendung. Hierbei ist auch die Diamond-Form möglich (Auf der Spitze stehendes Quadrat). Letztere hat den Vorteil, dass nur ein Ausleger benötigt wird. Frühe Quadantennen wurden im Hobbybereich oft aus Bambusmaterial gebaut, das unbehandelt mehrere Jahre Betriebszeit ermöglichte. Moderne Quadantennen bestehen aus GFK-Rohren, Ramin, Epoxid-Rohren, sowie speziellen Quad-Mittelstücken aus Aluspritzguss.
Eigenschaften
Wird die Quad unten gespeist, ist die Polarisation horizontal, bei seitlicher Einspeisung vertikal, wodurch sie zum Flachstrahler wird. Sonderformen wie beispielsweise die X-Quad ermöglichen auch zirkulare Polarisation. Bei horizontaler Polarisation hat die Quad gegenüber einem Einzeldipol eine stärkere vertikale Bündelung und besitzt horizontal eine Achtcharakteristik. Bei Verwendung von Direktoren und Reflektoren (bei kurzen Wellenlängen oft auch eine Metall- oder Gitterfläche) sowie bei mehreren Strahlern (zwei oder mehr phasenverschoben gespeiste Quadantennen hintereinander) verändert sich das Richtdiagramm hin zu einer Keule. Durch die zusätzlichen (aktiven oder parasitären) Elemente erreicht die Quadantenne in dem abgestimmten Frequenzbereich einen relativ hohen Antennengewinn und eine stärkere Richtwirkung.
Während die gespeiste Schleife einen Umfang aufweisen muss, der einer Wellenlänge entspricht, ist der Umfang der Direktoren etwas kürzer und der Umfang des Reflektors etwas länger. Gespeistes Element, Reflektoren und Direktoren sind galvanisch nicht gekoppelt, können aber auf einem gemeinsamen Trägerstab (Boom) montiert werden. Die genauen Längen werden von den Umgebungsbedingungen beeinflusst, daher ist meist eine Abstimmung (z. B. mittels sogenannter Stubs) am Montageort nötig.
Die Quadantenne ist wegen ihres elektrisch geschlossenen Aufbaus eine besonders ruhige Antenne. Sie empfängt weniger Störungen als offene Antennenformen, beispielsweise ist das typische Prasseln bei statisch aufgeladenem Regen oder Schneefall zumindest deutlich geringer. Auch im Sendefall reduziert sie deutlich störende Beeinflussungen von elektronischen Geräten in der Nachbarschaft, die sich oft wegen technischer und konstruktiver Unzulänglichkeiten hierfür anfällig zeigen. Nachteilig ist, dass bei niedrigen Frequenzen sehr ausladende Konstruktionen nötig werden.
Geschichte

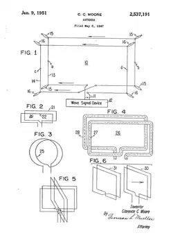
Dieser Antennentyp wurde im Jahr 1942 hoch im Anden-Dschungel in der Nähe von Quito in Ecuador für die seit 1938 betriebene Rundfunkstation Radio HCJB, von Clarence C. Moore (W9LZX) einem der Stationsingenieure und Funkamateur, entwickelt. Der Anlass hierzu war, dass in 3000 m Höhe die Luft so stark ionisierte, dass die Elementenden des zunächst verwendeten 4-Element-Richtstrahlers durch Koronaentladung (Elmsfeuer) abbrannten. Um diese zu vermeiden, suchte er eine geschlossene Antennenkonstruktion. Auf diese Weise entstand schließlich die erste Cubical-Quad.
Die erste Veröffentlichung machte Clarence C. Moore 1947, als er in die USA zurückkehrte, die Quadantenne als Patent anmeldete und dieses 1951 erhielt.
Anwendung
Quadantennen fanden und finden vielfältige Anwendung bei professionellen Funkdiensten, beim Militär und den auswärtigen Diensten. Das typische Frequenzspektrum reicht hierbei vom Kurzwellen- bis in den Gigahertz-Bereich.
Auch im Amateurfunkdienst sind Quadantennen seit Jahrzehnten geschätzt und bewährten sich insbesondere als DX-Antenne (weite Verbindung). Wegen der vorhandenen umfangreichen Erfahrungen und Literatur zu diesem Antennentyp, werden sie von Funkamateuren meist selbst gebaut und bis heute weiterentwickelt. Die Baumaterialien hierzu kommen aus den Bereichen Baumarkt, Drachenfliegerei, Amateurfunk und Naturprodukte.
Varianten
Es gibt eine große Typenvielfalt von Quadantennen, darunter: Doppelquad (auch Bi-Quad), X-Quad, Cubical Quad, Bird Cage, Swiss Quad, German Quad, UA3IAR-Quad, Multiband Cubical Quad, Dreiband-Quad, Fünfband-Quad, Mini-Quad, G3YDX-Mini-Quad, Spider-Quad, DJ4VM-Quad und weitere.
Bi-Quad-Antenne

Eine besondere Form der Quadantenne ist die Bi-Quad. Sie wird z. B. mit einer Metallplatte als Reflektor zur Richtantenne ausgebaut. Die Bi-Quad mit Metallreflektor hat einen Fußpunktwiderstand von ca. 60 Ω, was den Anschluss an Koaxialkabel ermöglicht, wobei der Schirm des Kabels mit dem Reflektor verbunden wird. Dadurch wird auch das unsymmetrische Koaxialkabel an den symmetrischen Strahler angepasst und es entstehen keine Mantelwellen. Eine waagrecht liegende „8“ hat dabei eine vertikale Polarisation.
Im Amateurfunk wird dieser Antennentyp schon lange verwendet, neuerdings werden Bi-Quads auch in der WLAN-Technik und Wardriving-Szene verwendet. Das russische VHF-Radar „Wostok-E“ verwendet diesen Strahlertyp in seiner Richtantenne.
Siehe auch
Literatur
- Karl Rothammel, Alois Krischke: Rothammels Antennenbuch. 11. Auflage, Franckh-Kosmos Verlag, Stuttgart 1995, ISBN 3-440-07018-2.
- K. Weiner DJ9HO: Die Cubical-Quad und ihre Sonderformen. DARC-Verlag, Baunatal 1999.