Orgelpfeife
.jpg)
Orgelpfeifen sind die klangerzeugenden Teile einer Orgel. Jede Pfeife wird in der Regel nur für einen Ton einer bestimmten Klangfarbe und Lautstärke gebaut, so dass in einer Orgel eine Vielzahl unterschiedlicher Pfeifen vorhanden ist (in größeren Orgeln mehrere tausend). Um die verschiedenen Tonhöhen, Klangfarben und Lautstärken zu ermöglichen, verwendet man Pfeifen von verschiedener Größe und Bauart. Pfeifen werden gruppenweise zu einzeln ein- und ausschaltbaren Registern zusammengefasst, um das Klangbild einer Orgel während des Spiels verändern zu können. Nach dem Prinzip der Klangerzeugung werden Pfeifen in zwei Grundtypen unterschieden: Labialpfeifen (Lippenpfeifen, Tonerzeugung durch brechenden Luftstrom) und Lingualpfeifen (Zungenpfeifen, Tonerzeugung durch schwingende Metallzunge).
Materialien

Orgelpfeifen werden fast ausschließlich aus Holz oder aus Metall angefertigt. Als Metall wird hauptsächlich eine Legierung aus Zinn und Blei mit unterschiedlichen Masseverhältnissen verwendet, die als Orgelmetall bezeichnet wird. Daneben wird auch Kupfer (eines der ältesten im Orgelbau verwendeten Materialien) oder ab Mitte des 19. Jahrhunderts bis etwa Mitte des 20. Jahrhunderts auch Zink verwendet, dieses besonders häufig beim Ersatz der zu Kriegszwecken eingeschmolzenen Pfeifen.
Holzpfeifen können aus unterschiedlichen Holzarten gefertigt sein, in der Regel aus Eiche, Nadel- oder Obsthölzern, gelegentlich auch aus exotischen Hölzern. Holzpfeifen werden zumeist innen mit Leim ausgegossen, denn kleine Undichtigkeiten behindern erheblich die Tonerzeugung. Aber auch aus Bambus, Marmor, Porzellan, Kunststoffen und früher sogar Elfenbein wurden vereinzelt Orgelpfeifen hergestellt. Im Gegensatz zu den Labialpfeifen, bei denen die getroffene Materialwahl (allenfalls mit Ausnahme des Kerns) die ganze Pfeife betrifft, bestehen Zungenpfeifen stets aus verschiedenen Materialien. Verschiedene Holzarten, Leder und verschiedene Metalle können zum Einsatz kommen (genauere Beschreibung siehe unten).
Labialpfeifen (Lippenpfeifen)
Die Tonerzeugung der Labialpfeifen (Lippenpfeifen) beruht darauf, dass ein Luftband durch einen schmalen Spalt gegen eine Kante, das Labium, geblasen wird (siehe unten, Abschnitt Tonerzeugung). Dies entspricht dem Prinzip der Blockflöte und anderer Schnabelflöten.
- Hörbeispiel: (853 kB)
Aufbau
Übersicht
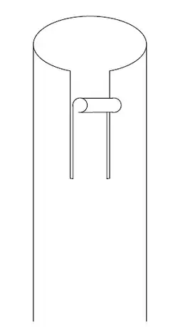
![]() (1) Pfeifenkörper (2) Oberlabium (3) Kern (4) Seitenbart (5) Aufschnitt (6) Unterlabium (7) Kernspalte (8) Pfeifenfuß (9) Fußloch |
![]() (1) Pfeifenkörper (2) Oberlabium (3) Kern (4) Seitenbart (5) Aufschnitt (6) Vorschlag (entspricht dem Unterlabium einer Metallpfeife) (7) Kernspalte (8) Pfeifenfuß |
Obwohl die Tonerzeugung bei allen Labialpfeifen gleich ist, unterscheiden sie sich doch etwas, je nachdem aus welchem Material sie gefertigt sind. Labialpfeifen aus Metall besitzen in der Regel einen kreisrunden Pfeifenkörper, während hölzerne Pfeifen aus praktischen Gründen meistens einen rechteckigen Pfeifenkörper haben, gelegentlich gibt es aber auch welche mit dreieckigem Querschnitt oder gedrechselte runde Holzpfeifen. Die Bezeichnungen der Bauteile sind leicht unterschiedlich. Sehr selten werden Holz- oder Metallpfeifen mit zwei Labien gebaut (doppelt labiiert)[1], diese sind in der Regel einander gegenüberliegend können aber auch nebeneinander angeordnet werden.
Pfeifen aus Metall

Labialpfeifen aus Metall bestehen funktional betrachtet aus zwei Teilen, dem spitz zulaufenden Pfeifenfuß, mit dem die Pfeife auf dem Pfeifenstock oder auf dem Prospektgesims steht, und dem Pfeifenkörper, der verschiedene Formen haben kann und für die Tonerzeugung zuständig ist. Fuß wie Pfeifenkörper sind im Übergangsbereich mit einer eingelöteten waagerechten Platte, dem Kern, fast vollständig verschlossen. An einer Seite ist ein Segment des sonst kreisförmigen Kerns abgeschnitten und der Fuß an dieser Stelle nicht mit dem Kern verlötet, sondern so weit zur geraden Kante des Kerns hin eingedrückt, dass sich eine schmale, parallele Spalte bildet, die so genannte Kernspalte. Die eingedrückte Stelle am Fuß wird Unterlabium genannt. Die Vorderkante des Kerns ist nach oben hin angeschrägt; diese Schräge heißt Kernfase.
Der Pfeifenkörper ist oben auf den Kern aufgelötet. Über der Kernspalte ist eine meistens rechteckige, Aufschnitt oder Mundloch genannte Öffnung aus dem Pfeifenkörper herausgeschnitten. Die Oberkante des Aufschnitts bildet das Oberlabium. Bei kleinen Pfeifen wird das Labium in den Pfeifenkörper eingedrückt (eingedrücktes Labium), während es bei größeren Pfeifen eingelötet werden muss (aufgesetztes Labium). Aus optischen Gründen wird bei größeren Prospektpfeifen, besonders wenn diese ein Rundlabium und kein Spitzlabium besitzen, auch das Unterlabium eingelötet.
Im Regelfall besteht eine Pfeife nur aus diesen Teilen. Bestimmte Register benötigen als Intonationshilfe noch Bärte. Das sind kleine Metallplättchen, die in ihrer Länge etwa der Aufschnittshöhe entsprechen und die nach vorne abstehend seitlich an die Labiumsöffnung gelötet werden. In manchen Fällen befindet sich waagerecht vor dem Unterlabium auch ein Bart. Besteht dieser zusammen mit den Seitenbärten aus einem Teil, wird das Kastenbart genannt, liegt dieser senkrecht spricht man von einem Streichbart, ein zylindrisches Holz- oder Metallstück zwischen den Seitenbärten heißt Roll- oder Rollenbart (heute nur noch selten gebräuchlich). Gedackte Orgelpfeifen besitzen als weiteren Teil einen Deckel, der mit einem Dichtstreifen aus Leder, Filz oder Stoff beweglich (bei sehr alten Orgeln auch fest verlötet) aufgesetzt wird. In seltenen Fällen besitzen auch offene Pfeifen einen in etwa vergleichbaren, aber oben offenen Stimmring.
Pfeifen aus Holz
Hölzerne Labialpfeifen besitzen kein Unterlabium im eigentlichen Sinne. Als Begrenzung der Kernspalte dient hier der Vorschlag. Das Oberlabium wird in den Pfeifenkörper gefeilt, gefräst oder gestemmt. Je nachdem ob es sich innen oder außen befindet, spricht man von einer innenlabiierten oder außenlabiierten Pfeife. Letztere Bauform ist die übliche. Drei der vier Seitenteile einer Holzpfeife sind durchgängig, also ergeben gewissermaßen gleichzeitig das, was bei einer Metallpfeife der Fuß und Pfeifenkörper ist. Neben dem Vorschlag befindet sich im unteren Teil der Kern, in welchen der Pfeifenfuß eingelassen ist. Dieser besteht in der Regel aus einem Holzrohr. Zur Wind(mengen)beeinflussung ist in den Fuß oft noch eine Möglichkeit zur Windregulierung eingebaut, z. B. in Form einer breiten Schraube.
Oftmals werden gedackte Register aus Holz gebaut, sie besitzen dann am oberen Ende einen mit Filz oder Leder abgedichteten Deckel mit Griff. Gelegentlich sind Seitenbärte in Form von kleinen Holzleisten aufgesetzt, in der Regel bilden aber schon die Seitenwände (der meist außenlabiierten Pfeifen) durch ihren Überstand eine Art Seitenbärte. Öfters werden als Bart in den Vorschlag parallel zur Kernspalte schmale Metallplatten in einen Schlitz eingelassen, der überstehende Teil dient dann als Intonierhilfe. In der Regel besitzen offene Holzpfeifen am oberen Ende außerdem ein gebogenes Blech, mit dem die Größe der Mündung der Pfeife reguliert wird. Damit ist es möglich, die Pfeife zu stimmen.
Pfeifenlänge

Schematische Skizze, besonders die großen Pfeifen sind in Wirklichkeit erheblich dünner
Die Länge der Pfeife bestimmt bei den Labialpfeifen direkt die Tonhöhe. Die Länge reicht von wenigen Zentimetern bis zu einigen Metern. Man unterscheidet zwischen offenen Pfeifen und den Gedackten, die oben mit einem Deckel oder Spund verschlossen sind. Gedackte Pfeifen klingen eine Oktave tiefer als gleich lange offene Pfeifen. Offene konische Pfeifen sind umso tiefer, je mehr sie sich nach oben verjüngen. Die Länge der größten Pfeife eines Registers wird bestimmt durch dessen Fußlage und auch in dieser angegeben. In der normalen Tonlage, der Äquallage, ist die tiefste Pfeife eines solchen Registers im Normalfall (offene Bauart) etwa acht Fuß, also etwa 2,4 Meter (zzgl. Pfeifenfuß) lang. Kleinere Orgeln besitzen nur Register in 8′-Lage oder höher, größere Orgeln haben öfters Register in 16′-Lage, sehr große Instrumente sogar in 32′-Lage und in Einzelfällen sogar 64′-Lage. Deren Frequenz liegt jedoch teilweise unter der Grenze des menschlichen Hörbereiches (Infraschall) und ist nur noch als Erschütterung und Druckgefühl auf den Ohren wahrzunehmen. Das Subkontra-C ist der tiefste Ton eines 32′-Registers und erzeugt beispielsweise einen Ton in der Höhe von 16,35 Hz. Sehr kleine Pfeifen haben nur eine klingende Länge von wenigen Millimetern. Bei diesen Pfeifen ist jedoch der Pfeifenfuß, der nicht zur Klangerzeugung beiträgt, in der Regel ca. 15 Zentimeter lang. Die Töne dieser kleinsten Pfeifen erreichen fast die obere menschliche Hörgrenze.
Die Länge lP des Pfeifenkörpers einer offenen zylindrischen Labialpfeife lässt sich aus der Frequenz f und der Schallgeschwindigkeit cS (= 343 m/s für 20 °C in Luft) wie folgt berechnen (λ ist die Wellenlänge):
Hierbei ist k die Mündungskorrektur (auch praktische Verkürzung genannt), die vom Pfeifendurchmesser d abhängig ist. Sie wird auch Endkorrektur der Resonatorlänge genannt. Sie ist nötig, da der Bauch der stehenden Welle nicht genau am Pfeifenende, sondern etwas außerhalb liegt. Für sie hat der französische Orgelbauer Aristide Cavaillé-Coll folgende Formel gefunden, die einen ungefähren Anhaltspunkt liefert:
Obwohl die Mündungskorrektur prinzipiell auch am Pfeifenmund auftritt, spielt sie in der Praxis bei gedackten Pfeifen eine eher unbedeutende Rolle. Die Länge lG einer gedackten zylindrischen Pfeife beträgt:
Eine Überlänge kann aus akustischen Gründen nötig sein, wenn man die Labialpfeife zum Überblasen bringen will; der tiefste dann hörbare Ton der Pfeife ist dann ihr erster Oberton. Man erleichtert das Überblasen durch ein kleines Loch in der Pfeifenwand etwa auf halber Höhe, manchmal auch durch eine relativ enge Bauform und vor allem durch relativ viel zugeführten Wind. Unter ganz bestimmten Möglichkeiten ist auch ein Überblasen in weitere Obertöne möglich. In der Regel werden überblasende Pfeifen zylindrisch und offen gebaut und sind in diesem einfachsten Fall dann doppelt so lang wie eine nichtüberblasende Pfeife gleicher Tonhöhe. Gedackten Pfeifen fehlt generell jeder zweite Teilton, sie überblasen daher in den zweiten Oberton und sind dann dreimal so lang.
Mensur
(Von lateinisch mensura ‚Maß‘)
Die Länge einer Pfeife bestimmt im Wesentlichen die Tonhöhe. Der Querschnitt sowie die Labienbreite und Höhe des Aufschnitts (und die zugeführte Windmenge bzw. der Winddruck) prägen die Klangfarbe. Alle diese Maße einer Pfeife fasst man unter dem Begriff Mensur zusammen. Im engeren Sinne bzw. im allgemeinen Sprachgebrauch ist mit dem Begriff Mensur zunächst erst einmal nur die Weitenmensur, also das Verhältnis von Länge und Breite bzw. Durchmesser gemeint.
Die wichtigsten Mensuren bei Labialpfeifen sind:
- die Längenmensur: die Länge des Pfeifenkörpers (sie bestimmt die Tonhöhe),
- die Weitenmensur: das Verhältnis vom Durchmesser zur Länge der Pfeife,
- die Labienbreite: die Breite des Labiums im Verhältnis zum Umfang der Pfeife,
- die Aufschnitthöhe: der Abstand zwischen Ober- und Unterlabium im Verhältnis zur Labienbreite.
Weitere Parameter, welche den Klang und die Ansprache einer Pfeife beeinflussen, sind zum Beispiel die Kernspaltenweite und Fußlochgröße.
Für nicht-zylindrische Pfeifenformen (Rohrflöte, Gemshorn, Spillpfeife, Spitzflöte usw.) werden entsprechend noch weitere Maße benötigt. Die Weitenmensur ist die wichtigste Mensur im Orgelbau, aus ihr ergibt sich die Einteilung in „eng“, „mittel“ oder „weit“ mensurierte Register. Die Aufschnittmaße werden oft aus dem Umfang des Pfeifenkörpers abgeleitet.
Bestimmte (bei der Herstellung durch die gewählte Mensur eigentlich vorgegebene) Maße können teilweise bei der Intonation der Pfeifen noch verändert werden. Intonateur Rainer Janke zum Beispiel schreibt von 55 Parametern, und dass die Aufschnittshöhe und der Winddruck deutlich mehr Einfluss auf den Klang einer Labialpfeife hätten als der Durchmesser.
1927 beschloss der Deutsche Orgelrat mit der Normmensur erstmals ein Standardmaß für die Mensur. Sie geht auf den Orgelbauer Dom Bédos (1709–1779) und den Orgelbautheoretiker Johann Gottlob Töpfer (1791–1870) zurück. Die tiefste Pfeife des sogenannten Normprinzipals in 8′-Lage hat nach Dom Bédos einen Innendurchmesser von 155,55 mm. Eine um eine Oktave höher klingende Pfeife hat zwar nur die halbe klingende Länge, ihr Durchmesser jedoch ist nicht ebenfalls halbiert, sondern berechnet sich bei der Normmensur nach der Formel:
Das bedeutet, dass erst die Pfeife, welche eine Oktave plus eine große Terz höher klingt, den halben Durchmesser bekommt, die hohen Pfeifen eines Registers werden daher im Verhältnis immer weiter, die tiefen dagegen immer enger. Wenn sich der Durchmesser ebenfalls im Oktavabstand verdoppelt bzw. halbiert (starre Durchmessermensur), würden die Pfeifen eines gleichen Registers im Verlauf sehr unterschiedlich klingen. Bei Anwendung der Töpferschen Mensur werden klangliche Unterschiede (die auf physikalischen und hörakustischen Effekten resultieren) weitgehend ausgeglichen.
Die Normmensur wurde zeitweise direkt zur Mensurierung von Prinzipalregistern herangezogen und für andere Register wurde sie nur leicht verändert (verschoben) angewendet. Heute dient sie vor allem als Vergleichsmaßstab zur Einordnung und Beschreibung von Mensuren, unverändert wird sie in der Praxis jedoch kaum angewendet. Mensuren und Mensurendiagramme werden erstellt, indem die Abweichung von der Normmensur in Halbtönen (HT) berechnet wird. Positive Zahlen bedeuten eine weitere und negative Zahlen bedeuten eine engere Mensur. Hat z. B. eine Pfeife, die den Ton c2 abgibt, eine Weitenmensur von −4 HT, so entspricht ihr Durchmesser dem der vier Halbtöne höheren und daher schmaleren Pfeife e2 der Normmensur (und wäre damit genau halb so groß wie der Durchmesser der Pfeife für den Ton c1). Analog kann man für die Labien- oder Aufschnittbreite und -höhe folgende Faustformeln annehmen und Abweichungen davon ebenfalls in Halbtönen angeben:
- Aufschnitthöhe = 1⁄4 × Aufschnittbreite
- Aufschnittbreite = 1⁄4 × Umfang
- Umfang = Durchmesser der Normalmensur ×

Wie aus der Abbildung ersichtlich ist, kann die Weitenmensur innerhalb eines Registers variieren. Man spricht dann von einer variablen (im Gegensatz zur konstanten oder starren) Verlaufsmensur. Variable Mensuren sind die Regel. Durch sie können die verschiedenen Tonlagen eines Registers hervorgehoben oder abgeschwächt werden.
Tonerzeugung
Die Luft strömt durch den Pfeifenfuß und tritt aus der Kernspalte als auf das Oberlabium gerichtetes Luftband hervor. An diesem wird der Luftstrom abgelenkt und beginnt, abwechselnd nach außen und nach innen zu schwingen (Details siehe Holzblasinstrument). Durch verschiedene Rückkopplungseffekte wird dadurch auch die Luft im Pfeifenkörper zu Schwingungen angeregt. Diese Schwingungen sind, nachdem sie sich in der durch die Pfeifenlänge vorgegebenen Frequenz stabilisiert haben, als Ton wahrzunehmen. Die Einschwingvorgänge bis zur Ausbildung des stabilen Pfeifenklanges werden Ansprache genannt. Diese setzt sich zusammen aus Anblasgeräuschen und kurzzeitig auftretenden hochfrequenten Vorläufer- bzw. Schneidetönen, die den Klang der Pfeife wesentlich prägen wie zum Beispiel das sogenannte Spucken bei gedackten Registern. Die Dauer und der Charakter der Ansprache sind zunächst von Pfeifentyp, Winddruck und Aufschnitthöhe abhängig. Die Ansprache endet mit dem Erreichen des eigentlichen bzw. stationären Klangs.
Bei einer klingenden offenen Pfeife befindet sich am oberen und unteren Ende, also an Mündung und Labium, ein Schwingungsbauch. In der Mitte der Pfeife befindet sich, zumindest auf den Grundton bezogen, ein Schwingungsknoten. Wird die Pfeifenlänge halbiert und in der Mitte gedackt, passen in Abhängigkeit von Anzahl und Ort der Wellenbäuche und -knoten nicht mehr alle natürlichen Obertöne in eine gedackte Pfeife. Jeder zweite Oberton (also jeder geradzahlige Teilton bzw. jeder ungeradzahlige Oberton) kann daher nicht erzeugt werden. Dadurch entsteht der warme, runde Klang der gedackten Register. Auf ähnliche Weise erklärt sich der ganz eigene Klang von überblasenden Registern. Da der eigentliche Grundton, der erste Ton der natürlichen Teiltonreihe, fehlt, rücken alle anderen Obertöne im Vergleich zum „effektiven erklingenden Grundton“ gewissermaßen um einen Platz auf.
Wiederum ähnlich verhält es sich mit den verschiedenen Bauformen und Mensuren. Während sich jeder Ton (im Gegensatz zum Geräusch) per se durch die Existenz der natürlichen Obertonreihe definiert, ergibt sich der verschiedene, charakteristische Klang eines Tons in Abhängigkeit davon, wie stark jeder der existenten Teiltöne ausgeprägt ist. Genau dieses wird durch die Formenvielfalt von Orgelpfeifen gestaltet.
Bis vor einiger Zeit wurde vermutet und auch mit älteren Untersuchungen belegt, dass das Pfeifenmaterial, ggf. sogar die Bearbeitungsweise eines gleichartigen Materials, Auswirkungen auf den Klang haben. Ähnliche Auswirkungen auf den Klang wurden auch jenen Pfeifen besonders historischer Orgeln zugeschrieben, deren Metall zur Mündung hin ausgedünnt ist. Diese Einflüsse konnten in neueren Untersuchungen[2][3] nur eingeschränkt nachgewiesen werden: Die Schwingung der Luftsäule verursacht Schwingungen in der Pfeifenwand. Diese Wandschwingungen fallen tatsächlich je nach Wandmaterial sehr unterschiedlich aus. Die Rückwirkung auf den hörbaren Luftschall ist jedoch gering, so dass der Materialeinfluss meist durch die Intonation (siehe unten) ausgeglichen werden kann.[2] Allerdings kann die Wahl des Materials die Dicke der Pfeifenwandung bedingen und damit die Möglichkeiten der Intonation etwas einschränken. Auch das Alter einer Pfeife hat keinen Einfluss auf ihren Klang, sondern allenfalls die abweichenden Intonationsmethoden früherer Zeiten. Durchaus haben jedoch Schäden an den Pfeifen einen Einfluss auf die Intonation, neben Verformungen ist die Zinnpest zu nennen.
Bauarten
Die Form der Pfeife bestimmt erheblich ihre Klangfarbe.
Einteilung
Man kann die wichtigsten Labialregister nach der Bauart wie folgt einteilen:
- Zylindrische offene Pfeifen mittlerer Mensur bilden einen Ton, der mit einem vollen, herben Klang dem allgemein bekannten Orgelton entspricht. Häufig verwendete Namen sind hier Prinzipal, Prästant und Oktave. Auch die Klangkronen, zusammenfassend Mixturen genannt, gehören dazu. Diese Register bilden den sogenannten Prinzipalchor.
- Zylindrische offene Pfeifen von weiter Mensur haben einen vollen, sanften Klang. Man spricht von dieser Pfeifenfamilie auch als Weitchor. Er ist am obertonärmsten und eignet sich daher als tragfähige Grundlage des Orgelklanges. Da weit mensurierte Pfeifen klanglich gut miteinander verschmelzen, sind die meisten Aliquotregister (Quinte, Terz, Septime, None; gemischte Stimmen wie z. B. Kornett) ebenfalls weit mensuriert. Registernamen sind unter anderem Flöte, Hohlflöte, Waldflöte, Nachthorn.
- Zylindrische offene Pfeifen von enger Mensur sind scharf mit einem schwächeren, sehr obertonreichen Klang. Da der Klang an Streichinstrumente erinnert, hat man den Registern entsprechende Namen gegeben: Viola, Violine, Gamba, verbreitet ist auch Salizional (Weidenpfeife). Hierzu gehören meistens auch die schwebenden Stimmen wie Vox coelestis und Unda maris. Diese Familie heißt Streicherfamilie oder Engchor.
- Pfeifen, die sich nach oben konisch verjüngen, verstärken einzelne Obertöne. Dadurch ergibt sich ein etwas hellerer Klang. Hier finden sich Register wie Spitzflöte, Blockflöte und Gemshorn.
- Umgekehrt konische, also trichterförmige Pfeifen sind etwas herb, wie zum Beispiel der Dolkan (auch Dulcan).
- Überblasende Pfeifen sind gekennzeichnet durch eine ausgeprägte, aber dennoch weiche Ansprache und einen vollen Klang. Sie werden fast ausschließlich bei zylindrischen Registern eingesetzt, wie Querflöte und Flûte harmonique.
- Zylindrische geschlossene Pfeifen (Gedackte) gibt es in unterschiedlichen Weitenmensuren. Sie sind leiser und obertonärmer. Gedackte mittlerer Mensur (zum Beispiel Gedackt, Bordun, Subbass, Untersatz) bilden oft das Fundament für den Orgelklang und stehen besonders in kleineren Teilwerken noch ein oder zwei Oktaven tiefer als das tiefste Prinzipalregister. Hier kommt die platzsparende Eigenschaft der Gedackten zum Tragen. Gedackte weiter Mensur (Gedacktflöte) bilden die Grundlage für Soloregistrierungen mit Aliquotregistern. Gedackte enger Mensur sind mit Ausnahme der Quintadena selten.
- Halbgedackte Pfeifen haben im Deckel ein Loch oder ein nach innen oder außen geführtes Röhrchen.
Systematik

Labialpfeifen aus Metall: (1) Prinzipal, (2) Offenflöte, (3) Gambe, (4) Spitzflöte, (5) Trichterflöte, (6) Gedackt, (7) Gedacktflöte, (8) Quintade, (9) Rohrflöte, (10) Spitzgedackt.
Labialpfeifen aus Holz: (11) Prinzipal, (12) Offenflöte, (13) Gedackt, (14) Gedacktflöte.
Lingualpfeifen: (15) Trompete, (16) Krummhorn, (17) Dulzian, (18) Holzregal, (19) Trompetenregal, (20) Trichterregal, (21) Doppelkegelregal.
Schematische Skizze, alle Pfeifen sind in Wirklichkeit etwas dünner.
Systematik von Bauformen (und Durchmessern) des Pfeifenkörpers und Registern[4]
| Labialpfeifen | |||||||||||||||||||||||||||||||||||||||||
| gedackt | halboffen: Rohrflöte Lochgedackt | offen | |||||||||||||||||||||||||||||||||||||||
| zylindrisch: | konisch: Spitzgedackt | zylindrisch: | konisch: Gemshorn Spitzflöte Nasat Blockflöte | trichterförmig: Trichterflöte Dolkan | |||||||||||||||||||||||||||||||||||||
| eng: Quintade Pommer Tiercina Septade | mittel/weit: Gedackt Subbass Bordun | eng (Streicher): Grundstimmen: (Viola da) Gamba Salizional Cello Violon Aeoline Dulciana Weidenpfeife Harfpfeife Vox coelestis Fugara mehrfach besetzte Register: Harmonia aetheria | mittel (Prinzipale): Grundstimmen: Prinzipal Oktave Praestant Aliquotstimmen: Quinte Terz mehrfach besetzte Register: Rauschpfeife Sesquialtera Terzian Mixtur Scharff | weit (Flöten): Grundstimmen: Flöte Waldflöte Nachthorn Koppelflöte (mit konischem Aufsatz) Aliquotstimmen: Nazard (Nasat) Terz mehrfach besetzte Register: Kornett Sesquialtera | |||||||||||||||||||||||||||||||||||||
Intonation
Definition
Mit dem Begriff Intonation wird die Gestaltung des Klanges der Orgelpfeifen bezeichnet. Dabei wird der Bereich des Labiums mit Spezialwerkzeugen bearbeitet, um die Pfeife in Klangfarbe und Lautstärke zu verändern und ihr einen stabilen Ton abzugewinnen, den sie unmittelbar nach der Herstellung noch nicht hat. Außerdem müssen alle Pfeifen eines Register in sich wie auch zueinander in Klangcharakter und Lautstärke ausgeglichen und gestimmt werden. Der Intonateur bezieht den Stil der Orgel und die Raumakustik in seine Arbeit mit ein. Neben der Intonation wird der Klang einer Orgel durch die Mensuren wesentlich bestimmt.
Die Legierung (bei Pfeifen aus Zinn und Blei), die Bearbeitung und das Alter einer Pfeife beeinflussen den Klang dagegen fast nicht, da nicht das Material der Pfeife schwingt, sondern die Luft.
Intonationsmittel
Um den Klang einer Pfeife zu beeinflussen, gibt es neben den verschiedenen Bauformen eine Fülle von Möglichkeiten, die man als Intonationsmittel bezeichnen kann. Dazu gehören: Expressionen, Stimmschlitze, Bärte, Aufschnitthöhen, Kernspaltenweite und deren Beschaffenheit, Kernfase und Gegenfase, Form und Stellung von Ober- und Unterlabium, Form und Anzahl von Kernstichen und die Größe des Fußloches. Die Intonationsmittel wurden im Laufe der Orgelbaugeschichte über Jahrhunderte weiterentwickelt und finden in ihrer Vielfalt und dem differenzierten Gebrauch einen Höhepunkt zur Zeit der Romantik.
| Fußloch | erweitern | lauter, schärfer, forcierter, schneller, Stimmung höher, schärfere Ansprache (bei sehr hoch aufgeschnittener Pfeife: weniger Spucken), evtl. weniger Rauschen bzw. Blasen, mehr Kratzen |
| verengen | leiser, grundtöniger, lieblicher, langsamer, Stimmung tiefer, weichere Ansprache (bei hohen Aufschnitten längeres Spucken), evtl. mehr Rauschen bzw. Blasen, weniger Kratzen | |
| Oberlabium | eindrücken | langsamer, schärfer, prinzipaliger, Ansprache etwas stumpfer |
| rausheben | schneller, grundtöniger, flötiger, Ansprache etwas härter | |
| Kern | höher | langsamer, schärfer, prinzipaliger, etwas lauter, Ansprache etwas stumpfer |
| tiefer | schneller, grundtöniger, flötiger, etwas leiser, Ansprache etwas härter | |
| Kernspalte | enger | mehr trockene und spitze Schärfe, leiser, diffuser, Ansprache oft schneller, bei sehr engen Spalten: langsamer, mehr Rauschen |
| weiter | mehr raue und harte Schärfe, lauter, klarer, Ansprache oft langsamer, bei sehr weiten Spalten: schneller, mehr Kratzen | |
| Aufschnitthöhe | erhöhen | grundtöniger, flötiger und langsamer, härteres Spucken, weniger Kratzen |
| erniedrigen | schärfer, prinzipaliger und schneller, stumpferes Spucken, mehr Kratzen |
| Oberlabium | eindrücken | quintiger und farbiger, Ansprache lang und hart |
| rausheben | grundtöniger und dunkler, Ansprache kurz und etwas weicher | |
| Kern | höher | wie oben und lauter |
| tiefer | wie oben und leiser | |
| Kernspalte | enger | wie oben und stärkeres blasendes Rauschen |
| weiter | wie oben und stärkeres kratziges Rauschen |
Intonationsstile
In der Orgelbaugeschichte sind schwerpunktmäßig drei Intonationsarten zu erkennen:
- Barocke Intonation: Es wird angestrebt, die Pfeife frei und natürlich sprechen zu lassen. Um die Führung einzelner Stimmen klar darstellen zu können, ist die Ansprache bzw. Artikulation der Pfeife deutlich, lebendig und schnell. Man sucht den Punkt der größtmöglichen Resonanz. Jeder Ton behält sein Eigenleben, ohne die Charakteristik des Registers zu verlassen. Intonationshilfen wie Kernstiche oder Bärte werden nur in begrenztem Umfang eingesetzt, um die Ansprache zu verbessern und Nebengeräusche zu reduzieren. Dadurch bleibt der Obertonreichtum der Pfeife erhalten.
- Romantische Intonation: Ziel ist es, der Pfeife einen statischen, kräftigen Ton zu geben, um homogene und nuanciert abgestufte Register zu erhalten, mit denen man große kompositorische Linien und Klangflächen darstellen kann. Intonationshilfen werden in erheblichem Umfang und sehr differenziert zur Tongestaltung eingesetzt. Dadurch ist die Ansprache der Pfeife nicht mehr so deutlich und artikuliert, ihr Obertonreichtum nimmt ab, und die Register wirken in sich sehr homogen. Dieser Intonationsstil ist gewissermaßen natürlich historisch gewachsen, da sich das Klangideal über viele Jahrzehnte immer weiter von den obertonreichen und „steil“ disponierten barocken Orgeln entfernte.
- Neobarocke Intonation: Diese Intonationsweise ist mit der sogenannten „Orgelbewegung“ aufgekommen. Es wird ein obertonreicher und scharfer Ton mit nur wenigen oder gar keinen Intonationshilfen, wie z. B. den Kernstichen, angestrebt, um ein durchsichtiges Klangbild für polyphone Musik zu erhalten. Da andere Intonationsmittel als in der Barockzeit eingesetzt werden, ist die Ansprache oder Artikulation der Pfeifen undeutlich und mit starker Obertonentwicklung verbunden. Auch wird nicht der Punkt der größtmöglichen Resonanz erreicht. Ebenso verhindern diese Intonationsmittel eine Klangverschmelzung der verschiedenartigen Registergruppen, wie sie für romantische Musik benötigt wird. Bemerkenswert an dieser Intonationsweise ist, dass sie weder kontinuierlich historisch gewachsen ist, noch, dass sie versucht, den barocken Stil unverändert in eine andere Zeit zu kopieren. Vielmehr wurden die echten Stil- bzw. Klangmerkmale historischer Barockorgeln falsch verstanden und in der Folge zu extrem idealisiert.
Klangverschmelzung
Eine Klangverschmelzung kann nur durch die richtige Intonation erzielt werden. Diese muss drei Anforderungen gerecht werden:
- Der Grundton und die nachfolgenden fünf Teiltöne sollen stark ausgebildet werden. Niedrige Aufschnitte und enge Kernspalten können dies verhindern.
- Hohe Obertöne (ab dem achten Teilton) und unharmonische Klangkomponenten sollen vermieden werden. (Unharmonische Obertöne sind ein Nebeneffekt sogenannter kernstichloser Intonation mit gefeilten Kernspalten.)
- Ansprachegeräusche, wie Spucken und zischende Vorläufertöne, müssen minimiert werden.

Mit den klassischen Intonationsmitteln (Kernstiche, Veränderung des Fußlochs, der Kernspaltenweite und der Aufschnitthöhe) kann – je nach gewünschtem Klangbild der gesamten Orgel – oft keine befriedigende Balance zwischen diesen Anforderungen und einem homogenen und kräftigen Klang gefunden werden. Wird ein Ton mit hohem Aufschnitt, starken Kernstichen und weiter Kernspalte zu grundtönig intoniert, verliert er an Kraft und klingt stumpf. Wird er ohne Kernstiche, mit niedrigerem Aufschnitt und verengter Kernspalte intoniert, verhindern die Vorläufertöne und die hochfrequenten Klanganteile, dass sich ein eng verzahnter, harmonischer Obertonaufbau und ein homogenes Klangbild ergibt. Hohe und unharmonische Klanganteile verhindern eine gute Klangverschmelzung. Harte und helle Ansprachegeräusche stören große musikalische Linien. Hingegen nehmen zu schwach ausgebildete mittlere Obertöne dem Klang Kraft und Farbe. Expressionen sind daher ein bewährtes Intonationsmittel, um die Balance zwischen Klangkraft und Verschmelzung zu steuern. Sie wirken wie Klangfilter: Je nach Größe und Position filtern sie bestimmte Obertöne und Ansprachegeräusche aus dem Gesamtklang einer Pfeife heraus. Andere Obertöne treten dadurch sogar stärker hervor und geben dem Ton einen besonderen Ausdruck (daher die Bezeichnung Expression). Die Expression ist somit ein typisches und wichtiges Intonationsmittel für Orgeln romantischen Stils, um ein Höchstmaß an Klangverschmelzung zu erreichen.
Stimmung


Labialpfeifen werden je nach Bauart auf verschiedene Weise gestimmt:
- Gedackte Pfeifen lassen sich durch einfaches Verschieben des Deckels stimmen.
- Manche Metallpfeifen besitzen am oberen Ende Stimmringe (vergleichbar mit einem offenen Deckel), mit denen die Pfeife effektiv verlängert oder verkürzt werden kann.
- offene Holzpfeifen haben mitunter einen Stimmdeckel aus Metall. Dieser kann durch Verbiegen mehr oder weniger schräg über die Mündung gebogen werden.
- Oft ist an der Mündung der Pfeife eine Lasche ausgeschnitten. Durch das Ein- oder Ausrollen dieser Lasche (Stimmrolle, bei Holzpfeifen stattdessen ein Schieber) wird der sogenannte Stimmschlitz vergrößert oder verkleinert.
- Hat die Pfeife Bärte, so kann unter Umständen auch der Bart zum Stimmen dienen, wenn es keine andere Möglichkeit gibt, die Pfeife zu stimmen. (Beispiel: Gedackte mit festgelötetem Deckel oder lange, weit vom Stimmgang entfernt stehende Pfeifen, die im Rahmen der Jahresstimmung gewissermaßen provisorisch nur an den Bärten gestimmt werden.)
- Offene Metallpfeifen können auch auf Tonhöhe geschnitten sein und verfügen damit über keine selbstständige Stimmeinrichtung; dieses ist vor allem bei kleineren Pfeifen (ab etwa 1⁄2′-Lage) die Regel. Solche Pfeifen können nur mit dem Stimmhorn gestimmt werden. Dabei handelt es sich um ein kegelförmiges Werkzeug, mit dem die Pfeife an der Mündung etwas geweitet oder geschlossen wird (auf- und zureiben). Vorteil dieser Variante ist die größere Stimmstabilität gegenüber Stimmrollen oder -deckeln (die sich mit der Zeit unter anderem durch Schwerkraft und Materialermüdung verschieben können), Nachteil ist die deutlich höhere Materialbelastung während des Stimmvorganges selbst.
Die Tonhöhe von Labialpfeifen verändert sich nur bei Temperaturschwankungen, da diese sich auf die Schallgeschwindigkeit in der Pfeife auswirken: Bei Wärme werden die Pfeifen höher, bei Kälte tiefer. Die Verstimmung beträgt etwa 3,3 Cent pro Grad Celsius, was einem Halbton auf 30 °C entspricht. Hierbei ändert sich prinzipiell nur die Stimmtonhöhe; die Pfeifen untereinander bleiben in einem konstanten Stimmungsverhältnis.
Etwa alle 15 bis 25 Jahre muss das Pfeifenwerk ausgebaut und gereinigt werden, da Staubablagerungen die Stimmung der Pfeifen (besonders der kleinen Labialpfeifen) erschweren oder sogar unmöglich machen.
Lingualpfeifen (Zungenpfeifen)


Die zweite Gruppe der Orgelpfeifen sind die Lingual- oder Zungenpfeifen, bei denen der Luftstrom eine Metallzunge (Stimmzunge) in Schwingung versetzt und der dadurch entstehende Klang durch einen Resonanzkörper (Becher) verstärkt wird.
Der Klang von Zungenpfeifen ist im Vergleich zu dem von Labialpfeifen wesentlich obertonreicher. Die Bauweise der Zungenpfeifen wird gewählt, um den Klang von Blechblas- oder Rohrblattinstrumenten nachzuahmen, insbesondere den von Trompeten, Posaunen, Klarinetten, Oboen, Fanfaren und anderen Instrumenten (Regal, Zink, Dulzian, Rankett).
Die Gesamtheit aller Zungenpfeifen einer Orgel wird – in Anlehnung an das Rohrblatt bei Holzblasinstrumenten – auch als Rohrwerk(e) bezeichnet. Teilweise ist auch vom Schnarrwerk die Rede, in Anlehnung an den schnarrenden Klang der kurzbecherigen Zungenstimmen. Dieser Ausdruck wird in der geschriebenen Fachsprache nicht gebraucht. Register mit Gegenschlagzungen sind im Orgelbau nicht bekannt.
- Hörbeispiel: (470 kB)
Es gibt zwei Arten, wie bei Zungenpfeifen der Ton erzeugt wird:
- Am häufigsten sind Zungenpfeifen, bei denen die Metallzunge auf eine sog. Kehle aufschlägt. Diese Zungenpfeifen werden auch als „aufschlagende“ Zungenstimmen bezeichnet.
- Zungenpfeifen, bei denen die Metallzunge wie beim Harmonium durch eine genau passende Öffnung hindurch schwingt, werden als „durch-“ oder „einschlagende“ Zungenstimmen bezeichnet.[5] Diese Bauweise ist im Vergleich zu den „aufschlagenden“ Zungenstimmen selten zu finden. Sie fand am meisten Verbreitung zwischen 1840 und 1920 und wird erst in den letzten Jahren gelegentlich wieder neu gebaut. Klanglich unterscheiden sich „durchschlagende“ von den aufschlagenden Zungenstimmen vor allem durch eine weichere Ansprache und einen starken, durchdringenden Klang. Typische Register sind Bassetthorn, Euphon, Klarinette (oder Clarinet).
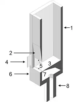
Aufbau

(2) Stimmkrücke
(3) Becherbüchse
(4) Stiefel
(5) Kopf oder Nuss
(6) Keil
(7) Kehle
(8) Zunge
(9) Fußloch
Auch Zungenpfeifen sind funktional betrachtet zweiteilig aufgebaut, allerdings mit anderer Aufgabenverteilung als bei Labialpfeifen: Der Ton entsteht im unteren Teil der Pfeife (dem Stiefel). Dort ist die Zunge mit der Stimmvorrichtung untergebracht. Der obere Teil (Becher) ist ein Hohlkörper aus Holz oder Metall, der für Resonanz und damit Verstärkung und Färbung des Klanges sorgt.
In den Stiefel wird von oben die Nuss eingesteckt, in dieser sind mit einem kleinen Holzkeil die Kehle und die Zunge festgekeilt. Die Kehle ist ein Metallröhrchen, das am oberen Ende in den Becher hin geöffnet ist und am unteren Ende verschlossen ist. Im Querschnitt betrachtet besteht die Kehle nur aus einem größeren Kreissegment, auf der breiten seitlichen Öffnung liegt die Zunge auf. Diese ist am unteren Ende leicht aufgebogen.
Die Zunge wird an einer Stelle durch das mehrmals gebogene Ende eines stabilen Drahts (Stimmkrücke) auf der Kehle festgedrückt. Nur der freie untere Teil jenseits dieses Auflagepunkts der Krücke kann schwingend den Ton erzeugen. Die Krücke ist oben aus der Nuss herausgeführt und am oberen Ende auch meistens noch einmal abgewinkelt. (Diese Bauweise beschreibt sämtliche aufschlagende Zungen, durchschlagende Zungen sind geringfügig anders konstruiert.)
Tonerzeugung
Da die Zunge etwas nach außen gewölbt ist und den Schlitz (längliche Öffnung in der Kehlenwand) nicht völlig schließt, kann die Luft, die in den Stiefel einströmt, unter der Zunge hindurch in die Kehle und weiter in den Becher gelangen. Durch diese Luftströmung entsteht in der Kehle (periodisch) ein Unterdruck, der die Zunge bei aufschlagender Zunge auf den Schlitz zieht, und bei durchschlagender Zunge in den Schlitz zieht. Da die Zunge den Schlitz praktisch fast geschlossen hat, wird die Luftströmung unterbrochen. Nun wirkt keine Sogwirkung mehr auf die Zunge und diese kann sich wieder zurückbewegen. Da sich dieser Vorgang regelmäßig und schnell wiederholt, entsteht dabei eine Luftschwingung, die wir mit dem Ohr als einen Ton wahrnehmen.
Bedingt durch die Art der Tonerzeugung mit einer schwingenden Zunge hat die Länge des Schallbechers – anders als bei den Lippenpfeifen – keinen direkten Einfluss auf die Tonhöhe, wohl aber auf die Klangfarbe und -stärke sowie auf eine gelungene Klangerzeugung. Die Zunge spricht auch ohne Schallbecher und im Prinzip fast mit allen Becherlängen an. Jedoch hat der Schallbecher, genauso wie der Körper einer Lippenpfeife, für jede Tonhöhe eine gewisse „richtige“ Länge.
Stimmung
Verschiebt man die Krücke durch leichtes Hinauf- oder Hinabschlagen mit dem Stimmeisen, ändert sich die Länge des freischwingenden Bereichs der Zunge und damit die Tonhöhe. Vom Grundsatz her verstimmen Pfeifen bei Temperaturänderungen in dem Maß, zu dem eine Wärmeausdehnung der klangerzeugenden Substanz erfolgt. Da der Ton bei Labialpfeifen durch die Luft selbst erzeugt wird und diese sich relativ stark ausdehnt, sind auch die Verstimmungen relativ groß. Die Wärmeausdehnung, welche die Metallzunge von Lingualpfeifen erfährt, ist im Vergleich dazu fast zu vernachlässigen. Aus verschiedensten Gründen verstimmen die Zungenpfeifen eines Registers mit der Zeit aber auch geringfügig in sich.
Temperaturschwankungen von wenigen Grad reichen schon aus, dass die Pfeifen beider Bauarten nicht mehr befriedigend miteinander kombiniert werden können. In der Praxis werden stets die Zungenpfeifen nachgestimmt, da diese bei einer Orgel die Minderheit des Pfeifenbestandes stellen und da diese leichter und schonender zu stimmen sind. Während eine Komplettstimmung der Orgel allenfalls jährlich durch den Orgelbauer erfolgt, werden die Lingualpfeifen nach Bedarf gestimmt, in der Regel auch von den Organisten selber.
Bauarten

(1) offene Labialpfeife
(2) gedackte Labialpfeife (Holzbauweise)
(3) Lingualpfeife
Wichtige Elemente
Einfluss auf den Klang einer Zungenpfeife haben die Gestalt der Kehle, die Dicke und Breite der Zunge und die Form und Mensur des Bechers. Im Klang besonders präsent sind im Prospekt horizontal angeordnete Zungenstimmen wie die Spanische Trompete aber auch regalartige Register, da der Ausbreitung der Schallwellen keine anderen Pfeifen oder Orgelgehäuseteile im Wege stehen und da der Klang direkt (horizontal) in den Raum abgestrahlt wird.
Becher
Die Bauweise der Becher kann sehr unterschiedlich sein. Man unterscheidet zwischen lang- oder vollbechrigen Zungen (d. h. Zungenregistern), bei denen die Becherlänge auf die Tonhöhe abgestimmt ist, und kurzbechrigen Zungen mit deutlich kürzerem Becher.
- Trichterkörper in voller Länge ergeben durch ihren natürlichen, möglichst vollkommenen Obertonaufbau einen harmonischen Klang ähnlich einem Blechblasinstrument. Typische Namen sind daher Trompete (16′, 8′, 4′) und Posaune (16′; seltener 32′ oder 8′), aber auch Fagott (32′, 16′; nicht so kräftig wie eine Posaune), Bombarde (32′, 16′; meistens das lauteste Zungenregister in einer Orgel), Clairon (4′) und Zink (2′ oder 1′ im Pedal). Die Länge des Aufsatzes hängt von der Weite des Bechers ab und liegt typischerweise bei gut 7′-Länge für einen 8′-Ton. Dabei wird die Becherlänge häufig etwas größer gewählt als sich physikalisch ergibt, um den Klang abzurunden.
- Überlange Trichterkörper ergeben einen sehr tragfähigen Ton. Möglich ist es, den Becher um etwa 25 % zu verlängern, so dass er etwa die Länge einer gleich tiefen Labialpfeife besitzt (8′-Länge für einen 8′-Ton). Man spricht in diesem Fall auch von Terzlänge, da diese Bechermensur der einer normal langen Lingualpfeife entspricht, die eine Terz tiefer klingt. Beispiele dafür sind Tuba mirabilis oder Waldhorn. Doppelte Becherlängen (etwa 14′-Länge für 8′-Ton) werden unter anderem in der hohen Lage der Trompette harmonique gebaut, bei einem 8′-Register etwa ab c1. Bei Registern mit voller Becherlänge wird mitunter die höchste Lage etwa ab c3 mit doppelter Becherlänge ausgeführt, damit die höchste Lage gegenüber den tieferen Lagen genügend Klangvolumen erhält.
- Halblange Trichterkörper werden selten zur Erzeugung eines speziellen Klanges gebaut. Insbesondere 32′- und 16′-Register mit an sich voller Becherlänge werden in der großen und z. T. auch in der kleinen Oktave mit halblangen Bechern gebaut. Dieses geschieht entweder aus Platzmangel in der Höhe oder bei 16′-Manualregistern auch, um die tiefste Lage gegenüber den höheren Lagen nicht zu voluminös wirken zu lassen.
- Zusammengesetzte Trichterkörper ergeben unterschiedliche Klänge wie Schalmei, Oboe, Englisch Horn (dunkler als Oboe).
- Zylindrische Körper in voller Länge geben einen näselnden Klang wie Krummhorn. Physikalisch ergibt sich eine theoretische Länge von 4′ für einen 8′-Ton. Auch zylindrische Becher werden teilweise etwas länger bis zu etwa 5′ für einen 8′-Ton gebaut, um eine Klangabrundung zu erreichen. Durch die zylindrische Becherform fallen die geradzahligen Teiltöne (darunter die Oktaven) weg.
- Mit kurzem Becher ergibt sich ein schnarrender, sehr obertonreicher Klang wie beim Regal oder bei der Vox humana. Bei den Regalen kommen viele verschiedene Becherkonstruktionen zum Einsatz, die der Klangformung dienen; z. B. Zylinder, Trichter, Zylinder mit Trichteraufsatz, Zylinder mit Doppelkegelaufsatz; alle offen oder teilgedeckt.
(Bemerkenswerterweise verhält es sich mit dem Zusammenhang von Bauform und Obertonausprägung bei Labial- und Lingualpfeifen genau entgegengesetzt. Nur sich weit öffnende trichterförmige Becher begünstigen eine Ausprägung aller Teiltöne. Bei den Labialpfeifen hingegen begünstigen nur normalweite zylindrische Pfeifen eine ausgewogene Obertonausprägung.)
Für die Herstellung der Becher werden verschiedenste Materialien verwendet. Oft werden Becher aus Metall hergestellt, dann wird Orgelmetall, Kupfer, Zink, Messing oder gelegentlich auch verzinntes Eisenblech („Weißblech“) verwendet. Becher können aber auch aus Holz hergestellt werden und haben dann einen quadratischen Querschnitt. Verbreitet sind derartige Becher bei den Regalen (Holzregal, Rankett), aber auch andere Zungenstimmen (z. B. Posaunen und Trompeten) gibt es in dieser Bauform.
Kehle und Zunge

Kehlen werden in der Regel aus Messing gefräst oder aus Orgelmetall gegossen, besonders in neuerer Zeit auch immer wieder aus bestimmten Holzarten hergestellt. Bleikehlen wurden zwar gebaut, sie neigen jedoch mit der Zeit zu Verformungen. Die Kehle kann zylindrisch oder konisch (größerer Durchmesser unten) geformt sein. Der Schlitz kann wiederum unterschiedliche Formen haben. Die Kehlen können auch eine Auflage aus Blei oder Zinn haben, die dann nachgearbeitet werden kann (z. B. bei Arp Schnitger). Die Bahn der Kehle kann auch mit Leder beklebt (beledert) werden, um das Blatt zu dämpfen, wodurch der Klang weicher und obertonärmer wird. Außerdem wird die Kehle nach der Form der Unterseite unterschieden: Die sogenannte deutsche Kehle ist unten flach, die französische Kehle unten abgerundet. Außerdem gibt es die angeschrägte Schiffchenkehle. Alle genannten Parameter sowie die Breite und Tiefe der Kehle haben jeweils einen bestimmten Einfluss auf die Klangstärke und die Klangfarbe. Die Zungen sind meistens aus Messing hergestellt. Die Stimmkrücke ist normalerweise aus harter Kupferlegierung (oft Neusilber).
Systematik
Systematik von Bauformen der Zungenpfeifen und deren Schallbecher
| Lingualpfeifen | |||||||||||||||||||||
| aufschlagend | durchschlagend: Klarinette[A 1] Euphon Physharmonika in Ausnahmefällen: Posaune Fagott Tuba | ||||||||||||||||||||
| kurzbechrig: Vox humana Regal Rankett Sordun | vollbechrig: | ||||||||||||||||||||
| konisch: Musette | zylindrisch: Krummhorn Dulzian Rohrschalmei Klarinette[A 1] | trichterförmig: Trompete Posaune Fagott Tuba Schalmey Oboe (Wald-)Horn | |||||||||||||||||||
Anmerkung:
- ↑ a b Hinter dem Registernamen Klarinette kann sich sowohl ein durch- als auch ein aufschlagendes Zungenregister verbergen, die sich allerdings im Klang deutlich voneinander unterscheiden.
Mensur
Ebenso wie bei den Labialpfeifen sind eine Menge Maße ausschlaggebend für ein bestimmtes Klangbild, das eine Lingualpfeife erzeugen soll, auch für diese gibt es Mensuren bzw. Mensurtabellen. Die wichtigsten Mensuren von Zungenpfeifen sind die Maße der Zunge (Länge, Dicke, Breite), der Kehle und die Länge und Weite des Bechers. Allerdings gestaltet sich die Klangerzeugung (und auch die spätere Intonation) von Zungenpfeifen komplexer als bei Labialpfeifen. Während bei der Labialpfeife bestimmte Mensurmaße direkt oder indirekt zwangsläufig voneinander abhängen, ist das bei der Lingualpfeife nicht grundlegend so, lediglich Zungenlänge und -breite müssen unbedingt mit den Kehlenmaßen übereinstimmen. Eine einzige „ungeschickt“ oder unpassend gewählte Mensur (also nur ein Teil, eine Größe betreffend) kann den gesamten Klang deutlich negativ beeinflussen. Um mit großer Sicherheit „klangschöne“ Zungenregister zu bauen, werden immer öfter auch historische Mensurmaße komplett unverändert übernommen, jene Register also gewissermaßen kopiert.
Intonation
Beeinflussende Elemente
Lingualpfeifen lassen sich intonieren, indem die Wölbung des Zungenblattes verstärkt oder abgeschwächt wird. Dadurch verändert sich in geringem Maß der Klang, vor allem aber auch die Lautstärke und die Ansprache. Wenn ein Deckel oder eine andere bewegliche Einrichtung am Becher vorhanden ist, wird auch dieser zum Intonieren benutzt, diese Teile haben aber vorrangig nur einen Einfluss auf den Klang. Für einen guten Klang und auch für das „Funktionieren“ einer Zunge ist die Mensur mit allen Detailmaßen von wesentlich größerer Bedeutung als bei Labialpfeifen.
Aufwurf des Zungenblattes
Für den Aufwurf gibt es unzählige Möglichkeiten. Es lassen sich jedoch zwei Grundtypen bestimmen. Weil sie eng mit der dazugehörigen Mensur und einem typischen Klangbild verbunden sind, kann man auch vom deutschen und französischen Bogen sprechen.
- Der deutsche Bogen folgt im Grunde einem exponentiellen Verlauf. Die Krümmung der Zunge beginnt ganz allmählich am Auflagepunkt der Krücke und erreicht den stärksten Bogen am Ende des Zungenblattes.
- Der französische Bogen beginnt in gleicher Weise, erreicht jedoch das Maximum der Krümmung im Bereich der Hälfte bis zum vorderen Drittel des schwingenden Teiles vom Zungenblatt. Danach nimmt der Bogen exponentiell wieder ab.
Zur Gestaltung des Aufwurfes wird in der Regel ein Aufwurfblock und ein Polierstahl verwendet.
Bourdonpunkt
Wie zuvor beschrieben, spricht eine Zungenpfeife zwar mit nahezu jedem Becher bzw. jeder Becherlänge an, dennoch gibt es für jede Tonhöhe eine ganz bestimmte Becherlänge, die eine optimale Tonentwicklung begünstigt. Ginge es nicht darum, jede Zungenpfeife den entsprechenden Labialpfeifen anzupassen, sondern nur darum, die zur gegebenen Becherlänge passende Tonhöhe zu finden, würde das Stimmen folgendermaßen geschehen: Die Zungenpfeife wird zunächst auf die Tonhöhe des sogenannten Bourdonpunktes gebracht. Dazu wird der Ton zunächst recht hoch eingestellt. Dann wird solange tiefer gestimmt, bis der Ton plötzlich abfällt und sich der Klang verändert. Ist das Zungenblatt optimal gebogen, klingt er nun grundtönig und weniger schnarrend, so, als würde ein Gedacktregister gleicher Tonhöhe dazu erklingen. Wird der Ton nun noch tiefer gestimmt, schmettert er immer stärker, und allmählich verschwindet die Fülle (der „Bourdon“). In diesem Bereich liegt die ideale Stimmtonhöhe. Ab einem bestimmten Punkt, etwa einen Halbton tiefer, ändert sich die Klangfarbe erneut, der Ton wird grell. Den Moment vor Erreichen dieses Wechsels nennt man den brillanten Punkt.
In der Praxis kann nicht jede Zungenpfeife allein für sich gestimmt werden. Vielmehr muss gewährleistet sein, dass jeder Becher beim Bau bzw. Einbau und Intonieren des Registers die exakt richtige Länge bekommt, damit sich die durch die Labialpfeife vorgegebenen Tonhöhe zwischen Bordunpunkt und brillantem Punkt befindet. Eine besondere Schwierigkeit liegt dabei darin, dass wie beschrieben die sich eigentlich nicht verstimmenden Lingualpfeifen nachgestimmt werden, die Lingualpfeife mit immer gleich langen Becher also leicht unterschiedlich hohe Töne von sich geben muss. Liegt der Ton jedoch recht nah am Bourdonpunkt, besteht erfahrungsgemäß die Gefahr, dass sich die Stimmung deutlich verändert, wenn die Raumtemperatur nur einige Grade kälter wird.
Hörbeispiele (Stimmen des Tones f1 einer Pedaltrompete 8′):
- Hier ist das Umkippen in den Bourdonpunkt zu hören, am Ende ist der brillante Punkt erreicht.
- Der Bourdonpunkt ist deutlich zu hören.
| Zunge | stärker aufwerfen | lauter, grundtöniger, langsamere Ansprache; Der Ton springt früher in den Bourdonpunkt, klingt dann weicher und ist stabiler |
| schwächer aufwerfen | leiser, obertöniger, schnellere Ansprache; Der Ton springt später in den Bourdonpunkt, klingt dann schärfer und ist unstabiler | |
| näher zum Bourdonpunkt | weicher, grundtöniger, leiser. Die Zunge wird sehr stark durch die Resonanz des Bechers gedämpft. Dadurch fallen Fehler im Bogen des Zungenblattes nicht so auf, und die Stimmung ändert sich bei einer Veränderung der Temperatur gegenüber den Labialen weniger. Der Zungenton wird stärker vom Becher bestimmt. | |
| näher zum brillanten Punkt | schärfer, obertöniger, lauter. Die Zunge wird nur noch sehr schwach von der Resonanz des Bechers gedämpft. Für einen gut klingenden Ton muss das Zungenblatt fehlerfrei gebogen sein, sonst klirrt er metallisch hart. Durch den schwächeren Einfluss der Resonanz des Bechers ändert sich die Stimmung gegenüber den Labialen bei Temperaturänderungen erheblich. Der Zungenton wird stärker vom Zungenblatt bestimmt. | |
Eine gelungene Intonation eines Zungenregisters setzt ein reiches Maß Erfahrung voraus. Trotzdem können zeitweise einzelne Pfeifen eines solchen Registers selbst einen ausgebufften Profi an den Rand seiner Kenntnisse bringen. Daher gilt ein Sinnspruch nicht umsonst zu allen Zeiten im Orgelbau: „Schnarrwerk-Narrwerk“.[6]

Gewendete Durchschlagzunge
Erfunden wurden die nicht nachzustimmenden Zungenregister von Ernst Zacharias in den 1980er-Jahren und gehören damit zu den wenigen Neuerfindungen im Orgelbau der letzten Jahre.[7] Bei diesen Zungenpfeifen ist eine durchschlagende Zunge mit ihrem Rahmen an einer bestimmten Stelle des Bechers so montiert, dass sie von jener Seite aus angeblasen wird, von der aus die Zunge normalerweise nicht durch Anblasen in Schwingung versetzt werden kann. Aber im Zusammenwirken mit dem Becher und dessen Resonanzeigenschaften geht es doch. Luftsäule und Zunge agieren so miteinander, dass ein stabiler Ton entsteht. (Ein ähnliches Prinzip der Klangerzeugung haben asiatische Mundorgeln wie Khaen, Sheng und shō.)
Dieses Prinzip gibt den Zacharias-Zungenpfeifen die Eigenheit, dass sie sich bei Temperaturveränderungen genau wie Lippenpfeifen verhalten, sich also nicht gegenüber diesen verstimmen. Ein weiterer Vorteil: Sie können stark oder schwach angeblasen werden, ohne dass sich ihre Tonhöhe auch nur im mindesten ändert. Nur die Lautstärke ihres Tones wird dadurch beeinflusst: Ihr Ton kann durch Veränderungen des Winddrucks über einen extrem großen dynamischen Bereich an- und abgeschwellt werden. Vorteilhaft ist auch die außerordentlich einfache Konstruktion, da Kehle, Kopf, Stiefel und Krücke der herkömmlichen Zungenstimmen entfallen. Die Pfeifenkonstruktion ähnelt einer hölzernen Labialpfeife mit „Frosch“, wobei anstelle eines Labiums die Zunge unter dem Frosch montiert ist. Zwei Register dieser Bauart befinden sich in der Marktkirche Poppenbüttel (Klarinette 8', Saxofon 8'), ein Register hat die Orgel der Friedenskirche Eckenhaid (Clarinette 8').[8] Der Orgelforscher Roland Eberlein bezeichnet die gewendete Durchschlagzunge als „wichtigste klangliche Neuerung im Orgelbau seit 200 Jahren“ und zeigt sich enttäuscht, dass diese vielversprechende Erfindung bisher kaum auf Interesse gestoßen sei.[9]
Kröpfung und Überlänge


- Je nach der konkreten Einbausituation kann es notwendig sein, die benötigte Einbauhöhe für Pfeifen zu verringern, indem man sie gekröpft ausführt. Der Pfeifenkörper wird dabei ein- oder mehrfach abgewinkelt auf Gehrung zusammengesetzt. (üblich sind Winkel von 45 und 60 Grad, bei Holzpfeifen auch 90 Grad) Die Pfeife verläuft also auf einem Teil ihrer Gesamtlänge horizontal oder sogar wieder nach unten gekehrt.
- Bei Lingualpfeifen mit Metallbechern besteht die Möglichkeit, die Becher im unteren Bereich durch mehrfache Kröpfung um insgesamt 360 Grad „aufzuwickeln“. Im Aussehen ähnelt dieser Becher dann einem Blechblasinstrument und werden daher auch als "Posthorn-Kröpfung" bezeichnet. Zungenpfeifen werden aber auch aus akustischen Gründen gekröpft gebaut, da dann der Klang (wie bei den Spanischen Trompeten) direkt horizontal in den Raum hinein abgegeben wird.
- Eine Sonderform ist die Spanische Kröpfung, auch nach ihrem Erfinder William E. Haskell (Estey Organ Company, Patent in 1910) Haskell-Kröpfung genannt, besser wäre allerdings der Begriff Spanische Konstruktion, da die Pfeifen hierbei nicht abgewinkelt (also im eigentlichen Sinne gekröpft) werden, sondern eine oben geschlossene Röhre in die offene Pfeife eingehängt wird, dadurch klingt die Pfeife tiefer (wie eine gedackte Pfeife), behält aber das Obertonspektrum einer offenen Pfeife. Es gibt mehrere verschiedene Varianten für Metall- und Holzlippenpfeifen dieser Bauart und auch für Zungenpfeifen. Gerüchten zufolge war diese Bauform bereits im 18. Jahrhundert in Spanien bekannt. Sie funktioniert am besten bei tiefen Pfeifen und eignet sich klanglich eher für Pfeifen aus der Streichergruppe.
- Ein Pfeifenkörper kann auch absichtlich länger als akustisch notwendig gebaut werden (Überlänge). Das geschieht aus optischen Gründen häufig bei Prospektpfeifen. Die schwingende Luftsäule wird durch Ausschnitte an der Rückseite der Pfeife auf die richtige Länge verringert.
Sonderformen
Die Klangerzeugung der Orgel geschieht in der Regel immer durch Labial- oder Lingualpfeifen, für die alle zuvor beschrieben Grundsätze gelten. In seltenen Fällen gilt das nicht. Hier kann zunächst unterschieden werden, ob die betreffenden Pfeifen den Tönen der Tastatur fest zugeordnet sind oder ob unabhängig bestimmte Töne oder Klänge erzeugt werden sollen.
Mit den Pfeifen der Tastatur zugeordnet:
- Doppeltonpfeife[10] – Sie besitzt steuerbare Klappen, die ähnlich einer Blockflöte die Erzeugung mehrerer Töne pro Pfeife ermöglichen.
Andere fest der Tastaturtonfolge zugeordnete Register erzeugen ihre Töne nicht durch Pfeifen, so z. B. das Glockenspiel.
Einige Effektregister haben Pfeifen, die nicht der Tastatur zugeordnet sind. So beispielsweise:
- Nachtigall – Mehrere hohe Pfeifen sind um 180° gedreht befestigt und münden mit ihrer Öffnung in einem Wasserbehälter. Bedingt durch die Bewegungen des Wassers beim Erklingen der Pfeifen ändert sich die Tonhöhe, der Klang ähnelt dem Ruf einer Nachtigall.
- Kuckucksruf: Pfeifen, die den Gesang eines Kuckucks imitieren.
Sonstige von der Tastatur unabhängige Register (z. B. Zimbelsterne) erzeugen ihre Töne ebenfalls nicht durch Pfeifen.
Bildhafter Wortgebrauch
Die Redensart „dastehen wie die Orgelpfeifen“ ist von den Prospektpfeifen abgeleitet, die bei vielen Orgeln der Größe nach in einer Reihe aufgestellt sind.[11] Dieses sprachliche Bild wird meistens im Zusammenhang mit kinderreichen Familien verwendet, wenn deren Kinder sich z. B. für Fotos nach Alter aufstellen. Ferner können Felsformationen aus Basaltsäulen an Pfeifenreihen einer Orgel erinnern, was zu Benennungen wie den „Bührener Orgelpfeifen“ in Niedersachsen, den „Orgelpfeifen“ am Scheibenberg (Erzgebirge) und den „Orgelpfeifen“ bei Khorixas in Namibia geführt hat.
Siehe auch
Literatur
- Wolfgang Adelung: Einführung in den Orgelbau. 2. überarbeitete und erweiterte Auflage. Breitkopf & Härtel, Wiesbaden 1991, ISBN 3-7651-0279-2 (2. Auflage 2. überarbeiteten und erweiterten Ausgabe. ebenda 2003).
- Hans Klotz: Das Buch von der Orgel. Über Wesen und Aufbau des Orgelwerkes, Orgelpflege und Orgelspiel. 14. Auflage. Bärenreiter, Kassel u. a. 2012, ISBN 3-7618-0826-7.
- Axel Leuthold: Die Berechnungsgrundlagen der Orgelpfeifenmensuren in Renaissance und Barock. Methoden zu ihrer Rekonstruktion und Systematisierung (= Monographien zur Orgeldokumentation. Bd. 7, 1–2 = Internationale Arbeitsgemeinschaft für Orgeldokumentation, (IAOD). Veröffentlichung Bd. 7, 1–2). 2 Bände. Pape Verlag Berlin, Berlin 2004, ISBN 3-921140-63-3 (Zugleich: Freiburg, Schweiz, Univ., Diss., 2002).
- Klaus Winkler (Hrsg.): Die Physik der Musikinstrumente. Spektrum der Wissenschaft, Heidelberg 1988, ISBN 3-922508-49-9.
Weblinks
- Rechner für Orgel-Mensuren und Frequenzverhältnisse
- U.a. Artikel zur Intonation, zur Strömungsforschung und Animationen
- Unterscheide Harmonische, Partialtöne, Teiltöne und Obertöne (PDF; 42 kB)
- Film über die Herstellung labialer Metallpfeifen
- Kopie und Intonation YouTube-Kanal Universität Göttingen
Einzelnachweise
- ↑ Doppelflöte auf organstops.org, abgerufen am 27. Oktober 2022.
- ↑ a b J. Angster, A. Miklós: Lineare und nichtlineare Wandschwingungen offener zylindrischer Orgelpfeifen. (PDF) 2003, abgerufen am 24. Februar 2020.
- ↑ Angster, Judit; Rucz, Péter; Miklós, András: Acoustics of organ pipes and future trends in the research. (PDF) 2017, abgerufen am 24. Februar 2020 (englisch).
- ↑ Helmut Langenbruch: Elementare Orgel- und Registrierkunde. (PDF) Ev.-luth. Landeskirche Hannovers, 1. Oktober 1992, S. 5, abgerufen am 5. August 2021.
- ↑ Compensation der Orgelpfeifen. 1829. Ein ausführlicher Beitrag von Prof. Weber über Lingualpfeifen mit durchschlagenden Zungen. Volltext auf Wikisource
- ↑ Voransicht des Buches: Urania. 1846, S. 22 (eingeschränkte Vorschau in der Google-Buchsuche).
- ↑ Roland Eberlein: Zacharias-Zungenpfeifen: die zukunftsträchtigste Neuerung im Pfeifenbau seit 200 Jahren. (PDF) walcker-stiftung.de, abgerufen am 20. September 2018.
- ↑ Mathias Jung: Die Zacharias-Zunge in Eckenhaid. (PDF) orgelbau-rohlf.de, abgerufen am 20. September 2018.
- ↑ Roland Eberlein: Die Geschichte der Orgel. Köln: Siebenquart 2011, S. 397f.
- ↑ Informationen zur Doppeltonpfeife der Firma Orgelbau Vier
- ↑ Duden | Orgelpfeife | Rechtschreibung, Bedeutung, Definition, Herkunft. Abgerufen am 15. November 2023.


