Liste von Explosionswaffen
Diese Liste von Explosionswaffen führt Inhalte aus Kategorie:Explosionswaffe getrennt nach Herkunftsnation und Explosionswaffenart. Hier aufgelistet sind nur solche Waffen, die weder als Bombe, Torpedo noch als militärische Rakete angesprochen werden können, also beispielsweise Antipersonenminen, Gewehrgranaten und Handgranaten.
Zu den vorgenannten alternativen Typen von Explosionswaffen siehe auch die Liste von Bomben nach Herkunftsnation und die Liste von Torpedos nach Herkunftsnation.
Albanien
Minen
- MKT Mod 72, Panzerabwehrmine
- MKTBT, Panzerabwehrmine
Ägypten
Minen
- A.T. Mine E.P. Mark VI, Panzerabwehrmine in Ägypten entwickelt und von Großbritannien genutzt
- HAMDY, Antipersonenmine
- M/71, Panzerabwehrmine
- T-93, Panzerabwehrmine
Argentinien
Minen
- BPM-1, Antipersonenmine
- FMK-1, Antipersonenmine
- FMK-3, Panzerabwehrmine
- FMK-5, Panzerabwehrmine
Belgien
Minen
- NR-413, Antipersonenmine
- PRB 111, Panzerabwehrmine
- PRB 408, Panzerabwehrmine
- PRB M3, Panzerabwehrmine
Brasilien
Minen
- AC NM AE T1, Panzerabwehrmine
- AP NM AE T1, Antipersonenmine
- T-AB-1, Panzerabwehrmine
- T-AB-1 AP, Antipersonenmine
Bulgarien
Minen
- PM-79, Antipersonenmine
- POMD-1, Antipersonenmine
- PTM-80P, Panzerabwehrmine
Chile
Minen
- Cardoen, Panzerabwehrmine aus Stahl
- Cardoen EC-2 Antipersonenmine
- MAT.84-F5, Panzerabwehrmine
- MP-APVL 83-F4, Panzerabwehrmine
China
Minen
- SATM, Panzerabwehrmine
- SAPM, Antipersonenmine
- Typ 72, Antipersonenmine, die in drei Versionen hergestellt wurde.
- Type 84, Panzerabwehrmine
Dänemark
Minen
- NR 25, Panzerabwehrmine
- NR 26, Panzerabwehrmine
- Type 2, T40, Panzerabwehrmine
Deutschland
Handgranaten
- Blendkörper (BK), Blendgranate der Wehrmacht
- Diskushandgranate (mit den Ausführungen M15, „offensiv“, „defensiv“ und anderen Jahrgängen)
- DM 38 A 1 Blend-Brand, Handgranate Bundeswehr Sprengbrand zur Bekämpfung von Feldstellungen, Bunkern und in der Panzernahbekämpfung
- DM41, eine Handgranate der Bundeswehr, genutzt während des größten Teils des Kalten Kriegs, Nachbau eines US-Modells und Vorgänger der DM51.
- DM51, die Standardhandgranate der Bundeswehr, mit Splittermantel als DM51 A1 eine Splitterhandgranate, ohne diesen Mantel eine normale Sprenggranate
- Eihandgranate Modell 1917 (mit den Ausführungen „M16“, „M17 Na“)
- Eihandgranate 39, die meistgebaute Handgranate der deutschen [Wehrmacht] im Zweiten Weltkrieg
- Gewehrgranate (mit den Ausführungen M13, M14, M17)
- Kugelhandgranate Modell 1913 (mit Ausführungen „Aa“ und „Na“)
- Kugelhandgranate Modell 1915 (Ausführung „Na“)
- Nebelhandgranate 39, Nebelgranate
- Nebelkerze 39, Nebelmittel
- Panzerwurfmine (Lang), Panzerabwehrhandgranate
- Stielhandgranate 24, Standardstielhandgranate der Wehrmacht bei Beginn des Zweiten Weltkrieges
- Stielhandgranate 43, Weiterentwicklung zur Produktionsvereinfachung im Verlaufe des Zweiten Weltkrieges
Minen
- Behelfs-Stabmine, Antipersonenmine
- Behelfs-Schützenmine S.150, Antipersonenmine
- Betonmine, auch als Stockmine M43 bekannt (Zweiter Weltkrieg)
- DM-11 AP, Antipersonenmine mit Druckauslösung
- DM-11 AT, Panzerabwehrmine mit Druckauslösung
- DM-12 PARM, Panzer-Abwehr-Richt-Mine – das Gerät feuert gerichtet eine Hohlladung gegen Panzerfahrzeuge ab, die es über einen mittels Akustiksensor aktiviertes Drucksensorkabel entdeckt.
- DM-39, Antipersonenmine
- DM-31, Schützenabwehrverlegemine
- Flachmine 17, Panzerabwehrmine (Erster Weltkrieg)
- Glasmine 43, Antipersonenmine aus Glas (Zweiter Weltkrieg)
- Hohl-Sprungmine 4672, Panzerabwehrmine (Zweiter Weltkrieg)
- Holzmine 42, Panzerabwehrmine (Zweiter Weltkrieg)
- LPZ, leichte Panzerabwehrmine (Zweiter Weltkrieg)
- Panzer-Stabmine 43, Panzerabwehrmine (Zweiter Weltkrieg)
- Panzermine 60, Panzerabwehrmine
- Pappmine, Antipersonenmine
- PPM-2, Antipersonenmine mit piezoelektrischem Druckzünder (DDR)
- Riegelmine 43, Panzerabwehrmine (Zweiter Weltkrieg)
- Riegelmine 44, Panzerabwehrmine (Zweiter Weltkrieg)
- S-Mine, während des Zweiten Weltkrieges eingesetzte Springmine
- Schützenmine 42, Antipersonenmine aus Holz
- Tellermine 29, Panzerabwehrmine
- Tellermine 35, Panzerabwehrmine
- Tellermine 42, Panzerabwehrmine
- Tellermine 43, Panzerabwehrmine
- Topfmine, Panzerabwehrmine
Europa
Minen
- ARGES, Panzerabwehrmine
- AT2, Panzerabwehrmine
Finnland
Minen
- PM-43, Antipersonenmine
- PM-68, Antipersonenmine
Frankreich
Handgranaten
- Alsetex 410, Blendgranate
- Grenade F1, Handgranate
Minen
- ADWAT, Panzerabwehrmine
- HPD, Panzerabwehrmine
- M 51 MACI, Panzerabwehrmine
- M 52 MACI, Panzerabwehrmine
- MAPED F1, Antipersonenmine
- MI AC Disp F1 Minotaur, Panzerabwehrmine
- MI AC PR, Panzerabwehrmine
- MIACAH F1, Panzerabwehrmine
- M 1935, Panzerabwehrmine
- M 1936, Panzerabwehrmine
- Mle 1939, Antipersonenmine
- Mle 1951 AP, Antipersonenmine
- Thomson-Sintra-Seeminen, die in zwei Versionen existieren: die TSM5310 ist eine Mine für den offensiven Einsatz (wie dem Verminen feindlicher Häfen oder Flussmündungen), die von U-Booten gelegt wird; die TSM5330 ist eine Mine für den defensiven Einsatz, die im bereits scharfen Zustand nur von Überwassereinheiten über eine konventionelle Ablaufschiene in das Wasser gebracht wird.
Georgien
Minen
- MMN-1 Antipersonenmine
- MMN-2 Antipersonenmine
Großbritannien
Handgranaten
- Gammon bomb, Handgranate
- No. 1 Granate, Handgranate
- No. 2 Granate, Handgranate
- No. 5 Mills-Granate, von 1915 bis 1972 die Standard-Handgranate der britischen Armee. Sie wird auch heute noch beispielsweise von Indien und Pakistan verwendet.
- No. 6 Granate, Handgranate
- No. 8 Jam tin Granate, Handgranate
- No. 9 Jam tin Granate, Handgranate
- No. 15 Ball Granate, Handgranate
- No. 23 Mills-Granate, Handgranate
- No. 36 Mills-Granate, Handgranate
- No. 69 Granate, Handgranate
- No. 73 Woolworth bomb, Handgranate
- No. 74 Sticky Bomb, von 1940 an produzierte Panzerabwehrhandgranate
- No. 75 Hawkinsgranate, von 1941 an produzierte Mehrzweck -granate / -mine
Minen
- A.P. and anti-tire mine, Antipersonenmine
- A.P. Improvised Type I, Antipersonenmine
- A.P. Improvised Type II, Antipersonenmine
- A.P. Shrapnel Mine, Antipersonenmine
- HB 876, Antipersonenmine
- L10 Ranger, Antipersonenmine
- No. 3 A.P. Mine, Antipersonenmine
- No. 4 A.P. Mine E.P., Antipersonenmine
- No. 5 A.P. Mine, Antipersonenmine
- No. 6 A.P. Mine, Antipersonenmine
- No. 7 Mk1 Dingbat, Antipersonenmine
Indien
Minen
- Adrushy (Panzerabwehrmine), Panzerabwehrmine aus Plastik
- Adrushy II (Panzerabwehrmine), Weiterentwicklung der Adrushy
Iran
Minen
- YM-III, Antipersonenmine
Israel
Minen
- No. 4, Antipersonenmine
- No. 6, Panzerabwehrmine
Italien
Handgranaten
- Baldari, Splitterhandgranate
- Benaglia, Gewehrgranate
- Bertone, Gewehrgranate
- Besozzi, Splitterhandgranate
- B.P.D., Sprenghandgranate
- Brevettata, Splitterhandgranate
- Calderoni, Splitterhandgranate
- Carasco, Brandhandgranate
- Carbone, Splitterhandgranate
- Lenticolare, Angriffshandgranate
- P.D., Abwehrpetarde
- P.I., Brandpetarde
- P.O., Angriffspetarde
- SIPE, Splitterhandgranate
- Spaccamela, Angriffshandgranate
- STOBI, Angriffspetarde
Minen
- AUPS, Antipersonenmine
- BM/85, Antipersonenmine
- P-25, Antipersonenmine
- SB-33, Antipersonenmine
- TS-50, Antipersonenmine
- Valmara 59, Antipersonenmine
- Valmara 69, Antipersonenmine
- VAR, Antipersonenmine
- VS-1.6, Panzerabwehrmine
- VS-50, Antipersonenmine
- VS-JAP, Antipersonenmine
- VS-MK2, Antipersonenmine
Japan
Handgranaten
- Handgranate Typ 3, Panzerabwehrhandgranate
- Handgranate Typ 4, Splitterhandgranate
- Handgranate Typ 10, Splitterhandgranate
- Handgranate Typ 91, Splitterhandgranate
- Handgranate Typ 97, Splitterhandgranate
- Handgranate Typ 98, Splitterhandgranate
- Handgranate Typ 99, Splitterhandgranate
Minen
- Riegelmine, Antipersonen- und Antifahrzeugmine des Kaiserlich-Japanischen Heeres und der Spezial-Marinelandungstruppe der Kaiserlich-Japanischen Marine
- Stoßmine, magnetische Panzerbekämpfungsmine
- Typ 3 Panzermine
- Type 63, Panzerabwehrmine
- Typ 93 Landmine, eine Antipersonenmine aus der Zeit des Zweiten Weltkriegs. Sie wurde vom Kaiserlich-Japanischen Heer ausgiebig im Pazifikkrieg eingesetzt.
- Typ 93 Panzermine
- Typ 99 Haftmine, magnetische Panzerbekämpfungsmine
Jugoslawien
Handgranaten
- M52R, Splitterhandgranate
- M52P2R, Splitterhandgranate
- M52P3, Splitterhandgranate
- M75, Splitterhandgranate
- M79, Hohlladungshandgranate
- M93, Splitterhandgranate
- RB-100, auch als Gewehrgranate einsetzbar
Gewehrgranaten
- M60
- M93
- RB-100, auch als gewöhnliche Handgranate einsetzbar
Minen
- ATMA-2, Runde Panzermine aus Kunststoff mit zwei chemischen Zündern
- Goražde, Holzkasten-Panzermine mit zwei PNM-2 Schützenminen als Zünder
- KRTM, Fernverlegbare Panzermine aus Aluminium mit vier Flügeln aus Stahl
- MMRD, Antipersonenmine mit Richtwirkung
- MRUD, Antipersonenmine mit Richtwirkung
- PMA-1, rechteckige Antipersonenmine aus Kunststoff
- PMA-2, Antipersonenmine mit sternförmigem Druckzünder
- PMA-3, Antipersonenmine aus Kunststoff und Gummi
- PMR-1, Stockmine
- PMR-2, Stockmine mit neun Fragmentreihen aus Stahl
- PMR-3, Zylinderförmige Stockmine aus Stahl
- PMR-4, Stockmine mit gerilltem Stahlkörper
- PMR-U, Stockmine
- PMN-2 „Goražde“, Antipersonenmine mit Hohlladung
- PPMR-2, Stockmine mit mehrfach diagonal gerilltem Stahlkörper
- PPPMR „Kaplinja“, Stockmine mit zwei Kunststoffhälften
- PROM-1, Flaschenförmige Springmine
- PROM-2, Zylinderförmige Springmine
- PROM-3, Zylinderförmige Springmine
- PROM-KD, Zylinderförmige Springmine
- PT-56, Panzerabwehrmine
- TM-100, Zylinderförmige Antipersonenmine, die in Wachspapier eingewickelt ist
- TM-200, Antipersonenmine, die in Wachspapier eingewickelt ist
- TM-500, Kunststoffummantelte Antipersonenmine, die in Längsrichtung mit Rippen verstärkt ist
- TMA (Panzerminen), Übersichtsartikel zu den Modellen TMA-1, TMA-2, TMA-3, TMA-4 und TMA-5
- TMD-1, Panzerabwehrmine
- TMD-2, Panzerabwehrmine
- TMM-1, Panzerabwehrmine, Nachbau der deutschen Tellermine 43
- TMRP-6, Panzerabwehrmine mit projektilbildender Hohlladung
- TMRP-7, Panzerabwehrmine mit projektilbildender Hohlladung
Kanada
Minen
- C3A1, Antipersonenmine
Österreich
Handgranaten
- Splitterhandgranate 85 (SplHgr 85)
- Splitterhandgranate 86 (SplHgr 86)
- HC-Nebelhandgranate 75 (HC-NbHgr 75)
- Reizstoffwurfkörper 85 (RzStoWfKpr 85)
- Leuchthandgranate 40 (LHgr 40)
- Brandhandgranate 85 (BHgr 85)
- Brandhandgranate 94 (BHgr 94)
Minen
- ATM 6, Panzerabwehrmine
- ATM 7, Panzerabwehrmine
- ATM 96, Panzerabwehrmine
- APM, Antipersonenmine
- Panzermine 88, Panzerabwehrmine
- Model 67, Panzerabwehrmine
- Panzermine 75, Panzerabwehrmine
- Panzermine 88, Panzerabwehrmine
Pakistan
Minen
- ATM-72, Panzerabwehrmine
- ATM-74, Panzerabwehrmine aus Holz
- P3 Mk2, Panzerabwehrmine
- P7, Antipersonenmine
Peru
Minen
- MGP-31, Panzerabwehrmine
Polen
Handgranaten
Granat ET-40 Filipinka, Handgranate Granat obronny wz.33, Handgranate Granat R-42 Sidolówka, Handgranate Granat RGZ-89, Handgranate Granat zaczepny wz.24, Handgranate
Minen
- Kasia 100, Panzerabwehrmine
- Kasia 170, Panzerabwehrmine
- MN-111, Panzerabwehrmine
- MN-121, Panzerabwehrmine
- MN-123, Panzerabwehrmine
- MPB, Panzerabwehrmine
- MPP-B Wierzba, Panzerabwehrmine
Portugal
Minen
- M432, Antipersonenmine
Rumänien
Minen
- MAT-62B, Panzerabwehrmine
- MAT-76, Panzerabwehrmine
- MC-71, Panzerabwehrmine
Russland / Sowjetunion
Handgranaten
- F-1, eine Verteidigungshandgranate die von der Roten Armee bereits im Zweiten Weltkrieg benutzt wurde, war lange Zeit Teil der Standardausrüstung, auch von weiteren Streitkräften des Warschauer Pakts. Heute ist sie in der russischen Armee durch modernere Modelle wie die RGO (s. u.) ersetzt worden.
- RG-41, Handgranate
- RG-42, Handgranate
- RGD-5, Handgranate
- RGD-33, Handgranate
- RGN, Handgranate
- RGO, Nachfolger der F-1 und ebenfalls für den defensiven Einsatz aus Schützengräben o. ä. vorgesehen.
- RGO 1914, Handgranate
- RKG-3, Panzerabwehrhandgranate
- RPG-6, Panzerabwehrhandgranate
- RPG-40, Panzerabwehrhandgranate
- RPG-43, Panzerabwehrhandgranate
Minen
- Objektmine F-10, Mine mit Funk-Zünder
- MON-50, 90, 100 und 200, Antipersonenminen mit Richtwirkung, ähnlich der US-amerikanischen Claymore.
- MRUD, Antipersonenmine
- NV-41, Panzerabwehrmine
- OZM-3, OZM-4 und OZM-72, (kyrillisch: ОЗМ), Springminen mit Splitterwirkung, Antipersonenminen
- PDM, Panzerabwehrmine
- PDM, Antipersonenmine
- PFM-1, eine Antipersonenmine in der Bauform einer Schmetterlingsmine. Diese luft- und mittels Artillerie verlegbare Mine wurde vielfach im Sowjetisch-afghanischen Krieg verwendet.
- PGMDM, Panzerabwehrmine, auch bekannt als PTM-1
- PMD-6, rechteckige Antipersonenmine aus Holz
- PMN und PMN-2, Antipersonen-Sprengminen. Sie zählen zu den am weitesten verbreiteten Landminen der Welt. Es gibt international etliche Varianten unter weiteren Bezeichnungen.
- POM-1, Antipersonenmine zur Fernverminung
- POM-2, Antipersonenmine zur Fernverminung
- POM-3, Antipersonenmine zur Fernverminung
- POMZ, Antipersonenmine
- PTM-3, Panzerabwehrmine mit Magnetzünder
- T-IV, Panzerabwehrmine
- TM-35, Panzerabwehrmine
- TM-38, Panzerabwehrmine
- TM-41, Panzerabwehrmine
- TM-44, Panzerabwehrmine
- TM-46, Panzerabwehrmine
- TM-57, Panzerabwehrmine
- TM-62, Panzerminenreihe (TM-62M, TM-62B, TM-62D, TM-62P, TM-62P2, TM-62P3, TM-62T)
- TM-72, Panzerabwehrmine
- TM-83, Panzerabwehrrichtmine
- TM-89, Panzerabwehrmine
- TMB, Panzerabwehrmine
- TMSB, Panzerabwehrmine
- TMD-40, Panzerabwehrmine
- TMD-44, Panzerabwehrmine
- TMD-B, Panzerabwehrmine
- TMK-2, Panzerabwehrmine
- YaM-5, Panzerabwehrmine
Fliegerbomben
Die Nomenklatur oder Typenkennung von Bomben aus der Sowjetunion oder Russland setzt sich in der Regel aus drei bis vier Bestandteilen zusammen.
Die Bezeichnungen wurden nicht immer einheitlich vergeben. Nachfolgend ein Beispiel zur Bezeichnung FAB-250M-46:
- Bombentyp (z. B. FAB)
- Kaliber (z. B. 250)
- Einführungsjahr (z. B. M-46 für 1946)
- Masse (z. B. 2600)
- weitere Hinweise wie
- т (T) = Hitzebeständig
- тс (TS) = dickwandig
- сч (stsch) = Stahlgusseisen
- сл (sl) = Stahlguss
Bezeichnungen
| russ. Abk. |
lateinische Schrift Abk. |
Bedeutung |
|---|---|---|
| ФАБ | FAB | hochexplosive Bombe |
| ОФАБ | OFAB | hochexplosive Splitterbombe |
| ОФЗАБ | OFZAB | hochexplosive Splitterbrandbombe |
| ОАБ АО ШОАБ |
OAB AO SchOAB |
Splitterbombe |
| ЗАБ/ЗАРП | ZAB/ZARP | Brandbombe |
| ЗБ | ZB | Brandtank |
| ОДАБ | ODAB | Aerosolbombe |
| ФАБ-ТС КАБ-Пр |
FAB-TS KAB-Pr |
durchdringende hochexplosive Bombe |
| БетАБ | BetAB | Betonsprengbombe |
| БрАБ | BrAB | panzerbrechende Bombe |
| ПТАБ | PTAB | Panzerabwehrbombe |
| ПЛАБ МПЛАБ ГБ |
PLAB MPLAB GB |
Wasserbombe |
| ХАБ ХБ |
ChAB ChB |
Chemische Bombe |
| АЖ | ASch | chemische Ampullenbombe |
| КрАБ-яд | KrAB-jad | rauchende Fliegerbombe mit giftigem Rauch |
| АОХ | AOCh | chemische Splitterbombe |
| КАБ | KAB | Lenkbombe |
| РБК | RBK | Einwegstreubombe |
| РБС | RBS | einmaliges Bombenbündel |
Hilfs- und Spezialfunktionen
| russ. Abk. |
lateinische Schrift Abk. |
Bedeutung |
|---|---|---|
| САБ | SAB | leuchtend (Beleuchtung) |
| ДАБ | DAB | Rauch |
| ИАБ | IAB | Simulation |
| АСК | ASK | Flugrettungskassette |
| МГАБ | MGAB | Meeres-Hydroakustik |
| АСП | ASP | Flugzeug-Feuerlöschmittel |
| АгитАБ | AgitAB | Agitation |
| П ПАБ |
P PAB |
praktisch |
| M | M | Ziel |
| УПЛАБ | UPLAB | U-Boot-Abwehrtraining |
| ФотАБ | FotAB | fotografisch |
| НОСАБ | NOSAB | Nachtorientierungssignal |
| ДОСАБ | DOSAB | Tagorientierungssignal |
| ОМАБ-Д | OMAB-D | Tagmeeresorientierung |
| ОМАБ-Н | OMAB-N | Nachtmeeresorientierung |
Hochexplosive Bomben
-
FAB mit kurzem Bombenkörper/mit stumpfer Spitze -
FAB mit langem Bombenkörper -
FAB dickwandig
Hochexplosive Fliegerbomben (FAB) wirken aufgrund der Explosion des Sprengstoffs. Dadurch kommt es zu einer Detonationswelle, Splitter durch Zertrümmerung des Bombenkörpers und starker Hitzeentwicklung. Als Mehrzweckbomben werden sie gegen verschiedene Hart- und Weichziele eingesetzt (Gebäude, Panzer, Infanterie). Die Masse des Sprengstoffs in der Bombe beträgt ungefähr 50 % ihres Gewichts. Die Bombe hat einen relativ starken Körper um in den Boden oder Bauwerke einzudringen. Moderne Mehrzweck-FABs wiegen 250 kg oder mehr.
Sie können verschiedene Formen haben:
- Тупоконечная (Stumpfe Spitze) – konzipiert für die effizienteste Platzierung im Rumpf. Abwurf bei nahezu und Unterschallgeschwindigkeit und in Höhen von bis zu 15–16 km.
- Большого удлинения (langem Bombenkörper) – sie haben einen stromlinienförmigen Kopfabschnitt, der hauptsächlich für Flugzeuge mit externer Aufhängung konzipiert ist, einschließlich Überschallflugzeugen. Sie haben weniger Luftwiderstand und sind stabiler.
- Толстостенные (dickwandig) – konzipiert für den Einsatz gegen besonders harte Ziele (Bunker aus Stahlbeton, Start- und Landebahnen, Dämme). Solche Bomben zeichnen sich durch einen massiveren Kopfabschnitt, einen dickeren Körper und einen Heckzünder aus.
| Abkürzung | Bild | Durchmesser (mm) | Länge (mm) | Gewicht (kg) | Explosive Masse (kg) | Bemerkungen |
|---|---|---|---|---|---|---|
| ФАБ-50ЦК | 219 | 936 | 60 | 25 | Massiv geschmiedet | |
| ФАБ-100 | 267 | 964 | 100 | 70 | ||
| ФАБ-250 | 285 | 1589 | 250 | 99 | ||
| ФАБ-250-М54 | 325 | 1795 | 268 | 97 | ||
| ФАБ-250-М62 | 300 | 1924 | 227 | 100 | ||
| ФАБ-250ТС | 1500 | 256 | 61,4 | dickwandig Panzerungsdurchdringung 1 m | ||
| ФАБ-250ШЛ | 235 | 1965 | 266 | 137 | Angriff Oberflächenexplosion | |
| ФАБ-500 | 392 | 2142 | 500 | 213 | ||
| ФАБ-500Т | 400 | 2425 | 477 | 191 | Hitzebeständig | |
| ФАБ-500-M54 | ![]() |
450 | 1790 | 528 | 201 | |
| ФАБ-500-M62 | 400 | 2425 | 500 | 200 | ||
| ФАБ-500ШН | 450 | 2190 | 513 | 221 | Angriff Niedrige Höhe | |
| ФАБ-500ШЛ | 2220 | 515 | Angriff Oberflächenexplosion | |||
| ФАБ-1000 | ||||||
| ФАБ-1500 | 580 | 3000 | 1400 | 1200 | ||
| ФАБ-1500Т | ![]() |
1488 | 870 | Hitzebeständig | ||
| ФАБ-1500-2500ТС | ![]() |
2151 | 436 | dickwandig Panzerungsdurchdringung 2500 mm | ||
| ФАБ-1500-М54 | ![]() |
1550 | 675,6 | |||
| ФАБ-2000 | ||||||
| ФАБ-3000 | 3067 | 1387 | ||||
| ФАБ-3000-М46 | 3000 | 1400 | ||||
| ФАБ-3000-М54 | ![]() |
3067 | 1200 | |||
| ФАБ-5000 | ![]() |
642 | 3107 | 4900 | 2207 | |
| ФАБ-5000-М54 | ![]() |
5247 | 2210,6 | |||
| ФАБ-9000-М54 | ![]() |
1200 | 5050 | 9407 | 4297 |
Hochexplosive Splitterbomben
-
Querschnitt - Zünder
- Sprengstoff
- Hülle
Eine hochexplosive Splitterbombe ist eine ähnlicher einer hochexplosiven Bombe, allerdings mit einem geringeren Sprengstoffanteil von etwa 30–35 % und Konstruktionsmerkmalen um den Bombenkörper möglichst definiert in Splitter zu Zerkleinern, z. B. einer sägezahnförmigen Innenseite des Körpers oder einem System aus Längs- und Querrillen (bei älteren Modellen waren diese jedoch möglicherweise nicht vorhanden).
| Primäre Ziele |
|---|
| Militärisch oder Industrielle Einrichtungen |
| Kampffahrzeuge |
| Lebende Ziele |
| Abkürzung | Bild | Durchmesser (mm) | Länge (mm) | Gewicht (kg) | Explosive Masse (kg) | Bemerkungen |
|---|---|---|---|---|---|---|
| ОФАБ-100-120 | 273 | 1300 | 133 | 42 | ||
| ОФАБ-250Т | 300 | 2050 | 239 | 92 | Hitzebeständig | |
| ОФАБ-250ШЛ | 325 | 1991 | 266 | Angriff Oberflächenexplosion | ||
| ОФАБ-250-270 | 1456 | 97 | ||||
| ОФАБ-250ШН | 1966 | 268 | 93 | Angriff Niedrige Höhe | ||
| ОФАБ-500У | 400 | 2300 | 515 | 159 | Universell | |
| ОФАБ-500ШР | 450 | 2500 | 509 | 125 | Angriff mit mehreren Sprengköpfen |
Betondurchdringende Bomben
Eine betondurchschlagende Fliegerbombe wurde für die effektive Zerstörung von verstärkten Betonunterständen und Start- und Landebahnen entwickelt. Strukturell werden sie in zwei Typen unterteilt:
- Freier Fall – für Bombenabwürfe aus großer Höhe konzipiert. Strukturell ähnlich dickwandigen Sprengbomben.
- Mit Fallschirm und Raketenbeschleuniger – für Bombenabwürfe aus beliebigen (auch niedrigen) Höhen konzipiert. Durch den Fallschirm neigt sich die Bombe um 60°, der Fallschirm wird gelöst und der Raketenbeschleuniger eingeschaltet.
| Abkürzung | Bild | Durchmesser (mm) | Länge (mm) | Gewicht (kg) | Explosive Masse (kg) | Bemerkungen |
|---|---|---|---|---|---|---|
| БетАБ-500 | 350 | 2200 | 477 | 76 | ||
| БетАБ-500ШП | 325 | 2500 | 380 | 77 | Angriff mit Jet-Beschleuniger | |
| БетАБ-500У | 450 | 2480 | 510 | 45 |
Wasserbomben
Mit Wasserbomben werden U-Boote angegriffen. Sie können verschiedene Designs haben. Bomben mit großem Kaliber haben normalerweise eine berührungslose (hydroakustische, barometrische, ferngesteuerte oder häufiger kombinierte) Zündung und treffen das Ziel mit einer hochexplosiven Wirkung (hydrodynamischer Schock) aus der Ferne.
| Abkürzung | Bild | Durchmesser (mm) | Länge (mm) | Gewicht (kg) | Explosive Masse (kg) | Bemerkungen |
|---|---|---|---|---|---|---|
| ПЛАБ-250-120 | 240 | 1500 | 123 | 61 | ||
| PLAB 5F48 Skalp | Unterwasser-Atombombe |
Brand- und Aerosolbomben
-
Brandbombe - Zünder
- Sprengstoff
- Sprengladung
- Patrone mit Phosphor
- Brandmischung
- Hülle
Brandbomben wurden entwickelt, um Arbeitskräfte und militärische Ausrüstung mit Feuer zu zerstören. Die Masse von Brandbomben überschreitet 500 kg nicht. Strukturell werden Brandbomben in zwei Typen unterteilt:
- mit pyrotechnischer Brandmischung – wird in allen Bomben mit einem Gewicht von weniger als 100 kg und in einigen mit einem Kaliber von mehr als 100 verwendet. Die pyrotechnische Mischung besteht normalerweise aus Thermit mit einem Bindemittel. Der Körper besteht normalerweise aus dem brennbaren Metall Elektron (einer Legierung aus Aluminium und Magnesium).
- mit einer viskosen Brandmischung – wird für Bomben mit einer Masse von 100 bis 500 kg verwendet. Eine Brandmischung besteht aus organischen brennbaren Substanzen, die mit speziellen Substanzen (Naturkautschuk, Natriumsilicate, Polystyrol) bis zu einem viskosen Zustand verdickt werden (siehe auch Napalm). Die Brandmischung im verdickten Zustand wird während einer Explosion in große Stücke zerstreut, die mehrere Minuten lang bei einer Temperatur von etwa 1000 °C brennen. Zum Design der Bombe gehört auch eine Patrone mit Phosphor und einer kleinen Sprengladung; Nach der Detonation entzündet sich der Phosphor an der Luft selbst und entzündet das Brandgemisch.
Hochexplosive Brandbomben sind eine Kombination aus hochexplosiver Bombe und Brandbombe in einem Körper. Wenn eine Bombe detoniert, detoniert zuerst der Brandteil und dann der hochexplosive Teil.
Bei Brandtanks handelt es sich um Brandbomben in einem dünnwandigen Gehäuse ohne Stabilisator und ohne Sprengladung. Die Zerstreuung und Zerkleinerung erfolgt durch einen hydraulischen Stoß, der beim Auftreffen auf ein Hindernis auftritt. Sie können nur aus geringer Höhe effektiv eingesetzt werden
-
Aerosolbombe - Zünder
- erste Ladung
- Sprengstoff
- Zweite Ladung
- Hülle
- Behälter mit Fallschirm
Eine Aerosolbombe bietet eine größere Wirkung gegen Personen und gefährdete Ausrüstung (auch in offenen Unterständen) als FAB. Beim Auftreffen auf ein Hindernis wird die Sprengladung aktiviert, der Körper wird zerstört und der Kraftstoff wird in der Luft verteilt. Er verdampft und bildet, vermischt mit Luft, eine Wolke aus Luft-Kraftstoff-Gemisch. Nach der für die Bildung einer ausreichend großen Wolke erforderlichen Zeit entzündet die sekundäre Sprengladung das Luft-Kraftstoff-Gemisch
| Abkürzung | Bild | Durchmesser (mm) | Länge (mm) | Gewicht (kg) | Explosive Masse (kg) | Bemerkungen |
|---|---|---|---|---|---|---|
| ЗАБ-100-105 | 273 | 1065 | 160,9 | 28,5 | ||
| ЗАБ-250-200 | 325 | 1500 | 202 | 60 | ||
| ЗБ-500ШМ | 500 | 2500 | 317 | 260 | ||
| ЗБ-500ГД | 270–340 | 218–290 | ||||
| ФЗАБ-500М | 400 | 500 | 86 + 49 | |||
| ФЗАБ-500 | 450 | 250 | ||||
| ОДАБ-500ПМ | 500 | 2280 | 520 | 193 | ||
| АВБПМ | ![]() |
7100 |
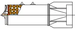
Streubomben
-
RBK mit Treibspiegel - Zünder
- Bomblets
- Treibspiegel
- Zentralrohr
- Ausstoßladung
-
RBK mit Zentralzündungs-Ausstoßladung (RBK-250 ZAB2.5M) - Zünder
- Bomblets
- Zentralrohr mit Ausstoßladung
- Hülle
RBK sind dünnwandige Abwurfbehälter, welche Submunition-Bomblets (bis 20 kg) enthalten. Die Bezeichnung besteht aus einer Abkürzung und der Art der Ausrüstung. Einige RBKs sind mit einer abnehmbaren Verkleidung ausgestattet, die es ermöglicht, diese an einer Außenlast-Aufhängung wie auch in einem internen Waffenschacht zu installieren. Basierend auf der Methode zum Zerstreuen der Submunition werden RBKs in zwei Typen unterteilt:
- mit Treibspiegel – Der Abwurfbehälter hat im Kopf eine Ausstoßladung, welche von einem Zünder in der Luft ausgelöst wird. Die Detonation der der Ausstoßladung drückt einen Treibspiegel in Richtung Heck. An dem Treibspiegel ist ein Zentralrohr befestigt und dieses drückt dann im Inneren des Abwurfbehälters auf den Heckkegel. Der Heckkegel trennt sich in einer Sollbruchstelle vom restlichen Behälterkörper. Der Treibspiegel drückt dann die Bomblets aus dem Inneren über das nun offene Heck.
- mit zentraler Ausstoßladung – Der Abwurfbehälter hat ein zentrales perforiertes Rohr mit einer Ausstoßladung, der Behälterkörper hat seitlichen Sollbruchstellen. Wenn der Zünder die Ausstoßladung auslöst, entsteht eine Druckwelle, welche den Behälterkörper zerreißt und die Bomblets zerstreut. Dadurch wird eine größere Streufläche erreicht.
KMGU sind wiederbefüllbare Behälter, welche mit BKF-Kasseten befüllt werden. In den BKFs befinden sich die Bomblets. Während des Kampfeinsatzes befindet sich die KMGU selbst an der Waffenaufhängung des Flugzeugs und wird nicht abgeworfen (obwohl sie im Notfall gewaltsam abgeworfen werden kann). Strukturell ist die KMGU ein stromlinienförmiger Körper mit gesteuerten Klappen, Fächern zum Aufhängen der BKFs und einer Steuerung des Intervalls zum Abwerfen der BKFs.
Streubomben-Submunition
Als Submunition (Bomblets) von Streubomben werden Bomben mit relativ kleinem Kaliber verwendet. Aufgrund der Besonderheiten ihrer Verwendung gibt es neben den oben beschriebenen Bombentypen auch Spezialbomben, die derzeit hauptsächlich nur in Streubomben verwendet werden.
Splitterbomben (Luftwaffen-Splitterbombe, Kugelsplitterbombe) sind Fliegerbomben, deren Hauptwirkung Splitter des Rumpfes sind. Das Kaliber der Bomben reicht von 0,5 bis 50 kg. Sie sind für die Bekämpfung von Personen sowie nicht und leicht gepanzerten Fahrzeugen (Weichziele) konzipiert. Alte Fliegerbomben haben einen zylindrischen Körper mit einem starren Stabilisator, der für unregelmäßige Zerstörung sorgt; moderne Bomben haben eine kugelförmige oder halbkugelförmige Konstruktion, einen klappbaren Stabilisator, aerodynamische Vorrichtungen, Kerben für die geordnete Zerstörung des Körpers oder vorgefertigte Schlagelemente. Dabei unterscheidet man in:
- Bomben mit vorgefertigten Splittern bestehen aus zwei Halbkugeln, die mit Stahlkugeln verstärkt sind. Im Inneren der Hülle befinden sich eine Sprengladung und ein Kontaktzünder.
- Bomben mit Kerben haben zusätzlich einen verzögerten Zünder. Beim Auftreffen auf ein Hindernis wird eine solche Bombe in zwei Teile geteilt und detoniert nach einer Zeit, die sie zum Aufsteigen über mehrere Meter benötigt.
Panzerabwehrbomben werden gegen gepanzerte Objekte verwendet. Die Zerstörungswirkung ist ein kumulativer Metallstrahl, der durch die Explosion einer Hohlladung im Inneren des Bombenkörpers gebildet wird. Außerdem erzeugt der Bombenkörper bei der Detonation Splitter, die Personen und ungepanzerte Fahrzeuge treffen können. Damit der kumulative Strahl wirksam ist, muss die Explosion in einem kleinen Abstand, die als Brennweite bezeichnet wird, zum Ziel erfolgen. Ältere Bomben haben einen Kopf- oder Bodenzünder. Moderne Bomben haben einen eingebauten Zünder mit Zielsensor.
| Abkürzung | Bild | Durchmesser (mm) | Länge (mm) | Gewicht (kg) | Anzahl Teile | Explosive Masse (kg) | Bemerkungen |
|---|---|---|---|---|---|---|---|
| РБК-500У ОФАБ-50УД | 450 | 2500 | 520 | 10 | 50 | hochexplosive Splitterbombe Universell | |
| РБК-500 АО-2,5РТМ | 504 | 108 | 2,5 | Splitterbombe | |||
| РБК-500 ОАБ-2,5РТМ | 500 | 126 | |||||
| РБК-500 БетАБ | 525 | 12 | Betonsprengbombe | ||||
| РБК-500У БетАБ-М | 2495 | 480 | 10 | Betonsprengbombe Universell | |||
| РБК-500 ПТАБ-1М | 1954 | 427 | 268 | Panzerabwehrbombe Hohlladung | |||
| РБК-500У ПТАБ | 2500 | 520 | 352 | Panzerabwehrbombe Hohlladung Universell | |||
| РБК-500У СПБЭ-Д | 2485 | 500 | 15 | selbstzielende Panzerabwehrbombe Universell | |||
| РБК-250 ЗАБ-2,5М | 325 | 1492 | 195 | 48 | 2,5 | Brandbombe | |
| РБК-500 ЗАБ-2,5СМ | 450 | 1954 | 480 | 297 | |||
| РБК-100 ПЛАБ-10К | 240 | 1585 | 125 | 6 | 10 | U-Boot-Abwehrbombe |
| Art | Ring um Körper | Ring um Spitze | Farbe der Spitze |
|---|---|---|---|
| Panzerbomben | rot | gelb | Feldgrau |
| Mehrzweckbomben | blau | Feldgrau | |
| Elektron-Thermit | ohne | goldgelb | |
| Leuchtbombe | weiß | weiß | |
| Kampfstoffbombe mit Aufschlagzünder | grün | grün | |
| Kampfstoffbombe mit Zeitzünder | rot | ||
| Nebelbombe | weiß | ||
| Kampfstoffbrandsplitterbombe | blau | grün | goldgelb |
| Übungsbombe | weiß | ohne | rot |
| Zementbombe | ohne | ohne |
Mitte der 1940er Jahre waren folgende Bezeichnungen an den Bomben angebracht:[1]
Am Bombenkörper:
- Kaliber (z. B. 1000)
- Zündertyp (z. B. AM-B)
- Art des Sprengstoffs (z. B. TNT)
- Detonatoren eingesetzt (detonatory wloscheny)
Am Leitwerk:
- Lieferungsjahr (z. B. 1939)
- Lieferungsnummer (z. B. 101/82)
- Nummer der Munitionsfabrik (z. B. sawod 97 = Werk 97)
Schweden
Minen
- FFV 016, Panzerabwehrmine
- FFV 018, Panzerabwehrmine
- FFV 028, Panzerabwehrmine
- Model 41, Panzerabwehrmine
- Model 47, Panzerabwehrmine
- Model 52, Panzerabwehrmine
Schweiz
Handgranaten
- HG85, Splitterhandgranate
Minen
- Model 49, Antipersonenmine
Spanien
Minen
- C-3-A, Panzerabwehrmine aus Gummi
- C-3-B, Panzerabwehrmine aus Gummi
Südafrika
Minen
- Mini MS-803, Antipersonenmine
- No. 8, Panzerabwehrmine
Thailand
Minen
- Model 123, Antipersonenmine
Tschechoslowakei
Minen
- Na-Mi-Ba, Panzerabwehrmine
- PP Mi-D, Antipersonenmine
- PP-Mi-Sr, Antipersonenmine
- PPMP-2, Antipersonenmine
- PROM-1, Antipersonenmine
- PT Mi-Ba, Panzerabwehrmine
- PT Mi-Ba-II, Panzerabwehrmine
- PT Mi-Ba-III, Panzerabwehrmine
- PT Mi-K, Panzerabwehrmine
- PT Mi-P, Panzerabwehrmine
- PT Mi-U, Panzerabwehrmine
- TQ-Mi, Panzerabwehrmine
Ungarn
Minen
- GYATA-64, Antipersonenmine
- HAK-1, Panzerabwehrmine aus Plastik
Vietnam
Minen
- MBV-78-A2, Antipersonenmine
- MD-82, Antipersonenmine
- NO-MZ 2B, Antipersonenmine
- P-40, Antipersonenmine
Vereinigte Staaten von Amerika
Handgranaten
- AN M8, Rauchgranate
- AN M18, Rauchgranate
- BEANO T-13, Handgranate
- ET-MP, Handgranate
- Ketchum Granate, Handgranate
- M1 Frangible Grenade, Handgranate
- M18 smoke grenade, Rauchgranate
- M26, Splitterhandgranate, die primär im Vietnamkrieg eingesetzt wurde
- M34 smoke grenade, Rauchgranate
- M67, eine Eierhandgranate für den offensiven Einsatz, Nachfolger der M61 aus der Zeit des Vietnamkriegs.
- M84 stun grenade, Blendgranate
- Mk1 Grenade, Handgranate
- Mk2 Grenade, Handgranate
- Mk3 Grenade, Handgranate
- MK3A2, Offensivhandgranate
Gewehrgranaten
- M17, aus dem Zweiten Weltkrieg
- 25-×-59-mm-Granate, es handelt sich hierbei um ein neues Gewehrgranatkaliber, das speziell für die Waffen des Individual-Combat-Weapon-Programm (OICW) entwickelt wurde. Diese Munition besitzt mehr Fähigkeiten als die weitverbreitete 40-Millimeter-Gewehrgranate (s. u.)
- 40-mm-Granate, eine sehr weit verbreitete patronierte Munition für Granatwerfer, deren Geschichte bis in die 1950er Jahre zurückreicht.
Minen
- BLU-42, Antipersonenmine aus den 1970er Jahren.
- BLU-43, Streumine, auch Schmetterlingsmine genannt.
- BLU-44, Streumine, auch Schmetterlingsmine genannt.
- Gravel, Antipersonenmine
- M1, chemische Landmine
- M2, Antipersonenmine, Springmine, Vorgänger der M16
- M3, Antipersonenmine in Quadratprismaform
- M5, Panzerabwehrmine
- M6, Panzerabwehrmine
- M7, Panzerabwehrmine
- M14, eine in den frühen 1950er Jahren entwickelte Antipersonenmine. Letztmals 1974 produziert, befinden sich die nicht unbeträchtlichen Restbestände immer noch im aktiven Arsenal der US-Armee.
- M15, Panzerabwehrmine
- M16, eine Antipersonen-Springmine die ebenfalls in den 1950er Jahren entwickelt wurde und heute in der Version M16 A2 die hauptsächlich genutzte Mine der US-Armee ist.
- M18 Claymore, oft verkürzt nur als Claymore bezeichnet, ist eine Antipersonenmine primär für Verteidigungszwecke mit einer gerichteten Ladung. Sie wird noch heute verwendet.
- M19, Panzerabwehrmine
- M21, Panzerabwehrmine
- M24, Panzerabwehrmine
- M63, Antipersonenmine
- M86 PDM, Antipersonenmine
- M93 Hornet, eine moderne und heute in Gebrauch befindliche Panzerabwehrmine (Entwicklungsabschluss 1997), die ein Panzerfahrzeug in bis zu 100 Metern Entfernung mit einer Infrarotgelenkten Submunition an der schwächer gepanzerten Oberfläche angreifen kann.
- MM-1 Minimore, Antipersonenmine
- XM-54, Antipersonenmine
- ↑ a b Wolfgang Thamm: Fliegerbomben. Die Spreng- und Brandbombenentwicklung in der Luftwaffe; Von der einfachen Fliegerbombe zur modernen Abwurfmunition und ihre Einsätze - mit Gegenüberstellung der Entwicklungen in England, USA und Russland sowie anderer Staaten. Bonn 2003, S. 214 ff.








