Klemmkraft

Die Klemmkraft ist die bei einer Schrauben- oder Nietverbindung zwischen den aufeinander liegenden Werkstücken nach der Montage und im Betrieb wirkende Kraft. Es ist zu beachten, dass die für einen sicheren und dauerhaften Halt erforderliche Klemmkraft nicht der nötigen axialen Kraft in der Schraube entspricht (siehe Montagevorspannkraft).

Die erforderliche Klemmkraft Fk ist abhängig von der axialen und/oder tangentialen Last in den zu verbindenden Bauteilen. Die Klemmkraft wird außerdem benötigt, um die Montagevorspannkraft zu berechnen.

Axiale Last

Axiale Last

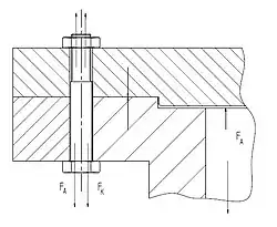
Die Schraube soll Formschluss gewährleisten. Dies bedeutet, dass die gefügten Werkstücke nicht voneinander abheben dürfen. Damit ist auch gleich die zweite Funktion benannt: Die aufeinander gepressten Werkstücke sollen gleichzeitig dichtend wirken. Da oft Behälter verschlossen werden, in denen eine Betriebskraft (z. B. Überdruck) vorherrscht, ist die Klemmkraft von dieser abhängig. Die Betriebskraft des gesamten Werkstückes wird auf die Anzahl der Schrauben verteilt. Stehen also mehr Schrauben zur Verfügung, muss von jeder Schraube weniger Kraft aufgewandt werden. Daher wird durch die Anzahl der Schrauben geteilt.

Dabei ist S die zu gewährleistende Sicherheit, d. h. dimensionslose Redundanz; FA die maximal auftretende Betriebskraft und z die Anzahl der Schrauben.

Tangentiale Last

Tangentiale Last

Die Schraube soll verhindern, dass die Werkstücke sich gegeneinander verschieben, was durch eine hohe Haftreibung zwischen den Platten erreicht wird. Dies nennt man Kraftschluss (oder Reibschluss). Die Haftreibung ergibt sich aus dem Produkt der orthogonal auftretenden Normalkraft (der Andruckkraft) mit der Haftreibungszahl. Durch eine Erhöhung der Normalkraft (hier die Klemmkraft der Schraube, da orthogonal zur Reibfläche) wird also auch die Reibwirkung angehoben. Die Kraft, die die Schraube auf die Platten ausübt, sollte so groß sein, dass sie selbst nur auf Zug- und nicht auf Scherbeanspruchung belastet wird. Dieser Fall darf nicht eintreten und muss durch entsprechend hohe Klemmkräfte vermieden werden.

Klemmkraft als Funktion der Querkraft:
Dabei ist S die zu gewährleistende Sicherheit; Ft die tangential auftretende Kraft (auch Querkraft), der Reibwert und z die Anzahl der Schrauben.

Resultierende erforderliche Klemmkraft

Die erforderliche Klemmkraft ist die Summe aus axialem und tangentialem Kraftanteil:

Siehe auch