Intel P6

P6 war die Intel-interne Bezeichnung für die ersten x86-Prozessoren der sechsten Generation. Mit der Entwicklung der sogenannten P6-Architektur wurde bereits im Jahr 1991 begonnen. Hauptarchitekt war Robert Colwell.
Der erste Prozessor der P6-Familie war der Pentium Pro aus dem Jahr 1995. Darauf aufbauend entwickelte Intel die Baureihen Pentium II, Pentium III und Pentium M sowie die Core-Mikroarchitektur. Die P6-Architektur war damit ungewöhnlich langlebig. Die zwischenzeitlich als Ablösung entwickelte NetBurst-Architektur des Pentium 4 gab Intel zugunsten von P6 wieder auf.
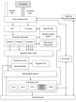
Die Architektur des P6, softwareseitig „i686“, ist mit ihrer relativ kurzen Pipeline auf eher moderate Taktraten ausgelegt und erreicht ihre Leistung vor allem aufgrund einer hohen Anzahl von Befehlen pro Taktzyklus (instructions per cycle, kurz IPC). Dennoch wurde die Taktrate des P6 von ursprünglich 150 MHz beim Pentium Pro auf 1400 MHz beim Pentium III-S gesteigert.
Beim P6 kamen einige Techniken zum ersten Mal bei x86-Prozessoren zum Einsatz:
- superskalare superpipelined Architektur,
- vollständig ins CPU-Design integrierter L2-Cache, teilweise on-die, teilweise als externe Chips,
- breiter 36-Bit-Adressspeicher, der mehr als 4 GB physischen Speicher erlaubt,
- spekulative Ausführung und Out-of-order-Ausführung zur Erhöhung der Ausführungsgeschwindigkeit und
- Registerumbenennung für eine effizientere Abarbeitung der Befehle in der Pipeline.
Mitglieder der P6-Familie
- Pentium Pro
- Pentium II
- Pentium III
- Pentium M
- Manche Celeron-Modelle
- Manche Xeon-Modelle
Siehe auch
- Liste der Mikroprozessoren von Intel
- AMD64-Architektur
- QuantiSpeed-Architektur
Literatur
- Robert Colwell: The Pentium chronicles. The people, passion, and politics behind Intel’s landmark chips. Wiley, Hoboken, N.J. 2006, ISBN 0-471-73617-1.