Anton Flettner


Anton Flettner (* 1. November 1885 in Eddersheim bei Frankfurt am Main; † 25. Dezember 1961 in New York City, USA) war ein deutscher Lehrer, Ingenieur und Erfinder.
Leben
Flettner wurde als Sohn des Peter Flettner und dessen Ehefrau Anna Maria in eine Frankfurter Flussschiffer-Familie geboren.[1][2][3]
Nach dem Besuch der Grundschule in Eddersheim besuchte er von 1897 bis 1901 das Gymnasium in Höchst am Main. Danach absolvierte er eine Ausbildung am Lehrerseminar in Fulda und war anschließend als Lehrer für Mathematik und Physik tätig[4]. Im Jahr 1910 heiratete er Lydia Freudenberg.[3]
Erste Arbeiten und Schiffbau
Im Alter von 29 Jahren stellte er dem damaligen Reichsmarineamt seine erste Erfindung vor, einen lenkbaren Torpedo. Diese wurde ebenso abgelehnt wie 1915 seine nächste Erfindung, ein ferngesteuerter Kampfwagen, da man sie nicht für technisch realisierbar hielt.

Nach dem Ersten Weltkrieg stellte Flettner Überlegungen an, wie man die personal- und zeitintensiven Arbeiten beim Segelschiffsantrieb reduzieren könne. Dabei sollten mit einem Hilfsruder ausgestattete Metallsegel die üblichen Segel aus Tuch ersetzen. Bevor ein bereits in Kiel geplanter Umbau eines Schiffes mit Metallsegeln zur Ausführung kam, hörte er von den Versuchen mit rotierenden Zylindern an der Aerodynamischen Versuchsanstalt in Göttingen. Mit Hilfe der Versuchsergebnisse entwickelte er den sogenannten Flettner-Rotor, der den Magnus-Effekt ausnutzte: Ein der anstehenden Windströmung ausgesetzter, rotierender Zylinder erzeugt aus dem Sog und den Staudruckkräften eine Kraft quer zur Strömung. Ohne anstehenden Wind versagt dieser Effekt. Beim Flettner-Rotor als Schiffsantrieb, sogenannten Rotorschiffen, rotieren hohe, auf Deck stehende motorisch angetriebene Zylinder aus Blech mit veränderlich angepasster Geschwindigkeit.
Diese Rotoren wurden auf zwei Schiffen getestet, 1924–1926 auf der später in Baden-Baden umbenannten Buckau und 1926–1932 auf der Barbara, fanden jedoch keine weitere Verbreitung. Um 1925 experimentierte Flettner außerdem mit einem „Dreiflächenruder“ an Schiffen (siehe unter #Literatur).
Das Prinzip des Flettner-Rotors fand nach der Jahrtausendwende, in Teilen abgewandelt, erneut Anwendung, zum Beispiel auf dem 2006 getauften Uni-Kat Flensburg und dem Rotorfrachtschiff E-Ship 1, das am 2. August 2008 bei der Lindenau-Werft in Kiel vom Stapel lief.
Luftfahrt-Entwicklungen
.jpg)
Im Jahre 1927 wandte Flettner sich der Luftfahrt zu. Er konstruierte ein Flugzeugruder mit Hilfssteuerfläche. Diese unter dem Begriff Flettner-Ruder oder Flettner-Klappe bekannte Erfindung entwickelte er später für den Schiffbau weiter.
Die von ihm geplante Konstruktion eines Drehflügelflugzeuges war nach vielen Rückschlägen erst nach etwa acht Jahren um 1935 mit der Fl 184 und der Fl 185 erfolgreich.[5] 1938 konstruierte Flettner zusammen mit Kurt Hohenemser die Fl 265. Dieser neuartige Hubschrauber löste durch gegenläufig ineinanderkämmende Rotoren (Flettner-Doppelrotor) das Problem des Drehmomentausgleichs. Er entwickelte 1940 die Flettner Fl 282 Kolibri, die ähnlich dem Vorgängermodell gebaut war; zwei dieser Hubschrauber gelangten als Kriegsbeute in die USA. Dort wurden sie eingehend erprobt und beeinflussten die Hubschrauberentwicklung der Kaman Aircraft Corporation, die nachfolgend ihre eigenen Konstruktionen nach dem Flettner-Doppelrotor-Prinzip entwickelte. Bereits während des Zweiten Weltkriegs hatte die Kellett Aircraft Corporation mit der XR-8 einen Hubschrauber nach dem Flettner-Prinzip gebaut.
Nach Ende des Krieges blieb Flettner anfangs noch in Bad Tölz und befasste sich weiter mit seinem Hubschraubersystem. Im Jahr 1947 ging er in die USA, wurde Berater des Office of Naval Research (ONR) und nahm kurze Zeit später die amerikanische Staatsbürgerschaft an. 1949 gründete er die Flettner Aircraft Corporation in Kew Gardens, Queens, New York City. Er selbst fungierte als Präsident, übernahm die technische Gesamtleitung und gewann Charles E. Rosendahl als Vizepräsident sowie Eugene Liberatore als seinen Assistenten. Sein Unternehmen betätigte sich hauptsächlich als Berater der US Navy bei neuartigen Flugzeugkonzepten und in der Weiterentwicklung des Flettner-Doppelrotors.[6] Flettner erwog kurzzeitig eine Verbindung mit Kaman einzugehen, entschied sich aber dann gegen dieses Vorhaben, da er sich zu dieser Zeit mit dem Strahlantrieb von Kranhubschraubern befasste.[7]
Weitere Entwicklungen


Anton Flettner ist auch für die bekannten Flettner-Lüfter verantwortlich, die Luftaustausch in geschlossenen Räumen ohne eigenen Antrieb ermöglichen. Diese Entwicklung mag der Savonius-Rotor beeinflusst haben, den 1924 der Finnen Sigurd Savonius erfunden hatte und dessen deutsches Patent Flettner aufkaufte.[8] Die ständig rotierenden Lüfter waren in den 1930er- bis 1960er-Jahren bei Lieferwagen, Omnibussen, Eisenbahnwaggons und Booten weit verbreitet. Die Firma Flettner Ventilator Limited in Milton Keynes, Großbritannien, stellt noch heute Flettner-Lüfter her.[9]
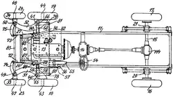
1930 konzipierte Flettner den fünfachsigen „Krupp-Flettner-Großkraftwagen“ aus einem einachsigen Krupp-Motorwagen und einem angekuppelten vierachsigen Wagen mit der Nutzfläche. Eine vom Motorwagen mit drei Kardangelenken führende Antriebswelle trieb die beiden hinteren Achsen an. Die beiden vorderen Achsen des Nutzwagens (Achse 2 und 3) steuerten Gestänge des normal gelenkten Motorwagens durch das Ausscheren automatisch mit. Dies sollte die Kräfte des Fahrers schonen und die Betriebssicherheit erhöhen. Ein Prototyp wurde bis 1931 hergestellt und auf der Berliner Automobilausstellung vorgeführt. Danach wurde das 13,74 m lange Fahrzeug von der KVG Sachsen, dem damals größten Busbetrieb Deutschlands, zum Transport von Treibgasflaschen genutzt. Der bis Mitte der 1930er-Jahre geplante Bau eines Fünfachs-Großomnibusses wurde nicht mehr verwirklicht.
Würdigung
Anton Flettner hat von 1912 bis 1960 mehr als 1000 Patente angemeldet.[10] Er ist auf dem Friedhof von Eddersheim begraben. Sein Grabmal steht unter Denkmalschutz.[11] In seinem denkmalgeschützten Elternhaus, der Flettner-Villa, ist heute der städtische Kindergarten „Villa Kunterbunt“ von Eddersheim untergebracht.[12] In einigen deutschen Städten wie Cuxhaven, Raunheim, Hattersheim am Main und Werder (Havel) existieren Anton-Flettner-Straßen.
Literatur
- Ahnhudt: Das Flettner-Ruder. In: Marine-Rundschau. Zeitschrift für Seewesen. Mönch, Bonn 1924, ISSN 0025-3294, S. 18–29.
- Emo Descovich: Flettners Ruder, Segel und Rotor: Ein volkstümlicher Erklärungsversuch. Österreichischer Bundesverlag für Unterricht, Wissenschaft und Kunst, Wien 1925.
- Josef Esser: Das Flettner-Schiff. G. D. Baedeker, Essen 1925.
- Anton Flettner: Mein Weg zum Rotor. Köhler & Amelang, Leipzig 1926.
- Uwe Greve: Buckau und Barbara. Das Experiment der Rotorschiffe. DBM-Media, Berlin 1995 (= Schiffe-Menschen-Schicksale, Nr. 20, Jahrgang 3).
- Frank Grotelüschen: Drehmoment: Anton Flettner gelingt 1924, wovon alle Segler träumen: Sein Rotorschiff segelt gegen den Wind. In: Mare – die Zeitschrift der Meere. (2004), 45, S. 38–41. Dreiviertel-Verlag, Hamburg, ISSN 1432-928X.
- W. Heberling: Das Einschrauben-Motorschiff „Therese Horn“ und seine Versuchsfahrten mit dem Flettner-Dreiflächenruder. In: Werft, Reederei, Hafen. Organ der Schiffbautechnischen Gesellschaft, der Hafenbautechnischen Gesellschaft, des Handelsschiff-Normen-Ausschusses und des Archivs für Schiffbau und Schiffahrt e. V. Band 6 (1925), 1. Springer, Berlin 1925, ISSN 0372-7491.
- Hans-Jürgen Reuß: Flettner-Rotorschiffe – Alte Technik für neue Schiffe. In: HANSA International Maritime Journal. (2007), 12, S. 16–22. Schiffahrts-Verlag »Hansa« C. Schroedter & Co., Hamburg 2007.
Weblinks
- Sabine Hock: Flettner, Anton im Frankfurter Personenlexikon
- Biografie (hubschraubermuseum.de)
- Frank Grotelüschen: „Drehmoment“ (www.mare.de)
- Flettner, Anton. Hessische Biografie. (Stand: 13. Juni 2025). In: Landesgeschichtliches Informationssystem Hessen (LAGIS).
Einzelnachweise
- ↑ Flettner-Villa soll wieder strahlen, Artikel der Frankfurter Rundschau vom 3. Februar 2019, abgerufen am 18. Dezember 2024.
- ↑ Frankfurter Personenlexikon: Flettner, Anton
- ↑ a b Findbuch des Archivs des Deutschen Museums: Flettner, Anton, abgerufen am 18. Dezember 2024.
- ↑ Frankfurter Personenlexikon: Flettner, Anton
- ↑ Patent CH172251A: Flugzeug mit umlaufenden Tragflügeln. Angemeldet am 29. Juli 1933, veröffentlicht am 30. September 1934, Erfinder: Anton Flettner.
- ↑ David A. Anderton: German Rotorcraft Pioneer Comes Back. In: Aviation Week 29. November 1954, S. 28
- ↑ E. Hirschel, H. Prem, G. Madelung: Luftfahrtforschung in Deutschland – Die deutsche Luftfahrt Bd. 30, 2001, S. 286
- ↑ Patent CH147730A: Durch Luftströmung angetriebene Vorrichtung zur Ventilation von geschlossenen Räumen oder zur Verbesserung bzw. Erhaltung eines Schornsteinzuges.. Angemeldet am 11. Dezember 1930, veröffentlicht am 30. Juni 1931, Erfinder: Sigurd J Savonius.
- ↑ Flettner Ventilator Limited, Unternehmens-Website. Abgerufen am 30. Dezember 2018.
- ↑ Historie. ( vom 19. März 2017 im Internet Archive) Auf AquaBion.de, abgerufen am 15. Mai 2023.
- ↑ Landesamt für Denkmalpflege Hessen (Hrsg.): Grab von Anton Flettner In: DenkXweb, Online-Ausgabe von Kulturdenkmäler in Hessen
- ↑ Landesamt für Denkmalpflege Hessen (Hrsg.): Flettner-Villa In: DenkXweb, Online-Ausgabe von Kulturdenkmäler in Hessen