Flächenregel

Die Flächenregel beschreibt den optimalen Verlauf der Querschnittsfläche eines sich in der Nähe oder oberhalb der Schallgeschwindigkeit bewegenden Flugkörpers entlang seiner Längsachse. Die Flächenregel gilt in ihrer ursprünglichen Form für den transsonischen Bereich (etwa von Mach 0,8 bis 1,2). Für höhere Geschwindigkeiten ist die Flächenregel in etwas abgewandelter Form gültig, da dann der Einfluss des Machschen Kegels berücksichtigt werden muss.




Als Idealform eines Flugkörpers, dessen Geschwindigkeit nahe an oder über der Schallgrenze liegt, gilt die Haacksche Ogive, ein langgestrecktes, spindelförmiges Gebilde. Bei Flugzeugen kommen indes zur Querschnittsfläche des Rumpfes notwendigerweise die der Tragflächen, der Triebwerke und des Leitwerks hinzu. Die Flächenregel besagt nun: Im Idealfall sollte die Gesamtquerschnittsfläche eines Flugkörpers (nicht seine Form!) an jeder Stelle der einer Haackschen Ogive entsprechen. Vereinfacht ausgedrückt, sollte also die Querschnittsfläche des Flugkörpers von vorn nach hinten kontinuierlich zu- und wieder abnehmen.
Wird die Flächenregel nicht beachtet, etwa indem der Flügelansatz den Flugzeugquerschnitt unvermittelt vergrößert, so wird dadurch bei höherer Geschwindigkeit eine zusätzliche Stoßwelle erzeugt, die den Luftwiderstand des Flugzeugs drastisch erhöht und unter Umständen das Erreichen der Überschallgeschwindigkeit verhindert. Um dies zu vermeiden, könnte man z. B. den Rumpf im Bereich der Tragflächen verschmälern. Dadurch wird das Entstehen einer zusätzlichen Stoßwelle unterbunden.
Historie
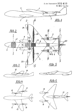
Die Regel wurde im Spätjahr 1943 von Otto Frenzl bei Windkanalversuchen bei Junkers im Zusammenhang mit der projektierten Entwicklung des Strahlbombers Junkers Ju 287 entdeckt. Spätestens seit einem Vortrag von Theodor Zobel im März 1944 mit dem Titel: „Grundsätzliche neue Wege zur Leistungssteigerung von Schnellflugzeugen“ vor der Deutschen Akademie für Luftfahrtforschung waren Frenzls Forschungsergebnisse in deutschen Aerodynamikerkreisen weithin bekannt. Frenzl erhielt auf seine Erkenntnisse, gemeinsam mit Heinrich Hertel und Werner Hempel, am 21. März 1944 ein vorläufig geheimgehaltenes Patent (Nr. 932 410)[1][2], das erst 1955 veröffentlicht wurde. Unabhängig von der Frenzlschen Arbeitsgruppe kam auch der Aerodynamiker Dietrich Küchemann zu ähnlichen Ergebnissen. Ein entsprechend tailliertes Design für einen der Flächenregel gemäß geformten Flugzeugrumpf wurde 1946 von Amerikanern entdeckt und im englischsprachigen Schrifttum anschaulich als „Küchemann’s Coke bottles“ (Küchemannsche Colaflaschen) bezeichnet.[3]
Die neuentdeckte Flächenregel wurde bei der Konstruktion der Ju 287 sofort (und somit insgesamt erstmalig) umgesetzt; es resultierte u. a. eine ungewöhnlich anmutende, weit voneinander entfernte Anordnung der vier bzw. sechs Triebwerke. Die Flächenregel wurde auch bei den weiteren deutschen Schnellflugzeugprojekten am Ende des Zweiten Weltkriegs berücksichtigt, wenngleich diese freilich nicht wesentlich über das Planungsstadium hinauskamen (z. B. Messerschmitt P.1112, Messerschmitt P.1106, Focke-Wulf Fw 239 und auch Henschel Hs 135).
Vermutlich ohne Kenntnis der deutschen Forschungen wurde die Flächenregel acht Jahre später, 1952, von Richard T. Whitcomb vom National Advisory Committee for Aeronautics (NACA) ein weiteres Mal entdeckt und 1955 veröffentlicht; daher ist die Regel im angelsächsischen Schrifttum auch als „Whitcomb-Rule“ bekannt, obwohl Whitcombs Priorität nicht einmal darin gesehen werden kann, dass er der erste Nicht-Deutsche war, dem der Zusammenhang klar wurde: Vor ihm hatte auch der Amerikaner Wallace D. Hayes in seiner Dissertation am California Institute of Technology (Caltech) 1947 das Prinzip beschrieben.
Anwendung
Mitte der 1950er Jahre wurde die Flächenregel erstmals in breiterem Umfang bei der Konstruktion von Kampfflugzeugen realisiert. In den USA war dies unter anderem die F-102, bei der die Regel indes nicht ab den ersten Prototypen, sondern erst nach einer Umkonstruktion nach dem Jahr 1954 befolgt wurde, während in der Schweiz die FFA P-16 als eines der ersten Flugzeuge, bei welchen die Regel von Beginn an Berücksichtigung fand, im Jahr 1955 erstmals abhob.[4]
In der Praxis weisen nach der Flächenregel konstruierte Flugzeuge oftmals, wie von Küchemann vorgeschlagen, eine Rumpfeinschnürung im Bereich der Flügel auf. Bei Flugzeugen mit langgestreckten Rümpfen wie der Concorde ist diese „Wespentaille“ kaum zu sehen, bei Überschallflugzeugen mit kurzem Rumpf ist sie hingegen meist deutlich erkennbar (wie bei der Convair F-106 oder der Je-152).
-
Prototyp einer Convair F-102 -
Convair F-102 im endgültigen Design mit eingeschnürtem Rumpf als Konsequenz aus der Berücksichtigung der Flächenregel -
Die F-106 Delta Dart, eine Weiterentwicklung der F-102 Delta Dagger, zeigt eine „Wespentaillen“-Formung aufgrund von Überlegungen zur Flächenregel
Literatur
- Werner Heinzerling: Flügelpfeilung und Flächenregel, zwei grundlegende deutsche Patente der Flugzeugaerodynamik. Deutsches Museum München (PDF; 9,86 MB).
- Supersonische Flächenregel nach Robert T. Jones. In: NACA Report 1284. (PDF; 540 kB, (englisch)).
- Werner Heinzerling: Die transsonische Querschnittsflächenregel, ein übergeordnetes aerodynamisches Entwurfsprinzip. In: Hans-Ulrich Meier (Hrsg.): Die Pfeilflügelentwicklung in Deutschland bis 1945. Bernard & Graefe Verlag, Bonn 2006, ISBN 3-7637-6130-6, S. 166–197.
Einzelnachweise
- ↑ Horst Lommel: Junkers Ju 287. Der erste Jet-Bomber der Welt und weitere Pfeilflügelprojekte. Aviatic, Oberhaching 2003, ISBN 3-925505-74-1, S. 24
- ↑ Patent DE932410: Widerstandsarme Gestaltung von Hochgeschwindigkeitsflugzeugen, auch von solchen mit außerhalb des Flugzeugumrisses liegenden Verdrängungskörpern. Veröffentlicht am 1. September 1955, Anmelder: Junkers Flugzeug- und Motorenwerke A.G., Dessau, Erfinder: Heinrich Hertel, Otto Frenzl, Werner Hempel (erteilt am 21. März 1944 als Geheimpatent).
- ↑ Walter Sierra: Beyond the Saga of Rocket Science: In Space to Stay. Xlibris Corp., 2019, ISBN 978-1-4990-9524-1, S. 256 (englisch).
- ↑ Georges Bridel: Schweizerische Strahlflugzeuge und Strahltriebwerke. Schweizerische Bauzeitung, Jahrgang 94, 1976, Heft 24, 24. Juni 1976, Seite 367