Blumentopf

Ein Blumentopf ist ein Behälter für die Aufnahme einer oder mehrerer Pflanzen in einem Kultursubstrat, meist einer Blumenerde.
Allgemeines

Blumentöpfe sind meist konusförmig mit einem kreisrunden Querschnitt, der zum Boden hin abnimmt. Seltener sind Blumentöpfe, deren Querschnitt einem Polygon entspricht oder die Zylinderform besitzen. Im Boden befinden sich meist Löcher, um den Abfluss von überschüssigem Wasser zu ermöglichen und Staunässe zu vermeiden. Die sich zum Boden hin verjüngende Form erleichtert die Entnahme der Pflanze(n) samt Wurzelballen etwa beim Umtopfen. Blumentöpfe gibt es mit Durchmessern von ca. 4 cm bis ca. 60 cm, noch größere Gefäße werden als Blumen- oder Pflanzkübel bezeichnet.
Material
Blumentöpfe werden traditionell aus Terrakotta gefertigt[1] (bekannt etwa der Westerwälder Blumentopf), größere Gefäße auch aus Holz. Im süddeutschen Sprachraum werden Blumentöpfe aus Terrakotta umgangssprachlich auch als Scherben bezeichnet.
Seit der Mitte des 20. Jahrhunderts werden Blumentöpfe (Pflanzencontainer) in großen Stückzahlen aus Kunststoffen hergestellt, anfangs häufig aus Polyvinylchlorid, heute meist aus Polystyrol oder Polypropylen. Sie sind leichter als Keramiktöpfe und verursachen somit geringere Transportkosten. Zudem können sie besser automatisch verarbeitet und in Topfmaschinen magaziniert werden, nicht zuletzt sind sie im Gegensatz zum Tontopf auch weitgehend unzerbrechlich. Daher werden Kunststofftöpfe von Pflanzenzuchtbetrieben bevorzugt, sodass die meisten im Handel angebotenen Pflanzen in Kunststofftöpfen gepflanzt sind. Die Zerbrechlichkeit kann allerdings ein Vorteil sein, wenn sich wertvolle oder empfindliche Pflanzen beim Umtopfen nicht lösen lassen – ein Keramiktopf kann dann notfalls zerschlagen werden.
Seltener sind Blumentöpfe aus Glas, Stein, Porzellan oder Metallen wie verzinktem Stahlblech oder Blech aus rostfreiem Stahl. Für Pflanzen mit chlorophyllführenden Wurzeln, wie einige Orchideenarten, werden Blumentöpfe aus durchsichtigem Kunststoff hergestellt, die meist als „Orchideentopf“ bezeichnet werden.
Blumentöpfe aus Metall können sich bei Sonneneinstrahlung stark erwärmen, was zu einer raschen Austrocknung des Kultursubstrats und zur Schädigung von Wurzeln an der Topfwand führen kann. Daher sind Blumentöpfe aus Metall nicht für die Aufstellung in direkter Sonne geeignet.
Sonderformen
Blumenkasten
Eine Sonderform des Blumentopfes ist der Blumenkasten oder Balkonkasten, der einen länglichen rechteckigen Querschnitt aufweist. Er wird häufig an der Außenseite von Fensterbrett, Balkon, Geländer oder Mauer angebracht. Es gibt auch Kästen mit integriertem Wasserreservoir oder solche mit wasserspeichernden Einlagen oder Granulat.[2]
Blumenampel
Eine weitere Sonderform sind Blumenampeln, die der Wuchsform überhängender Pflanzen (z. B. Zebra-Ampelkraut) entsprechend hängend verwendet werden. Große Popularität gewannen diese seit den ausgehenden 1960er Jahren mit dem Wiederaufleben der Makrameetechnik in den Vereinigten Staaten und bald darauf auch im deutschsprachigen Raum.
„Torftopf“
Zur Anzucht von Jungpflanzen werden auch sogenannte Torftöpfe aus Torf oder Holzfasern verwendet. Sie können später komplett in einen größeren Topf oder ein Beet gesetzt werden, da die Wurzeln das sich zersetzende Material leicht durchdringen können. Kleinere Torftöpfe sind auch in tablettenartiger Form gepresst erhältlich, die nach Begießen stark aufquellen. Torf soll im Gartenbau nicht mehr verwendet werden. Moore bilden mit ihrem Torfvorkommen wertvolle CO2-Speicher für den Klimaschutz.[3]
Untersetzer
Bei Blumentöpfen mit Löchern im Boden muss die Unterlage vor dem Austritt von Wasser und Substrat geschützt werden. Zu diesem Zweck werden optisch zum Blumentopf passende Untersetzer angeboten. Eine andere Methode besteht darin, den Blumentopf in einen Übertopf zu stellen, einem meist dekorativ gestalteten Ziertopf, der keine Öffnung im Boden besitzt. Dabei muss jedoch darauf geachtet werden, dass sich im Übertopf kein Wasser sammelt, da die meisten in Blumentöpfen kultivierten Pflanzen keine Staunässe vertragen. Wasser im Untersetzer oder im Übertopf muss daher zeitnah ausgegossen werden, was bei großen und schweren Pflanzen in Übertöpfen problematisch werden kann. Eine Alternative ist die Verwendung eines höheren Übertopfes, in den unten ein umgedrehter kleinerer Blumentopf, ein Stein o. Ä. gestellt werden kann, so dass sich das Wasser unterhalb des eigentlichen Pflanztopfes sammelt.
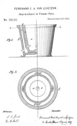
Levetzow-Topf

Eine alte Sonderform des Blumentopfs ist der 1870 vom Kieler Postdirektor Ferdinand von Levetzow erntwickelte Levetzowsche Patent-Kulturtopf,[4] ein doppelwandiger Tontopf, innen unglasiert, außen glasiert und bemalt. Der Zwischenraum dient als Wasserspeicher. Der Innentopf hat außen vier senkrechte, halbkreisförmige Verbindungsröhren für die Luftzirkulation, die vom unteren Außenrand des Bodens her belüftet werden. Der Innentopf hat zur Belüftung der Blumenerde, im Boden und zu den Verbindungsröhren hin, je eine Öffnung. Hergestellt wurden diese Blumentöpfe 1873 in der v. Levetzowschen Thonwarenfabrik[5] in Kiel. Eine ausführliche Beschreibung der Funktionsweise und eine Abbildung des Topfes finden sich in der Illustrierten Garten-Zeitung[6] von 1877.
Bilder
-

-
Blumenkästen und Blumenampeln an Hausfassaden -
Orchideentopf aus Polypropylen -

-
Übertopf -
Wappen der Gemeinde Kemel
-
Hippeastrum in Blumentopf und Übertopf
Siehe auch
Weblinks
Einzelnachweise
- ↑ Webseite Mein schöner Garten, abgerufen am 27. Oktober 2013.
- ↑ Blumenkästen mit Wasserspeicher, abgerufen am 27. Oktober 2013.
- ↑ Torffrei gärtnern ist Klimaschutz (BMLF)
- ↑ Neue hochwichtige Erfindung! von Levetzows Patent-Culturtopf, in: Allgemeine Zeitung, München 1877, S. 1295.
- ↑ Eduard Otto: Hamburger Garten-und Blumenzeitung. Eine Zeitschrift für die Garten und Blumenfreunde, Jahrgang 29, Verlag Robert Kittler, Hamburg 1873, S. 105–106.
- ↑ Illustrirte Garten-Zeitung, Band 21, Stuttgart 1877, S. 135–136.