Audion
![]() | |
| Gerät/Bauteil | |
| Klasse: | Geradeausempfänger |
| Erfindung: | 1. Hälfte 20. Jahrhundert |
| Technik | |
| Stromversorgung: | Betriebsstrom und bei Röhren zusätzlich Heizstrom |
| Aktive Bauelemente: | Minimal 1 Röhrentriode bzw. Transistor |
| Wiedergabe über: | Kopfhörer oder Lautsprecher |
| Frequenzband: | Je nach aufgesteckten bzw. eingebauten Antennenspulen Lang- /Mittel- und Kurzwelle (UKW bedingt möglich) |
Das Audion ist ein Rundfunk-Geradeausempfänger und oft ein Einkreiser. Lee De Forest, der Erfinder des Audions, bildete das Wort aus dem lateinischen Wort audio, ich höre. 1907 patentierte De Forest die Audionröhre und die Audionschaltung.[1] Ab 1909 wurde von De Forest das Audion RJ-4 verkauft.[2] Das Verstärkerbauteil in der Audionschaltung verstärkt die empfangene Hochfrequenz und wandelt diese in hörbare Niederfrequenz um (Demodulation). Beim Rückkopplungsaudion oder Regenerativ-Empfänger wird ein Teil der verstärkten Hochfrequenz erneut dem Eingang des Verstärkerbauteils zur weiteren Verstärkung zugeführt. Das Audion ist empfindlicher als der Detektorempfänger, aber weniger empfindlich als der Überlagerungsempfänger. In Deutschland waren ab 1926 das Audion OE333 und später das Rückkopplungsaudion RO433 von Loewe wegen ihres niedrigen Preises sehr erfolgreich.[3] Später verwendeten die Volksempfänger VE301 und DKE eine Audionschaltung mit ein bis drei Röhren. Nach dem Zweiten Weltkrieg wurde in der BRD der Heinzelmann und in der DDR der 1 U11 als Audion gebaut.
Einige Jahre nach dem Zweiten Weltkrieg stieg der Bedarf an leistungsfähigeren Radioempfängern für Mittel- und Ultrakurzwelle immer mehr, so dass dann überwiegend die leistungsstärkeren – aber aufwendigeren – Superhet- oder Überlagerungsempfänger gebaut wurden. Mit dem anschließenden Wechsel von Röhrenradios auf Transistorradios verschwand das Audion fast vollständig aus der industriellen Fertigung für leistungsfähige Rundfunkempfänger.
Definitionen

Der Begriff Audion wird in der Elektronik und elektronischen Schaltungstechnik in verschiedenen und teilweise überschneidenden Bedeutungen verwendet, welche im Folgenden dargestellt sind.
Bauelement
Der Begriff Audion geht auf die von Lee De Forest gewählte Bezeichnung für die von ihm erfundene Triode mit Gasfüllung zurück, die in einer Audionschaltung verwendet wird. Bei den ersten Audionröhren war die direkt geheizte Kathode – ein Wolfram-Heizfaden – in der Mitte, das Steuergitter links und die Anode rechts.[4] Die Anordnung Heizfaden, Steuergitter, Anode hintereinander erbrachte eine bessere Verstärkung.[1] Die Verstärkung wurde im double wing Audion weiter gesteigert. Hier wurde links und rechts vom Heizfaden je ein Steuergitter und dahinter je eine Anode angebracht. Die beiden Steuergitter waren miteinander verbunden, die beiden Anoden auch. Zuerst wurde unter Audionröhre nur die gasgefüllte Triode nach de Forest verstanden. Später wurde auch eine Hochvakuum-Elektronenröhre, welche in einer Audionschaltung eingesetzt wurde, Audionröhre genannt.
Elektronische Schaltung


Im De-Forest-Patent von 1907 wurde neben der Audionröhre die Audionschaltung vorgestellt, welche später Gitteraudion genannt wurde. Ohne Eingangssignal liegt der Gitter-Arbeitspunkt der Elektronenröhre zwischen Anlaufstromgebiet und Raumladungsgebiet bei ungefähr 0 V. Für die Hüllkurvendemodulation gibt es mehrere Ursachen. Einmal tritt Gitterstrom Ig nur bei positiver Gitterspannung Ug auf. Siehe die Elektronenröhrenkennlinie der RE064 rechts. Das Gitter ist für negative Gitterspannungen hochohmiger als für positive Gitterspannungen, zudem ist die Kennlinie Gitterspannung Ug zu Anodenstrom Ia gekrümmt. Die Audionstufe ist ein Hochfrequenzverstärker, welcher positive und negative Halbwellen unterschiedlich verstärkt.[5][6] Die verstärkte Hochfrequenz am Ausgang wird beim Rückkopplungs-Audion auf den Eingang zurückgekoppelt. Ein Tiefpass am Ausgang liefert eine Spannung, welche der Hüllkurve der Hochfrequenz entspricht.
Die rechts gezeigte Audionschaltung mit Triode arbeitet mit einer Gitterkombination. Die Gitterkombination erlaubt, dass am Gitter eine kleine negative Spannung entsteht, siehe Anlaufstromgesetz. Durch diese Gittervorspannung ergibt sich ein Gitter-Arbeitspunkt, der den Schwingkreis weniger belastet. Für große Eingangsspannungen hat die Gitterkombination eine weitere Wirkung. Die Röhrendiode zwischen Gitter TG und Kathode TK bildet zusammen mit Glättungskondensator C2 und Lastwiderstand R1 eine Gleichrichterschaltung. Aufgrund der Polung der Diode führt die rechte Seite des Kondensators eine negative Spannung gegenüber der linken Seite. Diese Spannung wird mit steigender HF-Eingangsspannung negativer und sorgt für eine Arbeitspunktverschiebung (gleitender Arbeitspunkt) durch die Spitzenwertgleichrichtung der Röhrendiode.
Die Gitterkombination ist für die Audionfunktion nicht zwingend nötig. Nach de Forest steigert die Gitterkombination die Empfindlichkeit.[1] Ob das zutrifft, hängt von der Kennlinie des Verstärkerbauteils und der restlichen Schaltung ab.
In der gezeigten Schaltung bilden Innenwiderstand Ri zwischen Anode TA und Kathode TK der Röhre und C3 einen Tiefpass für Niederfrequenz. Der Anodenwiderstand mit einer Impedanz von 4000 Ω ist in diesem Fall ein Kopfhörer, in der Abbildung mit „HOERER“ beschriftet, mit dem die infolge der Amplitudenmodulation hervorgerufenen Schwankungen des Anodenstroms hörbar werden.
Ein Niederfrequenz-Verstärker wird über Koppelkondensator an den Anodenwiderstand der Audionstufe angeschlossen. Diese RC-Kopplung ist bei einer Pentode als Audionröhre üblich. Bei einer Triode als Audionröhre wurde zuerst die Transformator-Kopplung benutzt. Der Übertrager hatte ein Spannungsübertragungsverhältnis von 1:4 und passte den niederohmigen Anodenkreis der Triode an den hochohmigen Gitterkreis der NF-Verstärkerröhre an. Der Übertrager war ein teures Bauteil mit eher schlechtem Frequenzgang, deshalb wurde später auch bei Trioden als Audionröhre die RC-Kopplung benutzt, auch wenn mit Trafo-Kopplung eine höhere Spannungsverstärkung erreicht werden konnte.
Hörfunkempfänger

Als Audion wird ein Empfangsgerät als Ganzes bezeichnet, in dem eine Audion-Stufe oder -Schaltung zur Anwendung kommt und diese oft zur Erzielung größerer Lautstärke durch einen HF-Verstärker vor der Audionstufe und einen NF-Verstärker danach ergänzt wird. Eine übliche Bezeichnung war 0-V-2. Das bedeutete null HF-Verstärkerstufen, Audionstufe und zwei NF-Verstärkerstufen.
Das rechts gezeigte Schaltbild des Loewe-OE333-Audion enthält drei Triodensysteme. Sie waren samt der Widerstände und Koppelkondensatoren C2, C3 und R1 bis R4 in einem gemeinsamen Glaskolben untergebracht (Mehrfachröhre 3NFB). Die linke Triode arbeitet als Audionstufe (Gitterdemodulation), die mittlere als NF-Vorverstärker und die rechte als NF-Endverstärker. Die 3NFB wurde auch im Rückkopplungsaudion RO433 eingebaut, wobei vor dem ersten Gitter eine RC-Gitterkombination eingesetzt wurde und ein angezapfter Eingangskreis zur phasenrichtigen Rückkopplung benutzt wurde[7]. Damit arbeitete die erste Triode als Audion (HF-Verstärkung, Demodulation und NF-Verstärkung).
Die Loewe-Röhre 3NF von 1926 kann als die erste „integrierte Schaltung“ aufgefasst werden. Die trickreiche Konstruktion beinhaltete wie auch heute alle „integrierbaren“ Bauteile. Da die Widerstände nicht hochvakuumtauglich waren, hatte man sie in Glas gekapselt.
Ausnahmen
Gelegentlich ist von einer Audion-Anordnung die Rede, obgleich es sich in Verbindung mit einer Verstärkerwirkung nicht um gleichzeitige Demodulation handelt: in anderen, mit Röhren arbeitenden Schaltungen findet man das Prinzip der Gittervorspannungserzeugung durch Gleichrichtung des Eingangssignals ebenfalls – vor allem bei verschiedenen Oszillatorschaltungen und in Sonderfällen auch bei Verstärkerstufen (insbesondere Senderstufen) erfolgt die Arbeitspunkteinstellung durch Gittergleichrichtung entsprechend der Audionstufe. Ob Demodulation oder nur Vorspannungserzeugung bzw. Arbeitspunkteinstellung vorliegt, hängt von der Zeitkonstante der Gitterkombination ab. Ist sie genügend klein, kann sie der Demodulation eines Niederfrequenzsignales dienen.
Umstrittene Definitionen
Die heute akzeptierte Definition von Audion ist Verstärkung und Demodulation in ein und demselben Verstärkerbauteil. Wird der Begriff Audion als Verstärkerstufe mit Rückkopplung verstanden, dann ist die de-Forest-Audionschaltung von 1907 kein Audion, weil sie ohne Rückkopplung arbeitet. Wird Audion als Verstärkerstufe verstanden, die mehrere Funktionen gleichzeitig ausführt, lässt sich das Audion nicht vom Reflexempfänger abgrenzen. Da die demodulierende Audionstufe prinzipiell sowohl die am Gitter demodulierte Niederfrequenz als auch die Hochfrequenz verstärkt, ist eine solche Kombination möglich (Rückkopplungsaudion).
Geschichte
siehe auch → Erfindung des Radios
Anfangszeit des Rundfunks

1907 patentierte de Forest das Audion (siehe Schaltung rechts).[1] Antenne und Erde werden an Spule I1 angeschlossen. Der Schwingkreis I2, C wird induktiv angekoppelt. Die Gitterkombination besteht nur aus dem Kondensator C'. Bei gasgefüllten Röhren macht der Ionenstrom zwischen Gitter und Kathode einen Gitterableitwiderstand unnötig.[8] In der Audionröhre D bezeichnet F die direkt geheizte Kathode, a das Steuergitter und b die Anode. Im Anodenkreis liegt der Kopfhörer T. Die Heizbatterie wird A bezeichnet, die Anodenbatterie B. Die Bezeichnungen A-Batterie und B-Batterie dürften auf diese Patentzeichnung zurückgehen.

Der RJ-4 von de Forest enthielt eine Audionstufe, aber keinen Schwingkreis, und wurde ab 1909 verkauft.[9] Der US-amerikanische Funkamateur Paul E. Wallace vertrieb ab 1911 den Wallace Valve Detector, den ersten Audion-Radioempfänger.[10]
1913 konnten Irving Langmuir und William C. White mit einer Vakuumpumpe nach Wolfgang Gaede die Hochvakuum-Triode Pliotron herstellen.[11] Die Audionschaltung für Hochvakuumröhren hatte einen zusätzlichen Gitterableitwiderstand und war sonst identisch zur Schaltung für die Audionröhre.
Das Rückkopplungsaudion ohne HF-Verstärker wird bei zu stark eingestellter Rückkopplung zum Sender. Das erzeugte Sendesignal stört benachbarte Empfänger. Um die Probleme zu begrenzen, benötigte man in Deutschland bis 1925 eine Audionversuchserlaubnis der Reichspost.
Die ersten Elektronenröhren hatten Heizfäden aus Wolfram. Die Verstärkung dieser frühen Röhren war bescheiden. Während des Ersten Weltkrieges entwickelten Western Electric und General Electric in den USA, Siemens&Halske und AEG in Deutschland, Marconi in England, sowie Grammont und Compagnie Générale des Lampes in Frankreich Hochvakuum-Trioden. Nach dem Krieg wurden diese Röhren und ihre Nachfolger in Audions für den Rundfunkempfang eingesetzt. Diese Radios wurden mit einem Bleiakkumulator für die Heizung und einer Trockenzellenbatterie für die Anodenspannung betrieben.
Ein Audion mit ein bis zwei Trioden lieferte genügend Lautstärke für einen Kopfhörer. Frühe Audions für Lautsprecherbetrieb hatten bis zu acht Trioden. Nach der Einführung der Pentode 1927 genügten zwei bis drei Röhren für ein Audion mit Lautsprecherbetrieb. Die Ausgangsleistung war bescheiden. Die Pentode RES164d hatte 0,5 W Sprechleistung mit 10 % Klirrfaktor bei 100 V Anodenspannung.
Es wurde eine Vielzahl von Rückkopplungsaudion-Schaltungen entwickelt. Der Superhet-Empfänger ist aber keine direkte Weiterentwicklung des Audions. Einer der ersten Superhets, der RCA Radiola Superheterodyne AR812 von 1924, enthielt eine Audionstufe zur Demodulation. Zu dieser Zeit gab es noch keine Verbundröhren mit Dioden- und Triodensystem. Später kamen beim Überlagerungsempfänger wieder überwiegend Röhrendioden als Demodulator zum Einsatz, so dass die Audionschaltung hier ihre Bedeutung verlor.
Bedeutung zur Zeit des 3. Reiches
Obwohl in den 1930er-Jahren der Stand der Empfängertechnik weiter fortgeschritten war, behielt das Audionprinzip weiterhin eine große Bedeutung, da es vor allem in den diversen Typen der Volksempfänger zu finden war. Ein Vorteil war, dass sich die Geräte zu diesem Zeitpunkt billig herstellen und daher zu einem kleinen Preis anbieten ließen, so dass ein immer größerer Teil der Bevölkerung am Rundfunkempfang teilnehmen konnte.
In diesem Sinne soll die im Vergleich zum Superhet schlechtere Empfangsleistung erwünscht gewesen sein, um den Empfang von Sendern aus anderen Ländern zumindest zu erschweren. Allerdings waren später produzierte Volksempfänger empfindlicher als ihre Vorgänger.[12] Diese Produktverbesserung widerspricht der obigen Mutmaßung.
Das Audion in der Nachkriegszeit
Nach dem Zweiten Weltkrieg behielt das Audion zunächst eine gewisse Bedeutung, vor allem infolge des Mangels. Nicht von den Siegermächten beschlagnahmte Rundfunkgeräte wurden vielerorts instand gesetzt und mehrere defekte Geräte zu einem funktionsfähigen zusammengefügt. Die Audionschaltung hatte dabei den Vorteil, dass sie leicht zu durchschauen war und kaum Spezialbauteile benötigt wurden.[13]
Bis in die Nachkriegszeit fand man das Rückkopplungsaudion mit fest eingestellter Rückkopplung in Zwerg- bzw. Kleinsuper genannten Radioempfängern als Zwischenfrequenzstufe zur Verstärkung und Demodulation.[14][15][16][17][18]
Der legendäre Radiobausatz „Heinzelmann“ des Max Grundig von 1947 war auch ein Audion und die Grundlage des wirtschaftlichen Erfolges der späteren Grundig AG.
Gegenwart

Das erste kommerzielle Transistorradio mit bipolaren Transistoren Regency TR-1 von 1954 benutzte bereits die Superhet-Schaltung. Auch später wurden nur wenige Transistorradios in Audion-Schaltung gebaut. Noch heute erhältlich sind jedoch der MFJ-8100K von MFJ Enterprises und der 1253 von Ten-Tec, die beide zum Empfang von Kurzwellen ausgelegt sind.[19][20] Beide Geräte werden als Bausatz geliefert, ersteres ist in der W-Version (wired), aber auch fertig aufgebaut lieferbar.
In Fachbüchern und Fachzeitschriften wurden etliche „Audion-Schaltungen“ mit Bipolar-Transistoren vorgestellt.[21][22] Die Demodulation erfolgt an der gekrümmten Kennlinie der Basis-Emitter-Diode des Transistors. In Einzelfällen wurden dabei in der Literatur auch Schaltungen als „Audion“ bezeichnet, bei denen eine separate Diode zur Amplitudendemodulation diente, wobei zwischen Diode und Verstärkerbauelement dann in der Regel eine Gleichstromkopplung vorlag.
Der Feldeffekttransistor ist als äquivalentes Bauteil zur Elektronenröhre anzusehen. Beide Bauteile sind spannungsgesteuerte (leistungslos gesteuerte) Verstärkerbauteile. Der bipolare Transistor benötigt dagegen eine Eingangsleistung. Das JFET-Gate ist für negative Eingangsspannungen sehr hochohmig (leistungslos), weil der PN-Übergang im JFET dann in Sperrrichtung betrieben wird. Für positive Eingangsspannungen wird das JFET-Gate niederohmig, weil der PN-Übergang in Durchlassrichtung arbeitet. Eine Audionstufe mit JFET unterscheidet sich kaum von einer Audionstufe mit indirekt geheizter Pentode.[23]
Neben verschiedenen Bausätzen – wie beispielsweise die schon genannten von MFJ und Ten-Tec – findet man in der Literatur und im Internet unzählige Anleitungen zum Bau transistorisierter Audion-Empfänger, so dass eine gewisse Bedeutung des Audions in der Hobbyelektronik erhalten geblieben ist.
Durch die Abschaltung von vielen leistungsstarken Rundfunksendern im Mittelwellenbereich können heute weniger Radiosender aus Europa als noch vor 25 Jahren auch mit Audionempfängern empfangen werden.
Wirkungsweise
Die Funktionen des Audion als Empfängerstufe oder -Schaltung sind:
- die Demodulation der durch die Antenne empfangenen amplitudenmodulierten Hochfrequenz im aktiven Bauelement, zum Beispiel an der gekrümmten Kennlinie der Steuerelektrode.
- eine NF-Verstärkung des demodulierten Signals.
- meist auch eine Hochfrequenz-Verstärkung der Empfangsfrequenz, wobei diesem Zweck eine üblicherweise von außen einstellbare Rückkopplung dient. Sie verbessert bei geeigneter Justierung infolge der damit einhergehenden Entdämpfung die wirksame Kreisgüte des zur Frequenzselektion dienenden, abstimmbaren Schwingkreises, so dass zugleich die Trennschärfe vergrößert wird.
Das Prinzip ist die Demodulation eines amplitudenmodulierten Signals mit einem Hüllkurvendetektor in Kombination mit einer Verstärkung. Der Zweck dieser Mehrfachnutzung einer Stufe kann die Einsparung (damals teurer) Verstärker-Bauelemente (Röhre, Transistor) sein, aber auch das Ziel eine einfache Schaltung zu erhalten, die sich für Demonstrationszwecke, Bauanleitungen und Bausätze besser eignet.
Gitteraudion
Nachdem weitere Schaltungen zur gleichzeitigen Demodulation und Verstärkung mittels Radioröhren ausgearbeitet wurden, verwendeten einige Autoren zur Unterscheidung die Begriffe Gittergleichrichtung (Gitteraudion), Anodengleichrichtung (Steilaudion) und Gleichrichtung infolge Stromverteilung (Bremsaudion).[24][25] Das Gitteraudion ist die oben beschriebene Audionschaltung. Für eine Grafik siehe Gittergleichrichtung.
Die Gitterkombination kann beim Gitteraudion in verschiedenen Bauformen ausgeführt werden. Bei indirekt geheizten Röhren war eine Parallelschaltung von C und R üblich. Bei direkt geheizten Röhren wurde der Widerstand zwischen Gitter und negatives oder positives Heizfadenende gelegt. Der Kondensator sollte zehnmal größer als die Eingangskapazität des Verstärkerbauteils sein.[26] Werte von 100 pF und 220 kΩ sind geeignet.
Das Gitteraudion ist für kleine Eingangsspannungen besser als der Anodengleichrichter geeignet. Die Gitterspannung ist höher als beim Anodengleichrichter, dadurch ist auch die Verstärkung höher. Bei größeren Eingangsspannungen und Anodenwiderstand tritt neben der Gittergleichrichtung die Anodengleichrichtung auf, welche das NF-Signal verzerrt. Deshalb funktioniert Gitteraudion mit Induktivität (Kopfhörer, Übertrager) an der Anode am besten.
Anodengleichrichter
Das Steilaudion oder der Richtverstärker werden unter Anodengleichrichtung behandelt. Im Vergleich zum Gitteraudion ist das Steilaudion schlechter für kleine Eingangsspannungen geeignet, weil unempfindlicher, aber besser für größere Eingangsspannungen geeignet, weil diese mit wenig Verzerrung demoduliert werden können. Die Audionstufe in einem Superhet nach der ZF-Verstärkung war meistens ein Anodengleichrichter. Wegen des Arbeitspunkts des Steilaudions ist der Rückkopplungseinsatz hart. Bei kleiner Änderung des Rückkopplungseinstellers wechselt das Audion abrupt zwischen Verstärkung und Oszillation. Das Steilaudion benötigt eine negative Gittervorspannung. Ein gleitender Arbeitspunkt und damit auch eine Gitterkombination ist beim Steilaudion nicht sinnvoll.
Bremsaudion
Nach Barkhausen liegt beim Bremsaudion das Eingangssignal an der Anode, und das Ausgangssignal wird am Gitter abgegriffen. Der Kathodenstrom Ik war mit typisch 0,5 mA klein, die Anodenspannung mit 3,5 V ebenfalls. Die Gitterspannung war hoch und der Heizstrom so niedrig, dass die Kathode den Sättigungsstrom liefert. Das gelingt am besten mit einer Wolframkathode. Die Demodulation erfolgt an der gekrümmten Kennlinie von Anodenstrom Ia zu Anodenspannung Ua. Siehe auch Barkhausen-Kurz-Schwingung und Dynatron für weitere Schaltungen mit Ua < ug.
Rückkopplungsaudion
Das Rückkopplungsaudion, der Regenerativ-Empfänger oder das Ultra-Audion war die Audionschaltung mit der größten Bedeutung. Neben den zwei Funktionen Verstärkung und Demodulation kam noch Mitkopplung (Rückkopplung) hinzu. Die Mitkopplung steigerte die Verstärkung der Audionstufe um den Faktor 10 bis 20 sowie die Trennschärfe durch Entdämpfen des Schwingkreises. Die Triode UX199 von 1925 hatte eine Spannungsverstärkung von lediglich 6,6. Zu einer Zeit, als ein typischer Rundfunkempfänger aus ein bis zwei Trioden bestand, war diese Verstärkungssteigerung daher hochwillkommen.
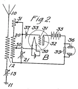
Die Rückkopplung wurde fast gleichzeitig von verschiedenen Personen patentiert. Der Oszillator von Alexander Meißner verwendete Rückkopplung und wurde im April 1913 patentiert.[28] Die Hochfrequenzverstärkung mit Rückkopplung und anschließender Demodulation wurde im Juli 1913 von Telefunken patentiert.[29] Im Oktober 1913 hatte Edwin Howard Armstrong seinen regenerative receiver angemeldet, welcher die Röhre auch für die Demodulation benutzt[30] Lee de Forest bezeichnete seine Schaltung als ultra audion. Nachdem alle diese Patente von den Patentämtern anerkannt waren, begann ein Rechtsstreit. Armstrong und de Forest stritten bis 1934. Am Ende wurde das Audion-Patent de Forest zugesprochen. Die Firma Western Electric meldete über den Mitarbeiter Burton W. Kendall in 1915 als US-Patent 1330471 mehrere Audion Schaltungen an[27]. Das rechts gezeigte Fig. 2-Audion benutzt die Hartley-Oszillatorschaltung und stellt die Rückkopplung mit einem Potentiometer ein.

Die rechts gezeigte Schaltung des Rückkopplungsaudions Loewe RO433 von 1928 benutzt die Rückkopplung nach Gustav Engelbert Leithäuser. Die Schwingkreisspule L2 hat eine zusätzliche Rückkopplungswicklung. Das Verstärkerbauteil hat zwischen Eingang und Ausgang eine Phasenumkehr (180°). Die Rückkopplungswicklung ist so angeschlossen, dass sich eine weitere Phasenverschiebung von 180° ergibt. Eine Phasenverschiebung von 360° ergibt eine Mitkopplung. Der Drehkondensator C5 wird als einstellbares Dämpfungsglied benutzt und kontrolliert die Stärke der Rückkopplung. Die korrekt eingestellte Rückkopplung kompensiert die Schwingkreisverluste (Entdämpfung). Wird die Rückkopplung jedoch zu stark eingestellt, arbeitet die Schaltung als Oszillator und sendet selbst Funkwellen aus, sodass der Empfang in der Nachbarschaft gestört werden kann.
Das Rückkopplungs-Audion wurde vom Überlagerungsempfänger verdrängt. Die Gründe waren die schwierige Bedienung des Audions (2-Knopf-Bedienung), die ungenaue Frequenzskala, die Abhängigkeit von der Antenne, die Verzerrungen (Klirrfaktor) bei starken Sendern, die fehlende Schwundautomatik, die relativ geringe Trennschärfe, der rückkopplungsabhängige NF-Frequenzgang sowie die Gefahr der unerwünschten und verbotenen Funkwellen-Ausstrahlung bei zu stark eingestellter Rückkopplung, die zum sogenannten Rückkopplungspfeifen führen. Genau eine solche Rückkopplung ermöglicht es jedoch, auch Morsecode und Einseitenband-Telefonie (SSB) zu empfangen.[31][32][33] Das „Rückkopplungspfeifen“ im Kopfhörer wird durch die Differenz der Audionschwingfrequenz und der Trägerfrequenz des zu empfangenden Senders hervorgerufen: wenn beide Frequenzen übereinstimmen, ist die Differenzfrequenz Null und es ist kein Pfeifton mehr zu hören. Das wurde vom Benutzer als Abstimmhilfe verwendet („Einpfeifen“), führte aber zu den bereits genannten Störungen für die Nachbarschaft.

Die Ausstrahlung infolge zu starker Rückkopplung kann durch Begrenzung der Rückkopplung, Entkopplung der Audionstufe von der Antenne durch Hochfrequenzvorverstärker und Abschirmung der Audionstufe verhindert werden. Die Frequenz der Eigenschwingung war bei einfachen Geräten ohne Hochfrequenz-Vorstufe oder bei Geräten ohne Abschirmung sehr von der Umgebung abhängig, so dass sich die Tonhöhe bereits bei Bewegung der Hand des Radiohörers zum Apparat hin veränderte. Dieser Effekt wird auch für eines der ersten elektronischen Musikinstrumente – das Theremin – ausgenutzt, bei dem anstelle der Senderfrequenz ein zweiter Oszillator zur Überlagerung führt.
Pendelaudion
Das Pendelaudion oder der Pendelempfänger werden unter Superregenerativempfänger behandelt. Der größte Vorteil des Pendelempfängers ist die Einknopfbedienung. Es gibt keinen Rückkopplungseinsteller. Der Arbeitspunkt des Rückkopplungsaudions im Pendelempfänger wechselt ständig. Damit wechselt auch die Empfangsfrequenz. Weil eine größere Empfangsbandbreite aufgenommen und in eine kleinere Niederfrequenzbandbreite umgesetzt wird, ist das Rauschen im Kopfhörer größer als bei einem Rückkopplungsaudion. Die höhere Empfindlichkeit des Superregenerativempfängers ist ein Vorteil gegenüber den anderen Audionschaltungen.
Transistoraudion
Das Transistoraudion verwendet Transistoren als Verstärkerbauteile. Ein Transistoraudion wurde zuerst mit Bipolartransistoren aufgebaut, nach dem Erscheinen der Feldeffekttransistoren auch mit diesen. Mit Transistoren wurden Audionschaltungen ohne Rückkopplung und mit Rückkopplung sowie Pendelempfänger aufgebaut. Bei Bipolartransistoren ergibt sich die Demodulation durch die Krümmung der Basis-Emitter-Diodenkennlinie, ähnlich wie bei einem Steilaudion.[34] Der JFET verhält sich fast wie eine indirekt geheizte Pentode. Negative Halbwellen bringen den PN-Übergang in Sperrrichtung, positive Halbwellen bringen den PN-Übergang in Durchlassrichtung. Nach dem Funkamateur Charles Kitchen funktionieren Transistoraudions mit JFET besser als solche mit Bipolartransistoren.[35] Heute werden von Funkamateuren und Hobbyelektronikern neben Audions auch Superhetempfänger oder Software-Defined-Radio-Empfänger gebaut, weil die nötigen Bauteile, wie Integrierte Schaltungen und Quarzfilter, kostengünstig verfügbar sind.

Das rechts gezeigte Audion mit Bipolartransistor benutzt die Meißner-Schaltung für die Rückkopplung und empfängt Mittelwelle. Der Schwingkreis besteht aus L1 und C1. L2, die Rückkopplungsspule, ist induktiv mit L1 gekoppelt. C2 und R1 bilden zusammen mit der Diode D1 und der internen Basis-nach-Emitter-Diode von Transistor Q1 die Gitterkombination, welche die Demodulation durchführt. Aufgrund von D1 beginnt die Basis-nach-Emitter-Diode des Transistors erst bei höherer Spannung an R1 Strom zu leiten. Dies ergibt einen weichen Einsatz der Oszillatorschwingung. Die Verstärkung von Q1 und damit die Rückkopplung wird über das Potentiometer R2 eingestellt. C3 ist für die Hochfrequenz ein Kurzschluss. Der Kopfhörer ist hochohmig.

Das Rückkopplungsaudion mit JFET arbeitet in der von F. H. Schnell vorgestellten Schaltung. Der Schwingkreis besteht aus L1A, L1B und C1. Die Antenne wird über C2 angekoppelt. Die Spulen L1A und L1B bilden einen Spartrafo. Durch den niederohmigen Anschluss der Antenne wirkt sich die Antennenkapazität weniger stark auf den Schwingkreis aus, als wenn die Antenne hochohmig an C1 angeschlossen würde. Die Gitterkombination besteht aus R2 und C4. Die Rückkopplung erfolgt vom Drain des FET über den Kondensator C3 auf die Rückkopplungsspule L1C. Der einstellbare Widerstand R1 bestimmt die Stärke der Rückkopplung. Bei der Schnell-Schaltung liegen die Bauteile zur Einstellung von Frequenz und zur Rückkopplung mit je einem Anschluss an Masse. Das reduziert die Empfindlichkeit gegen Handkapazität. Die HF-Drossel L2 verhindert, dass die Hochfrequenz am Drain über R3 oder C7 kurzgeschlossen wird. R3 ist der Arbeitswiderstand, an dem über C7 die Niederfrequenz ausgekoppelt wird. R4 sorgt für eine kleine positive Spannung am Source beziehungsweise für eine negative Gate-Vorspannung ähnlich der automatischen Gittervorspannungserzeugung oder Arbeitspunkteinstellung bei Elektronenröhren. C5 und C6 dienen der Abblockung beziehungsweise verhindern eine Stromgegenkopplung von R4.
Reflexaudion

Das Verstärkerbauteil im Rückkopplungsaudion ist so geschaltet, dass sich ein negativer differentieller Widerstand oder eine fallende Kennlinie ergibt. Beim Reflexempfänger werden unterschiedliche Signale (HF und NF) im gleichen Verstärkerbauteil verstärkt.[36] Am Eingang werden die Signale überlagert, am Ausgang wieder getrennt. Für die Demodulation wird ein eigenes Bauteil (Diode) verwendet. Bei einem linearen Verstärker beeinflussen sich die überlagerten Signale nicht gegenseitig. Audion bedeutet neben Verstärkung auch Demodulation im gleichen Bauteil, und Demodulation benötigt eine gekrümmte Kennlinie.
Das rechts gezeigte „Reflexaudion“ zeigt einen Reflexempfänger mit Rückkopplung.[37] Dabei bedeutet Audion hier Schwingkreis-Entdämpfung. Die Verwendung des Begriffes Reflexaudion wird kontrovers diskutiert. Es gibt Hinweise, dass mit dieser Bezeichnung ursprünglich Röhren-Schaltungen gemeint waren, die auf Langwelle und Mittelwelle in Reflexschaltung arbeiteten, auf Kurzwelle in Audionschaltung.
Literatur
- H. Barkhausen: Elektronen-Röhren 4. Band. Gleichrichter und Empfänger. 6. Auflage. S.Hirzel, Leipzig 1951.
- Friedrich Benz: Einführung in die Funktechnik. 3. Auflage. Springer Verlag, Wien 1944.
- Rolf Wigand: Richtig rundfunkbasteln, Teil 1. Einfache Empfänger vom Detektor zum Rückkopplungs-Audion. 5. Auflage. Hachmeister & Thal, Leipzig 1942.
- Funktechnik Jahressammelmappe 1948: Schaltungsbeschreibungen, Marktübersicht.
Weblinks
Quellen
- ↑ a b c d e Patent US879532A: Space Telegraphy. Angemeldet am 29. Januar 1907, veröffentlicht am 18. Februar 1908, Anmelder: De Forest Radio Telephone Co, Erfinder: Lee De Forest.
- ↑ RJ-4-Empfänger, Sammlung Roger DeForest
- ↑ OE333-Empfänger, Sammlung H.-T. Schmidt
- ↑ Patent US841387A: Device for Amplifying Feeble Electrical Currents. Angemeldet am 25. Oktober 1906, veröffentlicht am 15. Januar 1907, Erfinder: Lee De Forest (Fig. 2).
- ↑ Wolfgang Holtmann, Die Geradeaus-Empfänger, Abschnitt 4. Die Funktion des Audions
- ↑ Helmut Schweitzer, Funkschau, Heft 22/1988, Audion - Kleinsuperhet, Abschnitt Physikalische Grundlagen
- ↑ https://www.radiomuseum.org/tubes/tube_3nfb.html Wolfgang Holtmann: Beschreibung der 3NFB in Radiomuseum.org
- ↑ Patent US841387A: Device for Amplifying Feeble Electrical Currents. Angemeldet am 25. Oktober 1906, veröffentlicht am 15. Januar 1907, Erfinder: Lee De Forest (Zeile 23ff: „an evacuated vessel inclosing a sensitive conducting gaseous medium“).
- ↑ Roger Deforest Internetseite Link
- ↑ Anzeige für Wallace Valve Detector, Modern Electronics. November 1912, S. 843.
- ↑ Pliotron, Sammlung Udo Radtke
- ↑ Rainer Steinführ, „Zumindest nachts war oft Europa-Empfang möglich“. Link
- ↑ Otto Kappelmeyer: Geradeausempfänger Reparatur-Praktikum. Jacob Schneider Verlag, Berlin-Tempelhof 1947.
- ↑ Helmut Schweitzer: Funkschau. Heft 22/1988, Audion – Kleinsuperhet
- ↑ Werner W. Diefenbach: Standardschaltungen der Rundfunktechnik. 1942.
- ↑ Karl Schultheiss: Der Kurzwellenamateur. Franckh’sche Verlagsbuchhandlung W. Keller & Co., Stuttgart 1955.
- ↑ Heinz Richter: Transistor-Praxis. Franckh’sche Verlagsbuchhandlung, 1959, S. 129.
- ↑ Hans-Joachim Fischer: Amateurfunk – ein Handbuch für den Kurzwellenamateur. Franckh’sche Verlagsbuchhandlung W. Keller & Co., Stuttgart 1962.
- ↑ MFJ Enterprises MFJ-8100W Produktseite (englisch) Link ( des vom 7. August 2009 im Internet Archive) Info: Der Archivlink wurde automatisch eingesetzt und noch nicht geprüft. Bitte prüfe Original- und Archivlink gemäß Anleitung und entferne dann diesen Hinweis.
- ↑ Ten-Tec 1253 Produktseite (englisch) Link ( des vom 10. Mai 2012 im Internet Archive) Info: Der Archivlink wurde automatisch eingesetzt und noch nicht geprüft. Bitte prüfe Original- und Archivlink gemäß Anleitung und entferne dann diesen Hinweis.
- ↑ Heinz Richter: Neues Bastelbuch für Radio + Elektronik. Franckh’sche Verlagshandlung, Stuttgart 1957.
- ↑ Karl-Heinz Schubert: Amateurfunk. Militärverlag der Deutschen Demokratischen Republik, Berlin, 5. Auflage 1978.
- ↑ Siegfried Wirsum: „Radiobasteln mit Feldeffekttransistoren“. Radio RIM. München, 1973. Seite 7ff.
- ↑ H. Barkhausen: Elektronen-Röhren. 4. Band. Gleichrichter und Empfänger. S. Hirzel Verlag, 1937, S. 97 ff.
- ↑ I. Gold: Radio-Praktikum. Verlag Hallweg Berlin, 3. Auflage 1948, S. 162/163.
- ↑ H. Barkhausen: Elektronen-Röhren. 4. Band. Gleichrichter und Empfänger. S. Hirzel Verlag, 1937, S. 181, Formel (149).
- ↑ a b Patent US1330471A: High-Frequency Signalling. Angemeldet am 29. November 1915, veröffentlicht am 10. Februar 1920, Anmelder: Western Electric Company, Erfinder: Burton W. Kendall.
- ↑ Patent DE291604C: Einrichtung zur Erzeugung elektrischer Schwingungen. Angemeldet am 10. April 1913, veröffentlicht am 23. Juni 1919, Anmelder: Gesellschaft für drahtlose Telegraphie m.b.H..
- ↑ Patent DE290256C: Empfangseinrichtung für drahtlose Telegraphie. Angemeldet am 16. Juli 1913, veröffentlicht am 17. Juni 1919, Anmelder: Gesellschaft für drahtlose Telegraphie m.b.H..
- ↑ Patent US1113149A: Wireless receiving system. Angemeldet am 29. Oktober 1913, veröffentlicht am 6. Oktober 1914, Erfinder: Edwin H. Armstrong (Seite 1, Zeile 58: „transfer of energy from the wing circuit to the grid circuit, thereby reinforcing the high frequency oscillations in the grid circuit“).
- ↑ Johannes Wiesent: Drahtlose Telegraphie. Verlag von Ferdinand Enke, 1919, S. 28 Der Schwebungsempfang
- ↑ Kirk A. Kleinschmidt: ARRL Handbook. American Radio Relay League, 1990, ISBN 0-87259-167-0, S. 12–7.
- ↑ H.J Hicks: Principles and Practice of Radio Servicing. McGraw-Hill Book Company, 1943, Second Edition, S. 176.
- ↑ Heinz Richter: Neues Bastelbuch für Radio und Elektronik. Franckh’sche Verlagsbuchhandlung, Stuttgart 1957, Seiten 23, 24 und 25.
- ↑ Charles Kitchin: N1TEV. Regenerative Receivers Past and Present. Communications Quarterly, Fall 1995, „Bipolar detectors ... the devices I've built never seem to work as well as any of my JFET designs“
- ↑ Reflex-Empfänger von Wolfgang Holtmann
- ↑ Schaltung nach: Hagen Jakubaschk: Radiobasteln – leicht gemacht. Kinderbuchverlag der DDR, 1964, Seite 318, Abb. 200 (Vom Autor wird diese Schaltung auf der Seite 319 als Reflexaudion und als Einkreiser bezeichnet)
