Atmosphärendruckplasma


Als Atmosphärendruckplasma (auch AD-Plasma oder Normaldruckplasma) bezeichnet man den Sonderfall eines Plasmas, bei welchem der Druck ungefähr dem der umgebenden Atmosphäre – dem sogenannten Normaldruck – entspricht.
Dieser Artikel behandelt im Wesentlichen die Plasmaerzeugung durch Düse und Gasentladung bei geringer Stromdichte. Zu weiteren Formen der Plasmaerzeugung in Normalatmosphäre siehe auch:
Technische Bedeutung
Atmosphärendruckplasmen benötigen im Gegensatz zum Niederdruckplasma oder Hochdruckplasma kein Reaktionsgefäß, das für die Aufrechterhaltung eines zum Atmosphärendruck unterschiedlichen Druckniveaus oder abweichender Gasatmosphären sorgt. Solche Plasmen werden bei geringen Stromdichten zum Aktivieren von Oberflächen oder auch zum Ionisieren und zur Ozon-Erzeugung eingesetzt. Die Erzeugung von Stickstoffoxiden hat hingegen ihre Bedeutung verloren und ist eher unerwünscht. Beim ebenfalls ohne Gefäß arbeitenden Plasmaschneider wird mit deutlich erhöhtem Druck und höheren Stromdichten gearbeitet.
Ebenso wichtig ist das Plasmaspritzen (thermisches Beschichtungsverfahren). Hierfür werden DC-Arc-Plasmen bei Atmosphärendruck verwendet.[1]
Das Spleißen von Lichtwellenleitern arbeitet ebenfalls bei Atmosphärendruck in Normalatmosphäre, erfordert jedoch keine Düse, sondern es brennt eine Gasentladung geringer Stromdichte zwischen den im Vergleich zum Lichtbogenschweißen kalten Elektroden.
Erzeugung des Plasmas
Man unterscheidet verschiedene Anregungsarten:
- AC- (Wechselstrom-)Anregung
- niederfrequente Wechselströme
- Anregung mit Wechselströmen im Radiowellen-Bereich
- Mikrowellenanregung
- DC- (Gleichstrom-)Anregung
Eine erwähnenswerte industrielle Bedeutung haben aber nur Atmosphärendruckplasmen erlangt, die durch AC-Anregung erzeugt werden (Koronaentladung und Plasmadüsen). Im folgenden Abschnitt wird näher auf die Plasmadüse eingegangen. Eine weitere wichtige Ausbildung der Plasmaquelle ist die dielektrisch behinderte Entladung (DBE), welche zur Erzeugung von Ozon oder zur Behandlung von Kunststoffen eingesetzt wird. Weitere Plasmaerzeuger finden sich in Tendero u. a., siehe Literatur.
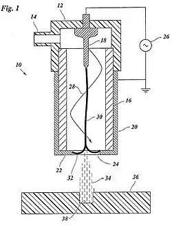
Funktionsprinzip einer Plasmadüse

In der Plasmadüse wird mittels Hochspannungsentladung (5 – 15 kV, 10 – 100 kHz) ein gepulster Lichtbogen erzeugt. Ein Prozessgas strömt an dieser Entladungsstrecke vorbei, wird dabei angeregt und in den Plasmazustand überführt. Für gewöhnlich wird ölfreie Druckluft als Prozessgas eingesetzt. Das Plasma gelangt anschließend durch einen Düsenkopf auf die Oberfläche des zu behandelnden Materials. Der Düsenkopf liegt auf Massepotential und hält so potentialführende Teile des Plasmastromes weitgehend zurück. Zusätzlich bestimmt er die Geometrie des austretenden Strahls.
Funktionsprinzip eines Mikrowellenplasmajets
Ein Mikrowellenjet benötigt Halbleiterverstärker, die bis zu 500 Watt Hochfrequenz (HF)-Leistung abgeben, um ein Plasma zu betreiben. Die meisten Lösungen arbeiten bei 2,45 GHz. Eine 2010 eingeführte Technologie ermöglicht die Zündung und einen hocheffizienten Betrieb mit demselben elektronischen und Koppelnetzwerk. Diese Art von Atmosphärendruckplasmen ist anders, da nur die Elektronen beschleunigt werden. Das Plasma befindet sich nur oberhalb der Elektrode. Das ist der Grund, warum die Konstruktion eines Kanülenstrahls möglich war.
Anwendungen
Industrielle Anwendung findet die Plasmadüse unter anderem zur Aktivierung und Reinigung von Kunststoff- und Metalloberflächen vor Klebe-, Druck- und Lackierprozessen. Auch Bahnware mit Behandlungsbreiten von mehreren Metern lässt sich durch Aneinanderreihung vieler Düsen behandeln. Die durch die Plasmadüse erzielte Modifikation der Oberfläche kann dabei durchaus mit den im Niederdruckplasma erzielten Effekten verglichen werden.[2]
Der Plasmastrahl kann, abhängig von der Leistung der Düse, bis zu 40 mm lang sein und eine Behandlungsbreite von 15 mm erzielen. Spezielle Rotationssysteme ermöglichen eine Behandlungsbreite pro Düsentool von bis zu 13 cm.
Die Plasmaquelle wird je nach erforderlicher Behandlungsleistung im Abstand von 10 – 40 mm mit einer Geschwindigkeit von 5 – 400 m/min relativ zur Oberfläche des zu behandelnden Materials bewegt.
Ein wesentlicher Vorteil dieser Systeme liegt in der so genannten Inlinefähigkeit, das heißt, ein Einbau in bestehende Produktionsanlagen ist meist problemlos möglich. Die Kosten sind hingegen vergleichsweise gering.
Zudem ist die erzielbare Aktivierung deutlich höher als bei potentialbehafteten Vorbehandlungsmethoden (Koronaentladung).
Mit diesen oder ähnlichen Systemen können auch unterschiedlichste Oberflächen beschichtet werden. So können Korrosionsschutzschichten und Haftvermittlerschichten auf diverse Metalle lösungsmittelfrei und somit sehr umweltfreundlich aufgetragen werden.
Einzelnachweise
- ↑ gordonengland.co.uk: Plasma Spray – Thermal Spray Coating Process
- ↑ M. Noeske, J. Degenhardt, S. Strudthoff, U. Lommatzsch: Plasma Jet Treatment of five Polymers at atmospheric Pressure: Surface Modifications and the Relevance for Adhesion. In: International Journal of Adhesion and Adhesives. 24 (2), 2004, S. 171–177.
Literatur
- C. Tendero, C. Tixier, P. Tristant, J. Desmaison, P. Leprince: Atmospheric pressure plasmas: A review. In: Spectrochimica Acta. Part B: Atomic Spectroscopy. 2005.
- R. Kovacs, N. Bibinov, P. Awakowicz, H.-E. Porteanu, S. Kühn, R. Gesche: An Integrated Atmospheric Microwave Plasma Source. In: Plasma Processes and Polymers. No. 6, 2009.
- Heuermann, Holger; et al. (June 2012). Various applications and background of 10-200W 2.45GHz microplasmas. 60th International Microwave Symposium. Bibcode:2012imsd.conf59386H. doi:10.1109/MWSYM.2012.6259386